TOP
|
特許
|
意匠
|
商標
特許ウォッチ
Twitter
他の特許を見る
公開番号
2025149166
公報種別
公開特許公報(A)
公開日
2025-10-08
出願番号
2024049643
出願日
2024-03-26
発明の名称
緩衝器
出願人
カヤバ株式会社
代理人
個人
主分類
F16F
9/58 20060101AFI20251001BHJP(機械要素または単位;機械または装置の効果的機能を生じ維持するための一般的手段)
要約
【課題】最伸長しても変形や疲労を抑制できる緩衝器を提供する。
【解決手段】緩衝器Dは、シリンダ1と、シリンダ1内に移動自在に挿入されるピストンロッド2と、シリンダ1内に挿入されてシリンダ1内を伸側室R1と圧側室R2とに区画するピストン3とを有して縦置きにして使用される緩衝器Dであって、シリンダ1の軸方向でシリンダ1に対して不動なストッパSと、ピストンロッド2に設けられてストッパSとシリンダ1の軸方向で対向するとともにストッパSに当接するとシリンダ1に対するピストン3の伸長方向への移動を規制する規制部材20とを備えて構成されている。
【選択図】図2
特許請求の範囲
【請求項1】
シリンダと、前記シリンダ内に移動自在に挿入されるピストンロッドと、前記シリンダ内に挿入されて前記シリンダ内を伸側室と圧側室とに区画するピストンとを有する緩衝器であって、
前記シリンダの軸方向で前記シリンダに対して不動なストッパと、
前記ピストンロッドに設けられて前記ストッパと前記シリンダの軸方向で対向するとともに、前記ストッパに当接すると前記シリンダに対する前記ピストンの伸長方向への移動を規制する規制部材とを備えた
ことを特徴とする緩衝器。
続きを表示(約 1,000 文字)
【請求項2】
前記規制部材は、前記シリンダに対して前記ピストンが通常ストローク範囲を超えて伸長方向へ移動すると前記ストッパに当接する
ことを特徴とする請求項1に記載の緩衝器。
【請求項3】
前記規制部材は、環状であって前記ピストンロッドの外周に装着されており、
前記ストッパは、環状であって、前記伸側室に面する端部側の前記ピストンロッドの軸周りに前記規制部材の挿入を許容する環状凹部を有して、前記シリンダの伸側室側端を閉塞するとともに前記ピストンロッドを軸支する環状の蓋部材に設けられており、
前記規制部材が前記ストッパにおける前記環状凹部の内周面或いは頂部に当接すると前記シリンダに対する前記ピストンの伸長方向への移動が規制される
ことを特徴とする請求項1に記載の緩衝器。
【請求項4】
前記規制部材は、前記ピストンロッドの外周に周方向に沿って設けられた環状溝に嵌合する断面円形のCリングであって、
前記ストッパにおける前記環状凹部の直径は、前記Cリングの断面の直径の2倍の長さと前記ピストンロッドの外径の直径とを加算した値よりも小さく、
前記頂部は、前記Cリングに面接触する湾曲面を有する
ことを特徴とする請求項3に記載の緩衝器。
【請求項5】
前記シリンダを覆って前記シリンダとの間に環状であって液体を貯留するリザーバを形成する外筒と、
前記蓋部材に設けられて前記環状凹部を通じて前記伸側室と前記リザーバとを連通する減衰通路と、
前記減衰通路に設けられて前記伸側室から前記リザーバへ向かう液体の流れのみを許容するとともに液体の流れに抵抗を与える減衰バルブと、
前記リザーバと前記圧側室とを連通するとともに前記リザーバから前記圧側室へ向かう液体の流れのみを許容する吸込通路と、
前記圧側室と前記伸側室とを連通するとともに前記圧側室から前記伸側室へ向かう液体の流れのみを許容する整流通路とを備えた
ことを特徴とする請求項3に記載の緩衝器。
【請求項6】
前記規制部材の前記環状凹部内への侵入により前記環状凹部内に形成される圧力室と、
前記圧力室と前記伸側室と連通するとともに前記圧力室から前記伸側室に流れる流体の流れに抵抗を与える制限流路とを備えた
ことを特徴とする請求項3に記載の緩衝器。
発明の詳細な説明
【技術分野】
【0001】
本発明は、緩衝器に関する。
続きを表示(約 1,400 文字)
【背景技術】
【0002】
緩衝器は、たとえば、シリンダと、シリンダ内に移動自在に挿入されるピストンロッドと、シリンダ内に摺動自在に挿入されるとともにピストンロッドに連結されるピストンと、ピストンでシリンダ内に区画されるとともに作動油が充填される伸側室と圧側室と、シリンダの外周を覆ってシリンダとの間に作動油を貯留するリザーバを形成する外筒とを備えており、制振対象の振動を抑制するために使用される(たとえば、特許文献1参照)。
【0003】
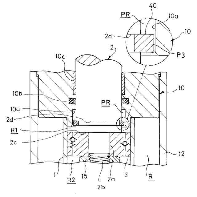
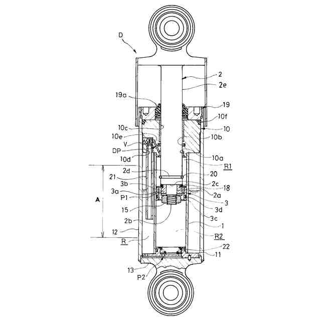
このような緩衝器は、振動を抑制する必要がある対象に連結されて使用されており、鉄道車両における台車と車輪との間に軸ばねと並列に縦置きにして介装されて使用される場合がある。また、緩衝器は、シリンダの端部に固定されて内周にピストンロッドが挿通される環状の蓋部材を備えており、蓋部材によってピストンロッドが支持されることにより、円滑に伸縮できる。
【先行技術文献】
【特許文献】
【0004】
特開2015-224780号公報
【発明の概要】
【発明が解決しようとする課題】
【0005】
緩衝器は、振動を抑制するために軸ばねと並列して使用されることが多く、鉄道車両の台車と車輪との間に介装される場合、メンテナンスのために台車から鉄道車両の車体を取り外すと、車体を弾性支持していた軸ばねが伸長して、緩衝器が伸び切って最伸長してしまい、ピストンやピストンに組付けられたバルブが蓋部材に衝突してしまう。
【0006】
このように蓋部材がピストンに衝突するとピストンに荷重がかかってピストンやバルブといった部品が変形したり、ピストンをピストンロッドに連結するナットとピストンロッドの螺子部との間に大きな荷重が作用してピストンロッドが疲労することなどが考えられる。
【0007】
そこで、本発明は、最伸長しても変形や疲労を抑制できる緩衝器の提供を目的としている。
【課題を解決するための手段】
【0008】
前記した課題を解決するために、本発明の緩衝器は、シリンダと、シリンダ内に移動自在に挿入されるピストンロッドと、シリンダ内に挿入されてシリンダ内を伸側室と圧側室とに区画するピストンとを有する緩衝器であって、シリンダの軸方向でシリンダに対して不動なストッパと、ピストンロッドに設けられてストッパとシリンダの軸方向で対向するとともに、ストッパに当接するとシリンダに対するピストンの伸長方向への移動を規制する規制部材とを備えている。
【0009】
このように構成された緩衝器によれば、最伸長するとピストンロッドに装着された規制部材がシリンダに対して不動のストッパに当接して伸長を規制するので、規制部材とストッパとで伸長方向の荷重を受け、ピストンやピストンロッドの螺子結合部分に大きな荷重が作用するのが防止される。
【0010】
また、緩衝器における規制部材は、シリンダに対してピストンが通常ストローク範囲を超えて伸長方向へ移動するとストッパに当接してもよい。このように構成された緩衝器によれば、通常ストローク範囲でピストンがシリンダに対してストロークする場合には、規制部材がストッパに干渉しないので、鉄道車両の台車と車輪との間に介装されて使用される場合、規制部材とストッパとの衝突によって鉄道車両における乗心地を悪化させることもない。
(【0011】以降は省略されています)
この特許をJ-PlatPat(特許庁公式サイト)で参照する
関連特許
カヤバ株式会社
緩衝器
1日前
カヤバ株式会社
緩衝器
1日前
カヤバ株式会社
減圧弁
8日前
カヤバ株式会社
電動ポンプ
2か月前
カヤバ株式会社
摩擦試験機
10日前
カヤバ株式会社
電動ポンプ
6日前
カヤバ株式会社
冗長システム
1か月前
カヤバ株式会社
高所作業装置
6日前
カヤバ株式会社
流体圧制御装置
22日前
カヤバ株式会社
チェックバルブ
10日前
カヤバ株式会社
筒部材及び緩衝器
1日前
カヤバ株式会社
筒部材及び緩衝器
1日前
カヤバ株式会社
筒部材及び緩衝器
1日前
カヤバ株式会社
ポンプの取付構造
2日前
カヤバ株式会社
回転機の製造方法
6日前
カヤバ株式会社
筒型リニアモータ
1日前
カヤバ株式会社
反力アクチュエータ
1か月前
カヤバ株式会社
バルブおよび緩衝器
10日前
カヤバ株式会社
バルブおよび緩衝器
10日前
カヤバ株式会社
ステアバイワイヤ装置
2か月前
カヤバ株式会社
アクチュエータユニット
20日前
カヤバ株式会社
ブッシュ及び液圧回転機
6日前
カヤバ株式会社
ステアバイワイヤユニット
6日前
カヤバ株式会社
ミキサ車及び状態検出装置
今日
カヤバ株式会社
ソレノイドバルブおよび緩衝器
1日前
カヤバ株式会社
ソレノイドバルブおよび緩衝器
1日前
カヤバ株式会社
モータ制御装置、及びプログラム
7日前
カヤバ株式会社
インレットブロック及びバルブ装置
20日前
個人
鍋虫ねじ
1か月前
個人
回転伝達機構
2か月前
個人
紛体用仕切弁
1か月前
個人
ホース保持具
5か月前
個人
差動歯車用歯形
3か月前
個人
トーションバー
6か月前
個人
給排気装置
2日前
個人
ジョイント
20日前
続きを見る
他の特許を見る