TOP
|
特許
|
意匠
|
商標
特許ウォッチ
Twitter
他の特許を見る
10個以上の画像は省略されています。
公開番号
2025136127
公報種別
公開特許公報(A)
公開日
2025-09-19
出願番号
2024034343
出願日
2024-03-06
発明の名称
車両のルーフ構造
出願人
スズキ株式会社
代理人
弁理士法人東京国際特許事務所
主分類
B62D
25/06 20060101AFI20250911BHJP(鉄道以外の路面車両)
要約
【課題】接着剤の使用量の安易な増大によることなく、ルーフの張り剛性を確保する。
【解決手段】
車両のルーフ構造は、ルーフパネル11と、ルーフメンバ12と、ルーフパネル11とルーフメンバ12とを接合する発砲シーラ31と、を備える。発砲シーラ31は、ルーフパネル11をその展伸方向Dl、Dwに対して垂直な方向からみた状態で、ルーフパネル11とルーフメンバ12との間で、ルーフメンバ12の所定部位(中央部P1)を囲むように設けられ、ルーフパネル11とルーフメンバ12との間でこの中央部P1の臨む空間(密閉空間)Sが、発砲シーラ31により全周に亘って封止される。
【選択図】図3
特許請求の範囲
【請求項1】
車両のルーフの外殻を形成するルーフパネルと、
前記ルーフパネルを車内側から支持するルーフメンバと、
前記ルーフパネルと前記ルーフメンバとを接合する発砲シーラと、を備え、
前記発砲シーラは、前記ルーフパネルをその展伸方向に対して垂直な方向からみた状態で、前記ルーフパネルと前記ルーフメンバとの間において、前記ルーフメンバの所定部位を囲むように設けられ、
前記ルーフパネルと前記ルーフメンバとの間で前記所定部位の臨む空間が、前記発砲シーラにより全周に亘って封止されている、車両のルーフ構造。
続きを表示(約 1,300 文字)
【請求項2】
前記空間は、前記ルーフパネル、前記ルーフメンバおよび前記発砲シーラにより、前記空間の外部に対して密閉されている、請求項1に記載の車両のルーフ構造。
【請求項3】
前記車両のルーフの外殻を形成するルーフパネルと、
前記ルーフパネルを車内側から支持するルーフメンバと、
前記ルーフパネルと前記ルーフメンバとを接合する発砲シーラと、を備え、
前記発砲シーラは、前記ルーフパネルをその展伸方向に対して垂直な方向からみた状態で、前記ルーフパネルと前記ルーフメンバとの間において、前記ルーフメンバの所定部位を囲むように設けられ、
前記ルーフパネルに対して前記ルーフメンバに近付ける方向に付加される荷重に対し、前記ルーフパネル、前記ルーフメンバおよび前記発砲シーラにより包囲される空間に、空気の圧縮を生じさせる、車両のルーフ構造。
【請求項4】
前記ルーフメンバは、前記車両の車幅方向に長く形成され、
前記発砲シーラは、前記ルーフメンバの前記車幅方向に並ぶ複数の前記所定部位のそれぞれを個別に囲むように設けられている、請求項1から3のいずれか一項に記載の車両のルーフ構造。
【請求項5】
前記ルーフメンバは、前記車両の車幅方向に長く形成され、
前記発泡シーラは、前記車幅方向における前記ルーフメンバの全体に亘って連続して設けられている、請求項1から3のいずれか一項に記載の車両のルーフ構造。
【請求項6】
前記ルーフメンバは、前記ルーフパネルから離れる方向に窪む溝部を有し、
前記発砲シーラは、前記ルーフパネルと前記ルーフメンバとの間で、少なくともその一部が前記溝部に配置され、
前記ルーフパネルは、前記溝部に対向する表面上にパネル側電着塗膜を有し、
前記ルーフメンバは、前記溝部の内面上にメンバ側電着塗膜を有し、
前記溝部に配置された前記発砲シーラは、前記ルーフパネルと前記ルーフメンバとを、前記パネル側電着塗膜および前記メンバ側電着塗膜を介して接合する、請求項1から3のいずれか一項に記載の車両のルーフ構造。
【請求項7】
前記ルーフメンバは、前記ルーフパネルから離れる方向に窪む溝部を有し、
前記溝部は、前記所定部位に対して前記車両の車長方向の各側に設けられ、前記車両の車幅方向に延びる一対の第1溝部と、前記所定部位に対して前記車幅方向の各側に設けられ、前記一対の第1溝部を前記車長方向に繋ぐ第2溝部と、を含み、
前記発砲シーラは、前記ルーフパネルと前記ルーフメンバとの間で、前記第1溝部と前記第2溝部とのそれぞれに配置されて、前記所定部位を全周に亘って包囲し、
前記ルーフパネルは、前記第1および第2溝部のそれぞれに対向する表面上にパネル側電着塗膜を有し、
前記ルーフメンバは、前記第1および第2溝部のそれぞれの内面上にメンバ側電着塗膜を有し、
前記溝部に配置された前記発砲シーラは、前記ルーフパネルと前記ルーフメンバとを、前記パネル側電着塗膜および前記メンバ側電着塗膜を介して接合する、請求項1から3のいずれか一項に記載の車両のルーフ構造。
発明の詳細な説明
【技術分野】
【0001】
本発明は、車両のルーフ構造に関する。
続きを表示(約 1,800 文字)
【背景技術】
【0002】
ルーフパネルとルーフメンバとを接着剤により接合することで、ルーフの剛性確保を図る車両のルーフ構造が存在する。接着剤には、マスチックシーラと呼ばれる熱硬化性の弾性接着剤が用いられる。マスチックシーラは、ルーフパネルとルーフメンバとの間で、点状または線状に塗布されるのが一般的である。
【先行技術文献】
【特許文献】
【0003】
実開昭63-054590号公報
【発明の概要】
【発明が解決しようとする課題】
【0004】
車両のルーフの剛性、具体的には、張り剛性は、マスチックシーラの弾性に依存する。よって、ルーフの張り剛性は、マスチックシーラを塗布する部分およびその近傍については容易に確保可能である。
【0005】
他方で、マスチックシーラの塗布部以外の部分については張り剛性が低下する。べかつきに対する耐性等、ルーフの質感を確保するうえで、マスチックシーラの配置に多くの検討時間を割くことが必要となる場合がある。
【0006】
これに対し、マスチックシーラを塗布する箇所を増やしたり、一箇所当たりのマスチックシーラの塗布量を増やしたりする対策が考えられるが、このような対策による場合は、タクトタイムの延長を招くだけでなく、ルーフの重量にも少なからず影響が及ぶという弊害がある。
【0007】
このような実状に鑑み、本発明は、接着剤の使用量の安易な増大によることなく、ルーフの張り剛性を確保しまたは張り剛性の向上を図ることのできる車両のルーフ構造を提供することを目的とする。
【課題を解決するための手段】
【0008】
前記の課題を解決するため、本発明の一実施形態に係る車両のルーフ構造は、車両のルーフの外殻を形成するルーフパネルと、前記ルーフパネルを車内側から支持するルーフメンバと、前記ルーフパネルと前記ルーフメンバとを接合する発砲シーラと、を備える。本形態に係る車両のルーフ構造において、前記発砲シーラは、前記ルーフパネルをその展伸方向に対して垂直な方向からみた状態で、前記ルーフパネルと前記ルーフメンバとの間において、前記ルーフメンバの所定部位を囲むように設けられ、前記ルーフパネルと前記ルーフメンバとの間で前記所定部位の臨む空間が、前記発砲シーラにより全周に亘って封止される。
【発明の効果】
【0009】
本発明によれば、ルーフに対し、ルーフパネルをルーフメンバに押し付ける力、換言すれば、ルーフパネルを押し下げる力が作用した場合に、所定部位の臨む空間に存在する空気に圧縮が生じ、押圧力に対する反発力が生じる。これにより、発泡シーラの塗布部以外の部分についても空気の反発力により剛性向上の効果を得ることを可能として、接着剤ないし発泡シーラの使用量の抑制を図りながら、ルーフの広い範囲に亘って高い張り剛性を確保することが可能となる。
【図面の簡単な説明】
【0010】
本発明の第1実施形態に係る車両のルーフを、上方からみた状態で示す平面図である。
同上ルーフを、ルーフパネルを取り外した状態で示す平面図である。
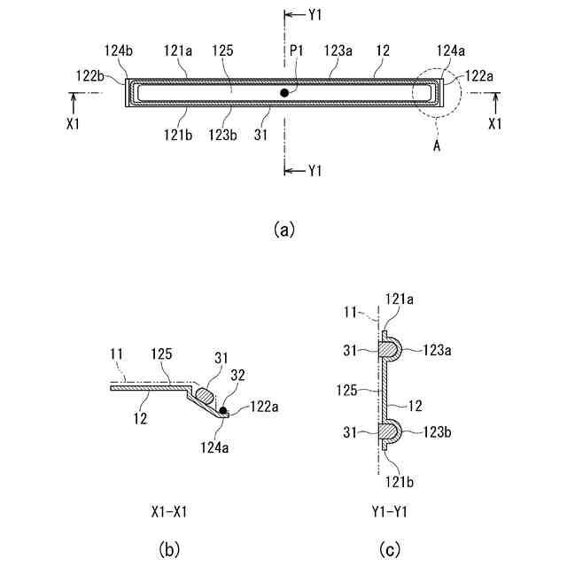
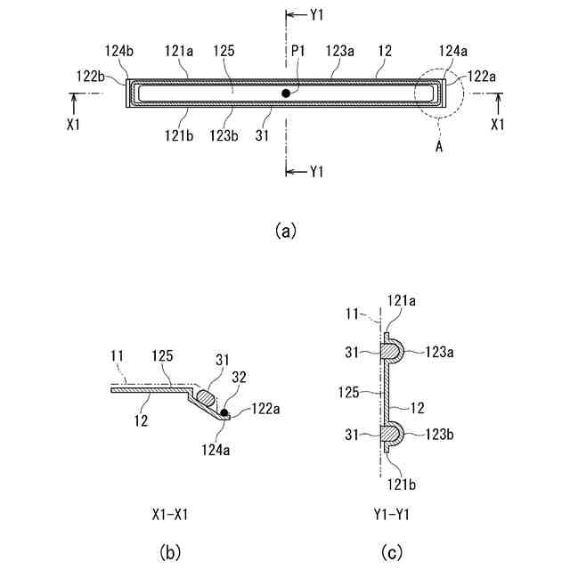
ルーフメンバの構成を示す(a)平面図、(b)X1-X1線による断面図および(c)Y1-Y1線による断面図である。
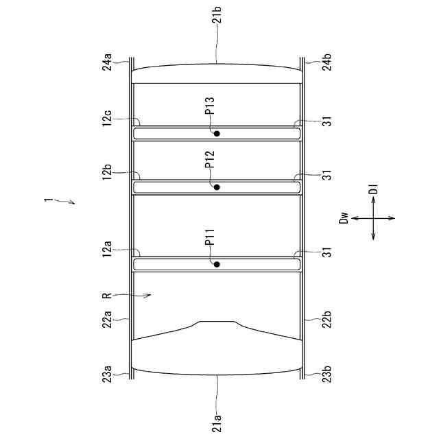
発泡シーラにより形成される密閉空間を示す断面図である。
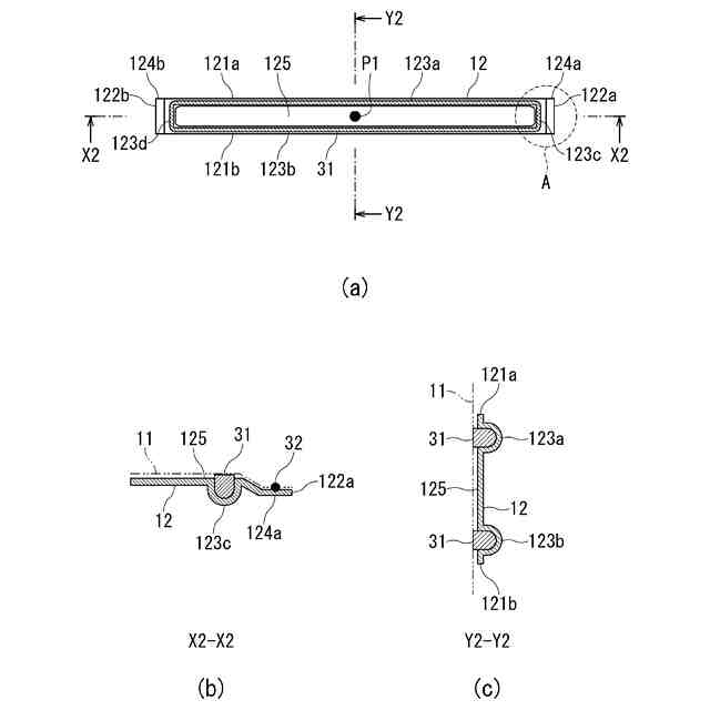
本発明の第2実施形態に係るルーフメンバの構成を示す(a)平面図、(b)X2-X2線による断面図および(c)Y2-Y2線による断面図である。
本発明の第3実施形態に係るルーフメンバにおける発泡シーラの配置パターンを示す平面図である。
ルーフの製造方法の基本的な流れを示すフローチャートである。
塗膜形成工程および焼き付け乾燥工程における発泡前シーラの状態の変化を示す説明図である。
比較例に係るルーフの製造方法の問題点を示す説明図である。
ルーフの張り剛性に関する試験の実施条件を、他の比較例との対比のもとに示す説明図である。
【発明を実施するための形態】
(【0011】以降は省略されています)
この特許をJ-PlatPat(特許庁公式サイト)で参照する
関連特許
個人
カート
2か月前
個人
走行装置
3か月前
個人
電動走行車両
3か月前
個人
乗り物
4か月前
個人
発音装置
6か月前
個人
閂式ハンドル錠
3か月前
個人
折り畳み自転車
10か月前
個人
電動モビリティ
7か月前
個人
駐輪設備
28日前
個人
自転車用傘捕捉具
11か月前
個人
ボギー・フレーム
1か月前
個人
ルーフ付きトライク
2か月前
個人
ルーフ付きトライク
1か月前
個人
自由方向乗車自転車
7か月前
個人
体重掛けリフト台車
10か月前
個人
“zen-go.”
2か月前
個人
アタッチメント
11か月前
個人
パワーアシスト自転車
1か月前
個人
自転車用荷物台
10か月前
個人
キャンピングトライク
8か月前
個人
ステアリングの操向部材
8か月前
株式会社CPM
駐輪機
11か月前
個人
フロントフットブレーキ。
3か月前
株式会社三五
リアサブフレーム
10か月前
株式会社豊田自動織機
産業車両
4か月前
個人
ホイールハブ駆動構造
3か月前
個人
乗用自動車のディフューザー
7日前
学校法人千葉工業大学
車両
9か月前
学校法人千葉工業大学
車両
9か月前
豊田合成株式会社
操舵装置
11か月前
ヤマハ発動機株式会社
車両
11か月前
ヤマハ発動機株式会社
車両
11か月前
ヤマハ発動機株式会社
車両
11か月前
ヤマハ発動機株式会社
車両
11か月前
学校法人千葉工業大学
車両
9か月前
豊田鉄工株式会社
小型車両
2か月前
続きを見る
他の特許を見る