TOP
|
特許
|
意匠
|
商標
特許ウォッチ
Twitter
他の特許を見る
公開番号
2025136282
公報種別
公開特許公報(A)
公開日
2025-09-19
出願番号
2024034663
出願日
2024-03-07
発明の名称
支持装置及び印刷装置
出願人
セイコーエプソン株式会社
代理人
個人
,
個人
,
個人
主分類
B41J
11/06 20060101AFI20250911BHJP(印刷;線画機;タイプライター;スタンプ)
要約
【課題】支持面の最適な位置に反りや浮きを抑制しつつフィルムを載置する。
【解決手段】フィルムMA及びMBを支持面4aで支持する支持部4と、支持面4aの一部に設けられる静電気発生個所41A及び41Bに、静電気を発生させる静電気発生部41と、支持面4aに設けられ、フィルムMA及びMBを載置する載置位置の少なくとも一部を示す位置決め基準部41と、を備え、位置決め基準部41は、フィルムMA及びMBの一部と静電気発生個所41A及び41Bとが支持方向において重なるようにフィルムMA及びMBの所定形状に合わせて配置される支持装置2。
【選択図】図4
特許請求の範囲
【請求項1】
フィルムを支持面で支持する支持部と、
前記支持面の一部に設けられる静電気発生個所に、静電気を発生させる静電気発生部と、
前記支持面に設けられ、所定形状の前記フィルムを載置する載置位置の少なくとも一部を示す位置決め基準部と、
を備え、
前記位置決め基準部は、前記フィルムの一部と前記静電気発生個所とが前記支持面による前記フィルムの支持方向において重なるように前記所定形状に合わせて配置されることを特徴とする支持装置。
続きを表示(約 900 文字)
【請求項2】
請求項1に記載の支持装置において、
前記位置決め基準部は、前記支持面において視覚的に区別可能に示されていることを特徴とする支持装置。
【請求項3】
請求項2に記載の支持装置において、
前記位置決め基準部は、前記支持面において周囲と異なる色で示されていることを特徴とする支持装置。
【請求項4】
請求項2に記載の支持装置において、
前記位置決め基準部は、前記支持面において周囲と異なる表面形状で示されていることを特徴とする支持装置。
【請求項5】
請求項1に記載の支持装置において、
前記位置決め基準部は、前記支持方向において前記静電気発生部と重なる位置に配置されることを特徴とする支持装置。
【請求項6】
請求項1に記載の支持装置において、
前記位置決め基準部は、前記支持方向において前記フィルムの載置箇所と重ならない位置に配置され、前記支持方向と交差する方向に前記フィルムを当接可能な、凸状の段差を有することを特徴とする支持装置。
【請求項7】
請求項6に記載の支持装置において、
前記凸状の段差は、前記フィルムの厚さ以下の段差であることを特徴とする支持装置。
【請求項8】
請求項1に記載の支持装置において、
前記フィルムは、矩形であり、
前記位置決め基準部は、前記フィルムの角が重ねられる位置に対応することを特徴とする支持装置。
【請求項9】
請求項1に記載の支持装置において、
前記フィルムは、矩形であり、
前記位置決め基準部は、前記フィルムの辺が沿わされる位置に対応することを特徴とする支持装置。
【請求項10】
請求項1に記載の支持装置において、
前記支持部は、異なる大きさの前記フィルムを支持可能であり、
前記位置決め基準部は、異なる大きさの前記フィルムに対応して配置されることを特徴とする支持装置。
(【請求項11】以降は省略されています)
発明の詳細な説明
【技術分野】
【0001】
本発明は、支持装置及び印刷装置に関する。
続きを表示(約 2,200 文字)
【背景技術】
【0002】
従来から、様々な構成の印刷装置が使用されている。このような印刷装置のうち、媒体を支持面で支持する支持部を備え、支持部に支持された媒体に印刷可能な印刷装置がある。例えば、特許文献1には、トレイの支持面に媒体を載置してトレイに支持された媒体に印刷可能な印刷装置が開示されており、トレイに摩擦部材を配置させることで支持面に対して媒体が移動しないようにすることが記載されている。
【先行技術文献】
【特許文献】
【0003】
特開2018-138361号公報
【発明の概要】
【発明が解決しようとする課題】
【0004】
しかしながら、媒体として例えばフィルムなどを使用すると、支持面に摩擦部材を配置させる構成であっても、フィルムが支持面に対して反りや浮きを生じてしまう場合がある。このため、例えばフィルムなど、反って浮いたりし易いシート状の媒体に対しては、水で媒体の裏面を濡らしたり、シリコン製などのマットを支持面の全面に敷いたり、接着テープで媒体を支持面に貼り付けて固定したり、媒体を押さえておく部材等が必要であった。ただし、このような方法では、水などが装置内に侵入する虞が発生することや、媒体の支持面への位置合わせ及び媒体の支持面からの取り外しがしにくくなることや、支持面から印刷部までの間隔が大きくなり印刷品質が低下すること、などが生じ得る。また、このような課題とは別に、支持面におけるシート状の媒体を載置する位置がわかりにくいという課題があり、シート状の媒体を載置する位置の目安が必要になる場合があった。
【課題を解決するための手段】
【0005】
上記課題を解決するための本発明の支持装置は、フィルムを支持面で支持する支持部と、前記支持面の一部に設けられる静電気発生個所に、静電気を発生させる静電気発生部と、前記支持面に設けられ、所定形状の前記フィルムを載置する載置位置の少なくとも一部を示す位置決め基準部と、を備え、前記位置決め基準部は、前記フィルムの一部と前記静電気発生個所とが前記支持面による前記フィルムの支持方向において重なるように前記所定形状に合わせて配置されることを特徴とする。
【0006】
また、上記課題を解決するための本発明の印刷装置は、フィルムを支持面で支持する支持部と、前記支持面で支持された前記フィルムに印刷を行う印刷部と、前記支持面の一部に設けられる静電気発生個所に、静電気を発生させる静電気発生部と、前記支持面に設けられ、所定形状の前記フィルムを載置する載置位置の少なくとも一部を示す位置決め基準部と、を備え、前記位置決め基準部は、前記フィルムの一部と前記静電気発生個所とが前記支持面による前記フィルムの支持方向において重なるように前記所定形状に合わせて配置されることを特徴とする。
【図面の簡単な説明】
【0007】
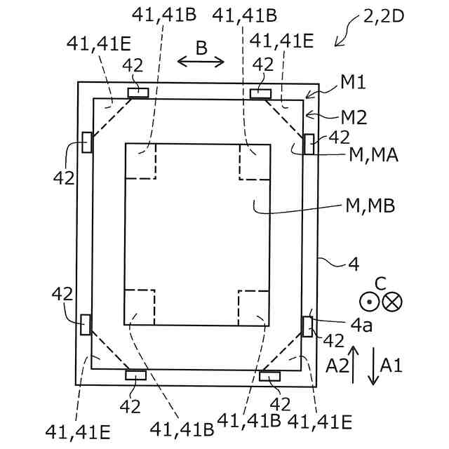
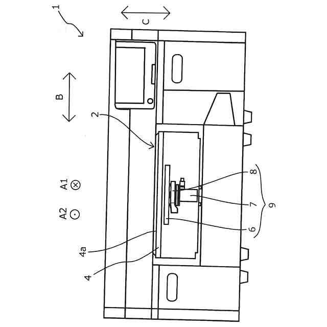
本発明の実施例1の印刷装置を表す概略斜視図。
図1の印刷装置の概略正面図。
図1の印刷装置における支持装置の支持部を表す概略平面図。
図3の支持部に2種類の大きさのフィルムを配置させた状態を表す概略平面図。
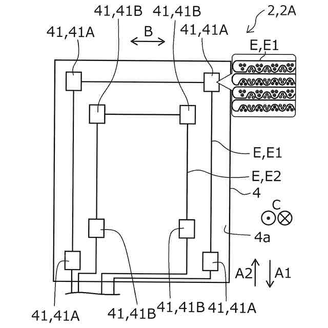
本発明の実施例2の印刷装置における支持装置の支持部に2種類の大きさのフィルムを配置させた状態を表す概略平面図。
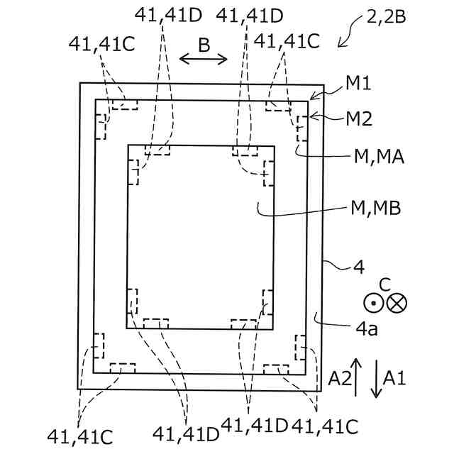
本発明の実施例3の印刷装置における支持装置の支持部に2種類の大きさのフィルムを配置させた状態を表す概略平面図。
本発明の実施例4の印刷装置における支持装置の支持部に2種類の大きさのフィルムを配置させた状態を表す概略平面図。
参考例の印刷装置における支持装置の支持部にフィルムを配置させた状態を表す概略平面図。
【発明を実施するための形態】
【0008】
最初に本発明について概略的に説明する。
上記課題を解決するための本発明の第1の態様の支持装置は、フィルムを支持面で支持する支持部と、前記支持面の一部に設けられる静電気発生個所に、静電気を発生させる静電気発生部と、前記支持面に設けられ、所定形状の前記フィルムを載置する載置位置の少なくとも一部を示す位置決め基準部と、を備え、前記位置決め基準部は、前記フィルムの一部と前記静電気発生個所とが前記支持面による前記フィルムの支持方向において重なるように前記所定形状に合わせて配置されることを特徴とする。
【0009】
本態様によれば、静電気発生個所に静電気を発生させる静電気発生部と、載置位置の少なくとも一部を示す位置決め基準部と、を備え、フィルムの所定形状に合わせてフィルムの一部と静電気発生個所とが支持方向において重なるように位置決め基準部が配置される。このような構成とすることで、位置決め基準部により支持面の最適な位置にフィルムを載置することができるとともに、静電気を発生させてフィルムを支持面に吸着することでフィルムの反りや浮きを抑制することができる。
【0010】
本発明の第2の態様の支持装置は、前記第1の態様に従属する態様であって、前記位置決め基準部は、前記支持面において視覚的に区別可能に示されていることを特徴とする。
(【0011】以降は省略されています)
この特許をJ-PlatPat(特許庁公式サイト)で参照する
関連特許
個人
箔熱転写装置
24日前
シヤチハタ株式会社
印判
4か月前
東レ株式会社
凸版印刷版原版
9か月前
三菱製紙株式会社
感熱記録材料
10か月前
シヤチハタ株式会社
反転式印判
8か月前
三光株式会社
感熱記録材料
6か月前
独立行政法人 国立印刷局
印刷物
6か月前
キヤノン株式会社
記録装置
17日前
株式会社リコー
液体吐出装置
3か月前
株式会社リコー
液体吐出装置
4か月前
株式会社リコー
液体吐出装置
8か月前
株式会社リコー
液体吐出装置
7か月前
株式会社リコー
画像形成装置
1日前
株式会社リコー
液体吐出装置
4か月前
株式会社リコー
液体吐出装置
1か月前
株式会社リコー
画像形成装置
5日前
フジコピアン株式会社
熱転写シート
11か月前
独立行政法人 国立印刷局
貼付装置
1か月前
株式会社リコー
液体吐出装置
5か月前
独立行政法人 国立印刷局
貼付機構
1か月前
独立行政法人 国立印刷局
記録媒体
8か月前
日本製紙株式会社
感熱記録体
7か月前
株式会社リコー
液体吐出装置
7か月前
株式会社リコー
画像形成装置
24日前
株式会社リコー
印刷システム
5日前
キヤノン株式会社
画像形成装置
3か月前
独立行政法人 国立印刷局
潜像印刷物
1か月前
キヤノン株式会社
画像形成装置
8か月前
キヤノン株式会社
画像形成装置
4か月前
フジコピアン株式会社
熱転写記録媒体
11か月前
キヤノン株式会社
画像形成装置
10か月前
フジコピアン株式会社
中間転写シート
9か月前
キヤノン株式会社
情報処理装置
8か月前
キヤノン株式会社
画像形成装置
5か月前
キヤノン株式会社
画像形成装置
8か月前
キヤノン株式会社
印刷制御装置
9か月前
続きを見る
他の特許を見る