TOP
|
特許
|
意匠
|
商標
特許ウォッチ
Twitter
他の特許を見る
公開番号
2025145652
公報種別
公開特許公報(A)
公開日
2025-10-03
出願番号
2024045945
出願日
2024-03-22
発明の名称
画像形成装置
出願人
株式会社リコー
代理人
個人
主分類
B41J
11/70 20060101AFI20250926BHJP(印刷;線画機;タイプライター;スタンプ)
要約
【課題】画像形成装置の排出位置から排出される記録シート部分をカッターで切断する場合において、記録シートの種類や後処理装置の種類が変わっても、カッターによる適切な切断を可能にする。
【解決手段】画像を形成した記録シート30を排出位置1bから排出する画像形成部と、シート幅方向へカッター50を移動させることにより記録シートを切断する切断部5と、を有する画像形成装置であって、切断部は、排出位置から垂れ下がる記録シート部分の下面側を支持する下面支持部材52と、下面支持部材に支持された記録シート部分に沿ってカッターをシート幅方向へ移動させるカッター移動機構と、を備え、下面支持部材の水平方向位置が変化するように切断部を移動させる移動部60を有する。
【選択図】図10
特許請求の範囲
【請求項1】
画像を形成した記録シートを排出位置から排出する画像形成部と、
シート幅方向へカッターを移動させることにより前記記録シートを切断する切断部と、を有する画像形成装置であって、
前記切断部は、前記排出位置から垂れ下がる記録シート部分の下面側を支持する下面支持部材と、前記下面支持部材に支持された該記録シート部分に沿って前記カッターをシート幅方向へ移動させるカッター移動機構と、を備え、
前記下面支持部材の水平方向位置が変化するように前記切断部を移動させる移動部を有することを特徴とする画像形成装置。
続きを表示(約 430 文字)
【請求項2】
請求項1に記載の画像形成装置において、
前記移動部は、シート幅方向に延びる回転軸回りで前記切断部を回転自在に支持する回転支持部材と、
前記回転軸回りにおける複数の回転位置のうちの一の回転位置で前記切断部を固定する回転固定部材とを備えることを特徴とする画像形成装置。
【請求項3】
請求項1又は2に記載の画像形成装置において、
前記排出位置と前記切断部との間のシート搬送方向距離が変わるように、該切断部の位置を変更する位置変更部を有し、
前記位置変更部は、前記切断部をスライド移動自在に支持するスライド支持部材と、複数のスライド位置のうちの一のスライド位置で前記切断部を固定するスライド固定部材とを備えることを特徴とする画像形成装置。
【請求項4】
請求項1又は2に記載の画像形成装置において、
前記カッター移動機構は、無給電機構であることを特徴とする画像形成装置。
発明の詳細な説明
【技術分野】
【0001】
本発明は、画像形成装置に関するものである。
続きを表示(約 2,300 文字)
【背景技術】
【0002】
従来、画像を形成した記録シートを排出位置から排出する画像形成部と、シート幅方向へカッターを移動させることにより前記記録シートを切断する切断部と、を有する画像形成装置が知られている。
【0003】
例えば、特許文献1には、ロールから巻き出されたロール紙(記録シート)上に画像を形成するシリアル型インクジェットプリンタ(画像形成装置)において、ロール紙の幅方向にカッターを移動させてロール紙を所定の長さに切断するものが開示されている。この記録装置では、シート面が略水平面となるように保持されるロール紙部分に対向してキャリッジを走査し、ロール紙のおもて面上に画像を形成する。カッターは、記録装置の内部に配置され、シート面が略水平面となるように保持されるロール紙部分をシート幅方向へ移動して切断をする。
【発明の概要】
【発明が解決しようとする課題】
【0004】
画像形成装置の本体内部ではなく、画像形成装置の排出位置から排出される記録シート部分をカッターで切断する場合、カッターによって適切に切断することが困難になることがあった。
【課題を解決するための手段】
【0005】
上述した課題を解決するために、本発明は、画像を形成した記録シートを排出位置から排出する画像形成部と、シート幅方向へカッターを移動させることにより前記記録シートを切断する切断部と、を有する画像形成装置であって、前記切断部は、前記排出位置から垂れ下がる記録シート部分の下面側を支持する下面支持部材と、前記下面支持部材に支持された該記録シート部分に沿って前記カッターをシート幅方向へ移動させるカッター移動機構と、を備え、前記下面支持部材の水平方向位置が変化するように前記切断部を移動させる移動部を有することを特徴とするものである。
【発明の効果】
【0006】
本発明によれば、画像形成装置の排出位置から排出される記録シート部分をカッターで切断する場合において、記録シートの種類(コシの強さ等)や後処理装置の種類(入口の高さ等)が変わっても、カッターによる適切な切断が可能になる。
【図面の簡単な説明】
【0007】
実施形態のインクジェットプリンタの本体構成を示す斜視図。
同インクジェットプリンタが備える画像形成部の要部を示す平面図。
同インクジェットプリンタの構造を側面から見た模式図。
同インクジェットプリンタの主要部の制御構成を示すブロック図。
同インクジェットプリンタのシート切断装置の構成を示す正面図。
(a)及び(b)は、同シート切断装置を構成するカッターユニットの構成を示す正面図であり、(a)は上面押さえ部材の待機状態を示し、(b)は、上面押さえ部材の進出状態を示す。
同上面押さえ部材が押し出しバネの付勢力によって押し出された進出状態を示す説明図。
(a)は、同カッターユニットのカッターハウジングが第一退避位置に位置する状態を示す説明図。(b)は、同カッターハウジングが第二退避位置に位置する状態を示す説明図。
(a)は、後処理装置を接続しないで使用される第一使用態様におけるロール紙の垂れ下がる姿勢を示す説明図。(b)は、後処理装置を接続して使用される第二使用態様におけるロール紙の垂れ下がる姿勢を示す説明図。
(a)は、同第一使用態様におけるロール紙の垂れ下がる姿勢に対応するように、回動昇降機構のフレーム部の回転位置を調整した状態を示す説明図。(b)は、同第二使用態様におけるロール紙の垂れ下がる姿勢に対応するように、回動昇降機構のフレーム部の回転位置を調整した状態を示す説明図。
同回動昇降機構の構成を示す説明図。
(a)は、カッターユニットの位置を排出位置に近い位置に調整した状態を示す説明図。(b)は、カッターユニットの位置を排出位置から遠い位置に調整した状態を示す説明図。
【発明を実施するための形態】
【0008】
以下、本発明に係る画像形成装置をインクジェット方式のプリンタ(以下「インクジェットプリンタ」という。)に適用した実施形態について説明する。
図1は、本実施形態のインクジェットプリンタ1の本体構成を示す斜視図である。
図2は、インクジェットプリンタ1が備える画像形成部2の要部を示す平面図である。
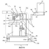
図3は、インクジェットプリンタ1の構造を側面から見た模式図である。
図4は、インクジェットプリンタ1の主要部の制御構成を示すブロック図である。
【0009】
図1および図2に示すように、本実施形態のインクジェットプリンタ1は、いわゆるシリアル型のインクジェット式記録装置である。シリアル型のインクジェット式記録装置は、インクジェットヘッドをシートの幅方向に走査させながら液体を吐出して画像を形成し、1回あるいは複数回の走査が終了した後にシートを搬送して、次の記録ラインを形成するようになっている。
【0010】
図3に示すように、インクジェットプリンタ1は、画像形成部2と、シート搬送部3と、ロール紙収容部4と、切断部としてのシート切断装置5と、制御部80とを含んで構成されている。これらのうち、シート切断装置5以外は装置本体1aの内部に配置されており、シート切断装置5は装置本体1aの外部に配置されている。
(【0011】以降は省略されています)
この特許をJ-PlatPat(特許庁公式サイト)で参照する
関連特許
株式会社リコー
液体塗布装置
8日前
株式会社リコー
画像形成装置
今日
株式会社リコー
画像形成装置
7日前
株式会社リコー
画像形成装置
4日前
株式会社リコー
画像形成装置
4日前
株式会社リコー
画像形成装置
4日前
株式会社リコー
印刷システム
4日前
株式会社リコー
感熱記録媒体
1日前
株式会社リコー
印刷応答補償機構
8日前
株式会社リコー
拡張アンテナ装置
7日前
株式会社リコー
画像形成システム
今日
株式会社リコー
生体情報測定装置
1日前
株式会社リコー
マーキングシステム
7日前
株式会社リコー
液体を吐出する装置
1日前
株式会社リコー
電極及びその製造方法
4日前
株式会社リコー
電極及びその製造方法
2日前
株式会社リコー
多孔質構造体の製造方法
4日前
株式会社リコー
定着装置及び画像形成装置
8日前
株式会社リコー
印刷装置および印刷システム
今日
株式会社リコー
液吐出装置、及び液吐出方法
8日前
株式会社リコー
ファイル分析・保存システム
4日前
株式会社リコー
パルスバルブおよび塗布装置
4日前
株式会社リコー
液体塗布装置および洗浄方法
4日前
株式会社リコー
塗装システム、及び塗装方法
4日前
株式会社リコー
液体吐出装置及び液体吐出方法
今日
株式会社リコー
定着装置、及び、画像形成装置
4日前
株式会社リコー
定着装置、及び、画像形成装置
4日前
株式会社リコー
後処理装置および画像形成装置
4日前
株式会社リコー
システム、方法およびプログラム
今日
株式会社リコー
レーザ照射装置、レーザ照射方法
4日前
株式会社リコー
パーソナライズビデオメカニズム
2日前
株式会社リコー
液体吐出装置、及び液体吐出方法
4日前
株式会社リコー
ベルト装置、及び、画像形成装置
今日
株式会社リコー
見積書作成装置、方法、プログラム
4日前
株式会社リコー
媒体処理装置及び画像形成システム
1日前
株式会社リコー
媒体処理装置及び画像形成システム
今日
続きを見る
他の特許を見る