TOP
|
特許
|
意匠
|
商標
特許ウォッチ
Twitter
他の特許を見る
10個以上の画像は省略されています。
公開番号
2025137001
公報種別
公開特許公報(A)
公開日
2025-09-19
出願番号
2024035963
出願日
2024-03-08
発明の名称
液体噴射ヘッド
出願人
セイコーエプソン株式会社
代理人
弁理士法人旺知国際特許事務所
主分類
B41J
2/14 20060101AFI20250911BHJP(印刷;線画機;タイプライター;スタンプ)
要約
【課題】固定板を取り外さなくても、コンプライアンス空間での液だまりの有無を観察することができる。
【解決手段】液体噴射ヘッドは、液体を噴射する複数のノズルを有するノズルプレートを含む複数のヘッドチップと、複数のヘッドチップが固定され、ノズルプレートを外部へ露出させるための複数の開口部を有する固定板と、を備え、複数のヘッドチップのそれぞれは、複数のノズルに連通する流路内の圧力変動を吸収するためのコンプライアンス基板を含み、固定板とコンプライアンス基板との間には、コンプライアンス基板の変形を許容するための空間であるコンプライアンス空間が設けられており、固定板は、固定板の厚さ方向にみてコンプライアンス空間に重なる領域の少なくとも一部において、可視光、赤外光またはX線を透過可能である。
【選択図】図7
特許請求の範囲
【請求項1】
液体を噴射する複数のノズルを有するノズルプレートを含む複数のヘッドチップと、
前記複数のヘッドチップが固定され、前記ノズルプレートを外部へ露出させるための複数の開口部を有する固定板と、を備え、
前記複数のヘッドチップのそれぞれは、前記複数のノズルに連通する流路内の圧力変動を吸収するためのコンプライアンス基板を含み、
前記固定板と前記コンプライアンス基板との間には、前記コンプライアンス基板の変形を許容するための空間であるコンプライアンス空間が設けられており、
前記固定板は、前記固定板の厚さ方向にみて前記コンプライアンス空間に重なる領域の少なくとも一部において、可視光、赤外光またはX線を透過可能である、
ことを特徴とする液体噴射ヘッド。
続きを表示(約 560 文字)
【請求項2】
前記固定板は、透明材料で構成される、
ことを特徴とする請求項1に記載の液体噴射ヘッド。
【請求項3】
前記固定板は、
前記少なくとも一部において欠損した第1層と、
前記少なくとも一部を包含する範囲にわたり設けられ、前記第1層に積層される第2層と、を有し、
前記第2層は、透明材料で構成される、
ことを特徴とする請求項1に記載の液体噴射ヘッド。
【請求項4】
前記第1層は、前記第2層と前記コンプライアンス基板との間に配置される、
ことを特徴とする請求項3に記載の液体噴射ヘッド。
【請求項5】
前記コンプライアンス空間は、前記複数のノズルが配列される方向に延びる長手形状をなしており、
前記少なくとも一部は、前記固定板の厚さ方向にみて前記コンプライアンス空間の長手方向での端部に重なる部分である、
ことを特徴とする請求項1に記載の液体噴射ヘッド。
【請求項6】
前記固定板には、前記少なくとも一部において前記固定板を貫通する複数の貫通孔が設けられ、
前記複数の貫通孔のそれぞれには、透明材料が充填される、
ことを特徴とする請求項1に記載の液体噴射ヘッド。
発明の詳細な説明
【技術分野】
【0001】
本開示は、液体噴射ヘッドに関する。
続きを表示(約 1,800 文字)
【背景技術】
【0002】
インクジェットヘッドに代表される液体噴射ヘッドでは、液体を噴射する複数のヘッドチップを固定する固定板を用いる場合がある。この固定板には、各ヘッドチップのノズルプレートを外部へ露出させるための複数の開口部が設けられる。
【0003】
特許文献1では、金属製の固定板に複数のヘッドチップが固定される。ここで、ヘッドチップがヘッドチップ内の液体の圧力変動を吸収するためのコンプライアンス基板を有しており、コンプライアンス基板と固定板との間には、コンプライアンス基板の変形を許容する空間であるコンプライアンス空間が設けられる。
【先行技術文献】
【特許文献】
【0004】
特開2023-122217号公報
【発明の概要】
【発明が解決しようとする課題】
【0005】
コンプライアンス空間は、大気開放される。このため、コンプライアンス空間内への液体の侵入によりコンプライアンス基板の機能に異常が生じる場合がある。特許文献1に記載のヘッドでは、固定板が金属で構成されているため、コンプライアンス空間内への液体の侵入を非破壊で観察することができず、当該異常を検出することができなかった。
【課題を解決するための手段】
【0006】
以上の課題を解決するために、本開示の好適な態様に係る液体噴射ヘッドは、液体を噴射する複数のノズルを有するノズルプレートを含む複数のヘッドチップと、前記複数のヘッドチップが固定され、前記ノズルプレートを外部へ露出させるための複数の開口部を有する固定板と、を備え、前記複数のヘッドチップのそれぞれは、前記複数のノズルに連通する流路内の圧力変動を吸収するためのコンプライアンス基板を含み、前記固定板と前記コンプライアンス基板との間には、前記コンプライアンス基板の変形を許容するための空間であるコンプライアンス空間が設けられており、前記固定板は、前記固定板の厚さ方向にみて前記コンプライアンス空間に重なる領域の少なくとも一部において、可視光、赤外光またはX線を透過可能である。
【図面の簡単な説明】
【0007】
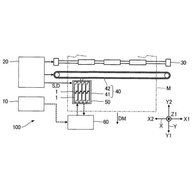
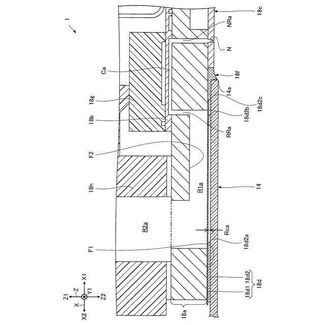
第1実施形態に係る液体噴射ヘッドを備える液体噴射装置の構成例を示す概略図である。
第1実施形態に係る液体噴射ヘッドを有するヘッドモジュールの斜視図である。
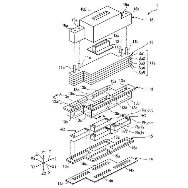
液体噴射ヘッドの分解斜視図である。
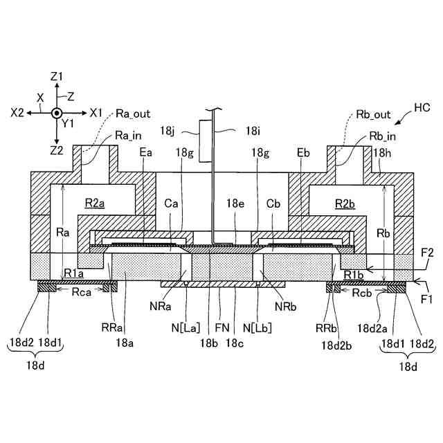
ヘッドチップの構成例を示す概略図である。
ヘッドチップの構成例を示す断面図である。
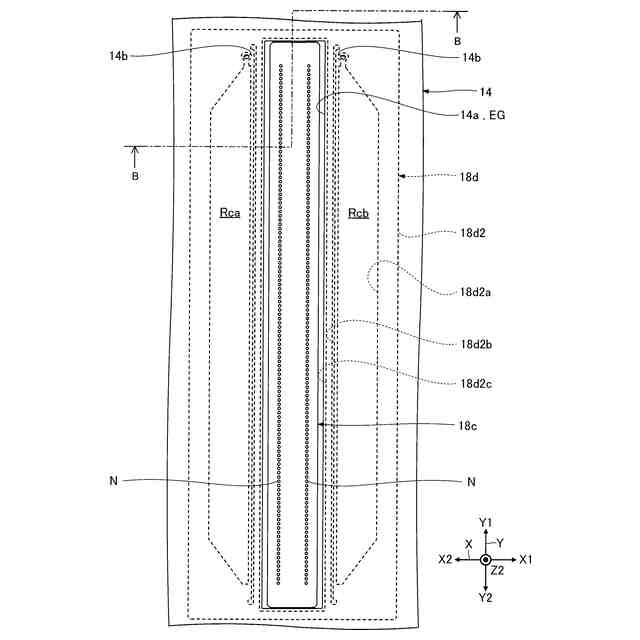
ノズルプレートと固定板の開口部とコンプライアンス基板のコンプライアンス空間との位置関係を示す平面図である。
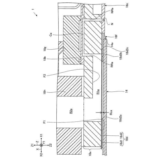
第1実施形態に係る液体噴射ヘッドの断面図である。
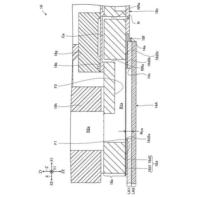
第2実施形態に係る液体噴射ヘッドの断面図である。
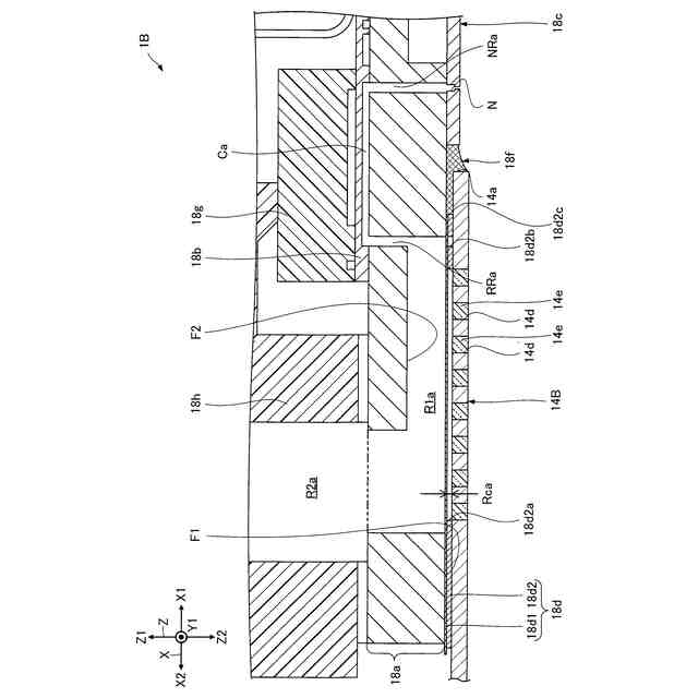
第3実施形態に係る液体噴射ヘッドの断面図である。
第4実施形態における固定板を説明するための平面図である。
【発明を実施するための形態】
【0008】
以下、添付図面を参照しながら本開示に係る好適な実施形態を説明する。なお、図面において各部の寸法および縮尺は実際と適宜に異なり、理解を容易にするために模式的に示している部分もある。また、本開示の範囲は、以下の説明において特に本開示を限定する旨の記載がない限り、これらの形態に限られない。
【0009】
なお、以下の説明は、便宜上、互いに交差するX軸、Y軸およびZ軸を適宜に用いて行う。また、以下では、X軸に沿う一方向がX1方向であり、X1方向と反対の方向がX2方向である。同様に、Y軸に沿って互いに反対の方向がY1方向およびY2方向である。また、Z軸に沿って互いに反対の方向がZ1方向およびZ2方向である。Z2方向が「第1方向」の一例であり、Z1方向が「第2方向」の一例である。
【0010】
ここで、典型的には、Z軸が鉛直な軸であり、Z2方向が鉛直方向での下方向に相当する。ただし、Z軸は、鉛直な軸でなくともよい。また、X軸、Y軸およびZ軸は、典型的には互いに直交するが、これに限定されず、例えば、80°以上100°以下の範囲内の角度で交差すればよい。
(【0011】以降は省略されています)
この特許をJ-PlatPat(特許庁公式サイト)で参照する
関連特許
個人
箔熱転写装置
21日前
シヤチハタ株式会社
印判
4か月前
東レ株式会社
凸版印刷版原版
9か月前
三菱製紙株式会社
感熱記録材料
10か月前
シヤチハタ株式会社
反転式印判
8か月前
独立行政法人 国立印刷局
印刷物
6か月前
三光株式会社
感熱記録材料
5か月前
キヤノン株式会社
記録装置
14日前
独立行政法人 国立印刷局
貼付機構
1か月前
独立行政法人 国立印刷局
貼付装置
1か月前
独立行政法人 国立印刷局
記録媒体
8か月前
株式会社リコー
液体吐出装置
8か月前
株式会社リコー
画像形成装置
2日前
株式会社リコー
液体吐出装置
1か月前
株式会社リコー
画像形成装置
21日前
株式会社リコー
液体吐出装置
4か月前
株式会社リコー
印刷システム
2日前
株式会社リコー
液体吐出装置
7か月前
株式会社リコー
液体吐出装置
5か月前
株式会社リコー
液体吐出装置
4か月前
株式会社リコー
液体吐出装置
7か月前
日本製紙株式会社
感熱記録体
7か月前
株式会社リコー
液体吐出装置
3か月前
キヤノン株式会社
画像処理装置
4か月前
ブラザー工業株式会社
プリンタ
3か月前
キヤノン株式会社
画像形成装置
7か月前
ブラザー工業株式会社
プリンタ
5か月前
キヤノン株式会社
画像形成装置
5か月前
ブラザー工業株式会社
プリンタ
8か月前
キヤノン株式会社
画像形成装置
3か月前
キヤノン株式会社
画像形成装置
8か月前
フジコピアン株式会社
熱転写記録媒体
10か月前
理想科学工業株式会社
印刷装置
6日前
ブラザー工業株式会社
プリンタ
5か月前
キヤノン株式会社
画像形成装置
1か月前
キヤノン株式会社
画像形成装置
10か月前
続きを見る
他の特許を見る