TOP
|
特許
|
意匠
|
商標
特許ウォッチ
Twitter
他の特許を見る
10個以上の画像は省略されています。
公開番号
2025083896
公報種別
公開特許公報(A)
公開日
2025-06-02
出願番号
2023197555
出願日
2023-11-21
発明の名称
画像処理装置
出願人
キヤノン株式会社
代理人
個人
主分類
B41J
29/38 20060101AFI20250526BHJP(印刷;線画機;タイプライター;スタンプ)
要約
【課題】 画像処理装置の調整機能はsleep状態中に行われるため、画像処理装置内の不揮発性メモリであるSSDなどのストレージの電源がOff状態となっている。このため、調整機能が正常に行われたかどうかの履歴が保持されない。
【解決手段】 画像処理装置において、sleepモード中にタイマー制御により電源制御部に電力供給の要求通知を行う手段、プリンタ部が画質調整を行う手段、前記の画像調整手段による処理が行われた履歴をDRAに格納する手段、sleep状態中に外部ネットワークからの問い合わせに対してはDRAMに格納されたデータをもとに情報を送信する手段、通常動作モードへ復帰後にDRAM上のデータをSSD等の不揮発性ストレージに格納する手段を備える。
【選択図】 図4
特許請求の範囲
【請求項1】
画像形成装置の省電力化のための電源制御を行う手段、
sleepモード中に画像調整を行う手段、
sleepモード中にタイマー制御により電源制御部に電力供給の要求通知を行う手段、
プリンタ部が画像調整を行う手段、
前記の画像調整手段による処理が行われた履歴をDRAMに格納する手段、
sleep状態中に外部ネットワークからの問い合わせに対してはDRAMに格納されたデータをもとに情報を送信する手段、
通常動作モードへ復帰後にDRAM上のデータをSSD等の不揮発性ストレージに格納する手段、を備えたことを特徴とする画像処理装置。
続きを表示(約 210 文字)
【請求項2】
請求項1の構成において、前記の画像調整手段による処理が行われた履歴をネットワークI/F内にあるメモリに格納する手段、
sleep状態中に外部ネットワークからの問い合わせに対してはDRAMに格納されたデータをもとに情報を送信する手段、
通常動作モードへ復帰後にネットワークI/F内にあるメモリ上のデータをSSD等の不揮発性ストレージに格納する手段、を備えたことを特徴とする画像処理装置。
発明の詳細な説明
【技術分野】
【0001】
発明は画像処理装置がsleep状態中に自動で行う画質調整機能の動作と、その履歴情報の管理に関する。
続きを表示(約 1,700 文字)
【背景技術】
【0002】
従来の通信回線に接続されている情報処理装置において、通信回線から送信される信号を処理する際に消費する電力を低減する技術を施したものが有る(例えば、特許文献1参照。)。
【0003】
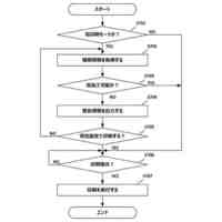
画像処理装置においては、画質を一定レベルに保つために定期的に画質調整が行われるような自動調整機能を備えている。具体的には、装置内にある機構として画像を印字用紙に定着させるための熱源となるヒーター部に転写ローラー、定着ユニットに加圧ローラーを備えている。また一方で稼働していない間の省電力化を図るため、sleep状態中には前記のメカ機構であるローラー部、ヒーター等の熱源の電源を遮断している。しかしながら、前記の転写ローラー、加圧ローラーに圧力がかかったままの状態が長時間保持されると、部材が変形してしまい画像不良の原因となる可能性がある。このため定期的に前記ローラーを稼働し動作をさせる調整機能が必要となっている。
【0004】
前記の調整機能は画像処理装置がsleep状態中に行われるため、画像処理装置内の不揮発性メモリであるSSDなどのストレージの電源がOff状態となっている。このため、調整機能が正常に行われたかどうかの履歴が保持されないままとなっており、サービスマンによる故障解析の際に過去の調整機能が実施されたことに関する履歴情報として抽出することが出来ていなかった。
【先行技術文献】
【特許文献】
【0005】
特開2010-264648号公報
【発明の概要】
【発明が解決しようとする課題】
【0006】
本発明においては、sleep状態中に行われる画像処理装置の画質調整機能が正常に実行されたことを示す履歴データが保持されるよう、sleep状態時にも通電されているRAM上に格納しておくことを目的とする。sleep状態時にプリントサーバーからの問い合わせが有った場合、画像処理装置内のストレージへ逐次通電させることなくRAMに格納されたデータを転送することにより、応答時間の短縮と省電力化を図ることが可能となる。
【0007】
また、前記RAM上のデータはsleep状態から通常の電力モードに復帰後には、不揮発性のストレージにデータを書きこむことでデータ消失を防止する。
【0008】
すなわち、本発明の目的は、画像調整手段による処理が行われた履歴を画像処理装置内RAMに格納することで、プリントサーバーからのステータス問い合わせに対してリアルタイムで最新の方法を返信することが可能となる画像処理装置を提供することにある。
【課題を解決するための手段】
【0009】
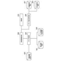
上記目的を達成するために、本発明の画像処理装置は、画像形成装置の省電力化のための電源制御を行う手段(108)、sleepモード中に画像調整を行う手段、sleepモード中にタイマー制御により電源制御部に電力供給の要求通知を行う手段(130)、プリンタ部(109)が画像調整を行う手段(505)、前記の画像調整手段による処理が行われた履歴をDRAM(104)に格納する手段、sleep状態中に外部ネットワークからの問い合わせに対してはDRAMに格納されたデータをもとに情報を送信する手段(509)、通常動作モードへ復帰後にDRAM(104)上のデータをSSD等の不揮発性ストレージ(111)に格納する手段(605)、を備えたことを特徴とする。
【発明の効果】
【0010】
本発明によれば、画像処理装置の画質調整機能は本体がsleep状態中に行われる。画像処理装置内RAMに格納することで、プリントサーバーからのステータス問い合わせに対してリアルタイムで最新の方法を返信することが可能となる。また、standby状態へ復帰後に前記のRAM上に格納されたデータをSSD等の不揮発性ストレージへ転送することにより、画像不良が発生した場合でも、サービスマンによる故障解析の際に過去の履歴情報として抽出することが可能となる。
【図面の簡単な説明】
(【0011】以降は省略されています)
この特許をJ-PlatPat(特許庁公式サイト)で参照する
関連特許
キヤノン株式会社
現像装置
2日前
キヤノン株式会社
画像形成装置
2日前
キヤノン株式会社
画像形成装置
2日前
キヤノン株式会社
画像形成装置
3日前
キヤノン株式会社
画像形成装置
3日前
キヤノン株式会社
画像形成装置
3日前
キヤノン株式会社
画像形成装置
2日前
キヤノン株式会社
電子写真装置
2日前
キヤノン株式会社
レンズキャップ
3日前
キヤノン株式会社
画像形成システム
4日前
キヤノン株式会社
画像形成システム
4日前
キヤノン株式会社
検知装置、画像形成装置
2日前
キヤノン株式会社
光学系及び画像読取装置
2日前
キヤノン株式会社
検知装置、画像形成装置
2日前
キヤノン株式会社
インクジェット記録装置
2日前
キヤノン株式会社
画像形成装置及び箔印刷システム
3日前
キヤノン株式会社
情報処理装置およびその制御方法
2日前
キヤノン株式会社
画像形成装置及び箔印刷システム
3日前
キヤノン株式会社
シート排出装置及び画像形成装置
2日前
キヤノン株式会社
蒸着装置および発光装置の製造方法
3日前
キヤノン株式会社
光電変換装置、撮像システム、移動体
2日前
キヤノン株式会社
情報処理装置、方法、及びプログラム
3日前
キヤノン株式会社
トナー、カートリッジ、及び画像形成装置
2日前
キヤノン株式会社
画像処理装置、画像処理方法及びプログラム
2日前
キヤノン株式会社
電子機器、電子機器の制御方法、プログラム
2日前
キヤノン株式会社
情報処理装置、情報処理方法、及びプログラム
2日前
キヤノン株式会社
画像処理装置、画像処理方法、及びプログラム
2日前
キヤノン株式会社
情報処理装置、情報処理方法およびプログラム
2日前
キヤノン株式会社
撮影システムに含まれる装置、及び撮影システム
3日前
キヤノン株式会社
画像形成装置及び画像形成方法、並びにプログラム
3日前
キヤノン株式会社
発光装置、表示装置、光電変換装置および電子機器
4日前
キヤノン株式会社
画像形成システム、画像形成装置、および情報処理装置
3日前
キヤノン株式会社
画像形成装置、画像形成システム、および情報処理装置
3日前
キヤノン株式会社
画像形成装置、画像形成システム、および情報処理装置
3日前
キヤノン株式会社
画像形成装置、画像形成システム、および情報処理装置
3日前
キヤノン株式会社
放射線撮影装置及びその制御方法、並びに、プログラム
2日前
続きを見る
他の特許を見る