TOP
|
特許
|
意匠
|
商標
特許ウォッチ
Twitter
他の特許を見る
公開番号
2025137210
公報種別
公開特許公報(A)
公開日
2025-09-19
出願番号
2024036278
出願日
2024-03-08
発明の名称
ネットワークシステム
出願人
株式会社デンソー
代理人
個人
,
個人
主分類
H04L
43/10 20220101AFI20250911BHJP(電気通信技術)
要約
【課題】通常動作状態から省電力状態へ遷移した後も、各末端装置において、異常が生じているか否かを診断すること。
【解決手段】複数の末端装置12、13、15、16、18、19は、それぞれ、通常動作モードと省電力モードとで動作可能である。複数の末端装置は、通常動作モードにて動作している間、通常動作モードで動作すべき他の末端装置を特定したバス管理メッセージを定期的に送信する。複数の末端装置は、省電力モードにて動作している間、他の末端装置が通常動作モードで動作することを強制しない省電力用メッセージを定期的に送信する。ゲートウェイECU10は、バス管理メッセージ及び省電力用メッセージに基づいて、対応する末端装置において、異常が発生しているか否かを診断する。
【選択図】図1
特許請求の範囲
【請求項1】
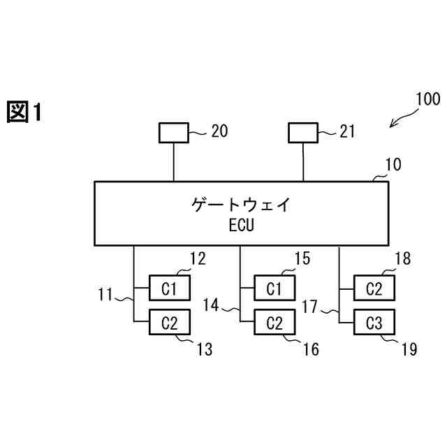
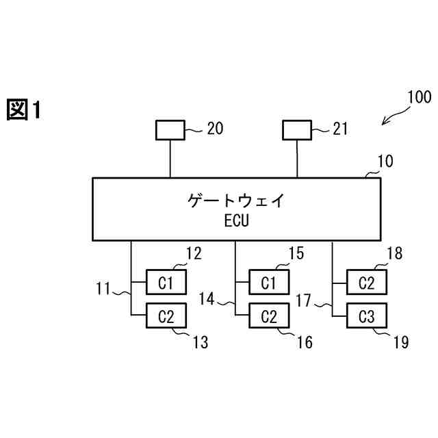
中継装置(10)と、
前記中継装置に接続される複数の通信バス(11、14、17)と、
複数の前記通信バスの各々に接続される、複数の末端装置(12、13、15、16、18、19)と、を備え、
複数の前記末端装置は、それぞれ、通常動作モードと省電力モードとで動作可能であり、
複数の前記末端装置は、前記通常動作モードにて動作している間、前記通常動作モードで動作すべき他の前記末端装置を特定したバス管理メッセージを定期的に前記通信バスに送信し、
複数の前記末端装置は、前記省電力モードにて動作している間、他の前記末端装置が前記通常動作モードで動作することを強制しない省電力用メッセージを定期的に前記通信バスに送信し、
前記中継装置は、前記バス管理メッセージ及び前記省電力用メッセージに基づいて、対応する前記末端装置において、異常が発生しているか否かを診断する、ネットワークシステム。
続きを表示(約 550 文字)
【請求項2】
前記末端装置は、前記省電力モードで動作している間、前記省電力用メッセージを定期的に送信する機能だけを有効化し、その他の機能を停止させる、請求項1に記載のネットワークシステム。
【請求項3】
複数の前記末端装置は、前記省電力モードで動作しているとき、対応する前記末端装置に向けられた前記バス管理メッセージを受信するように動作するとともに、当該バス管理メッセージの受信に応じて、前記末端装置を前記通常動作モードに復帰させるように動作するトランシーバを備える、請求項1又は2に記載のネットワークシステム。
【請求項4】
複数の前記末端装置は、前記省電力用メッセージの定期的な送信を開始してから一定時間が経過すると、前記省電力用メッセージの定期的な送信を終了する、請求項1又は2に記載のネットワークシステム。
【請求項5】
前記中継装置は、自身に接続された複数の前記通信バスの各々に接続された複数の前記末端装置が、前記省電力用メッセージの定期的な送信を終了したことに応じて、少なくとも前記バス管理メッセージ及び前記省電力用メッセージに基づく診断機能を停止することを含む省電力モードに移行する、請求項4に記載のネットワークシステム。
発明の詳細な説明
【技術分野】
【0001】
本開示は、通常動作モードと省電力モードとで動作可能な末端装置を備えるネットワークシステムに関する。
続きを表示(約 1,900 文字)
【背景技術】
【0002】
例えば、特許文献1には、通信バス単位で、もしくは特定のグループ単位で、各ノード(ECU)をスリープさせるネットワークシステムが開示されている。より詳細には、各ノードが通常動作しているときには、各ノードは、ネットワークマネジメント(NM)メッセージを定期的に通信バスに送信する。この際、特定のグループ単位で各ノードをスリープさせる場合には、NMメッセージは、送信先のグループを特定するための情報(対象識別子)を含む。NMメッセージは、自ノードがスリープ状態(省電力状態)に遷移不可であることを示すものであり、他のノードに対して、通常動作状態を維持することを要求するものである。
【0003】
各ノードは省電力状態に遷移可能である場合、NMメッセージの送信を中止する。そして、通信バスを介して、他のノードからNMメッセージを受信しない期間が予め設定された待機期間を超えると、省電力状態に遷移する。省電力状態に遷移する際、各ノードは、スリープ突入メッセージを通信バスに送信する。
【0004】
特許文献1のネットワークシステムは、各ノードの中に、他のノードが正常に動作しているかどうかを監視するマスタとしての監視ノードが含まれている。監視ノードは、全てのノードが省電力状態への遷移を完了するまでの時間として定められているスリープ完了時間が経過したとき、各ノードからのスリープ突入メッセージの受信有無を確認する。そして、監視ノードは、スリープ突入メッセージを受信したノードを正常ノード、受信しなかったノードを異常ノードとして、異常ノードを記録する。
【0005】
このように、特許文献1のシステムでは、スリープ突入メッセージの受信の有無に基づいて、ノードの通常状態時における異常検出だけでなく、省電力状態への遷移時にも異常検出を行うようにしている。
【先行技術文献】
【特許文献】
【0006】
特許第5617875号公報
【発明の概要】
【発明が解決しようとする課題】
【0007】
しかしながら、各ノードから送信されるスリープ突入メッセージに基づく異常検出では、省電力状態への遷移時のみしか、各ノードの通信異常などの異常検出を行い得ない。換言すれば、省電力状態に遷移後は、各ノードの通信異常などの異常検出を行い得ないので、省電力状態への遷移後の各ノードの異常検出に関して十分になされているとは言えない。
【0008】
本開示は、上述した点に鑑みてなされたもので、通常動作状態から省電力状態へ遷移した後も、各末端装置において、異常が生じているか否かを診断することが可能なネットワークシステムを提供することを目的とする。
【課題を解決するための手段】
【0009】
上記目的を達成するために、本開示によるネットワークシステムは、
中継装置(10)と、
中継装置に接続される複数の通信バス(11、14、17)と、
複数の通信バスの各々に接続される、複数の末端装置(12、13、15、16、18、19)と、を備え、
複数の末端装置は、それぞれ、通常動作モードと省電力モードとで動作可能であり、
複数の末端装置は、通常動作モードにて動作している間、通常動作モードで動作すべき他の末端装置を特定したバス管理メッセージを定期的に通信バスに送信し、
複数の末端装置は、省電力モードにて動作している間、他の末端装置が通常動作モードで動作することを強制しない省電力用メッセージを定期的に通信バスに送信し、
中継装置は、バス管理メッセージ及び省電力用メッセージに基づいて、対応する末端装置において、異常が発生しているか否かを診断する、ように構成される。
【0010】
本開示によるネットワークシステムでは、上述したように、複数の末端装置が、通常動作モードにて動作している間、通常動作モードで動作すべき他の末端装置を特定したバス管理メッセージを定期的に通信バスに送信する。加えて、複数の末端装置は、省電力モードにて動作している間、他の末端装置が通常動作モードで動作することを強制しない省電力用メッセージを定期的に通信バスに送信する。そして、中継装置が、バス管理メッセージ及び省電力用メッセージに基づいて、対応する末端装置において、異常が発生しているか否かを診断する。
(【0011】以降は省略されています)
この特許をJ-PlatPat(特許庁公式サイト)で参照する
関連特許
株式会社デンソー
接合体
13日前
株式会社デンソー
電子装置
3日前
株式会社デンソーエレクトロニクス
発音装置
3日前
株式会社デンソー
レーダ装置
3日前
株式会社デンソー
光位相変調器
13日前
株式会社デンソー
電子制御装置
3日前
株式会社デンソー
通信システム
3日前
株式会社デンソー
電波吸収装置
3日前
株式会社デンソー
フィルタ回路
7日前
株式会社デンソー
ステータコア
6日前
株式会社デンソーエアクール
換気空調装置
今日
株式会社デンソー
電気化学セル
3日前
株式会社デンソー
制御システム
6日前
株式会社デンソー
電子制御装置
14日前
株式会社デンソー
電力変換装置
7日前
株式会社デンソー
移動体制御装置
今日
株式会社デンソー
ゲート駆動装置
13日前
株式会社デンソー
画像符号化装置
1日前
株式会社デンソーテン
電源制御システム
6日前
株式会社デンソーウェーブ
光学読取システム
今日
株式会社デンソーエレクトロニクス
車両用音出力装置
1日前
株式会社デンソーウェーブ
ロボットの操作装置
3日前
株式会社デンソーウェーブ
ロボットの操作装置
3日前
株式会社デンソーウェーブ
ロボットの操作装置
3日前
株式会社デンソー
巻線界磁型回転電機
3日前
株式会社デンソーウェーブ
ロボットの操作装置
3日前
株式会社デンソーウェーブ
ロボットの操作装置
3日前
株式会社デンソーウェーブ
ロボットの操作装置
3日前
株式会社デンソーウェーブ
ロボットの操作装置
3日前
株式会社デンソーウェーブ
ロボットの操作装置
3日前
株式会社デンソー
巻線界磁型回転電機
3日前
株式会社デンソー
電力変換モジュール
13日前
株式会社デンソーウェーブ
ロボットの操作装置
3日前
株式会社デンソー
巻線界磁型回転電機
3日前
株式会社デンソーウェーブ
ロボットの操作装置
3日前
株式会社デンソーウェーブ
ロボットの操作装置
1日前
続きを見る
他の特許を見る