TOP
|
特許
|
意匠
|
商標
特許ウォッチ
Twitter
他の特許を見る
10個以上の画像は省略されています。
公開番号
2025135917
公報種別
公開特許公報(A)
公開日
2025-09-19
出願番号
2024034000
出願日
2024-03-06
発明の名称
光位相変調器
出願人
株式会社デンソー
,
トヨタ自動車株式会社
,
株式会社ミライズテクノロジーズ
代理人
弁理士法人ゆうあい特許事務所
主分類
G02F
1/025 20060101AFI20250911BHJP(光学)
要約
【課題】変調効率の変化を小さくできる光位相変調器を提供する。
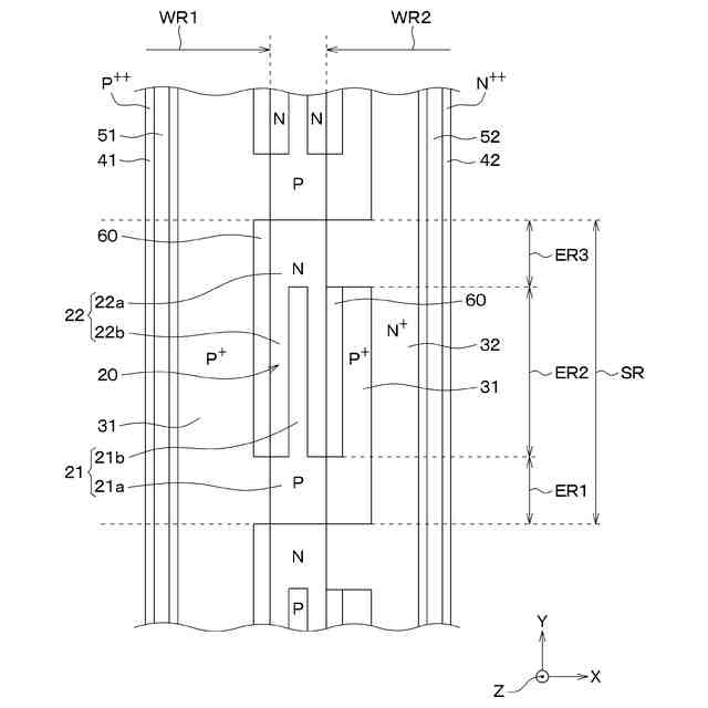
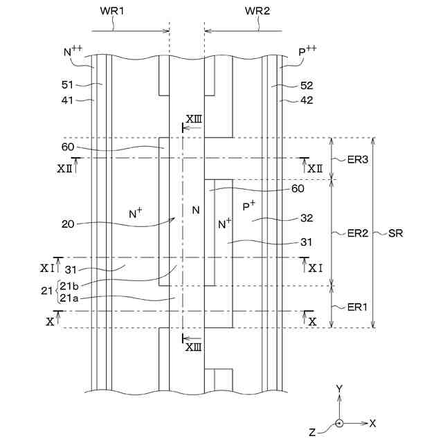
【解決手段】コア部20と、コア部20を挟んで配置され、厚さ方向の長さがコア部20よりも短くされたスラブ部31、32とを備える。コア部20は、第1導電型とされた第1凸部21と、第2導電型とされた第2凸部22とを有し、第1凸部21および第2凸部22は、PN接合を構成する状態で配置され、スラブ部31、32は、イオン注入層で構成され、第1導電型とされて第1凸部21と電気的に接続される第1スラブ部31と、第2導電型とされて第2凸部と電気的に接続される第2スラブ部32と、を有し、コア部20とPN接合を構成する部分を含むように配置され、スラブ部31、32とコア部20との間にPN接合が構成される領域ER2では、コア部20におけるスラブ部31、32側の両側の部分に第2凸部22が配置され、コア部20が第1スラブ部31で挟まれるようにする。
【選択図】図1
特許請求の範囲
【請求項1】
光位相変調器であって、
一方向を延設方向として延設されたコア部(20)と、
前記コア部を挟んで配置され、前記延設方向と交差する厚さ方向の長さが前記コア部よりも短くされたスラブ部(31、32)と、を備え、
前記コア部は、第1導電型とされた第1凸部(21)と、第2導電型とされた第2凸部(22)とを有し、
前記第1凸部および前記第2凸部は、PN接合を構成する状態で配置され、
前記スラブ部は、イオン注入層で構成され、第1導電型とされて前記第1凸部と電気的に接続される第1スラブ部(31)と、第2導電型とされて前記第2凸部と電気的に接続される第2スラブ部(32)と、を有し、前記コア部とPN接合を構成する部分を含むように配置され、
前記スラブ部と前記コア部との間にPN接合が構成される領域(ER2)では、前記コア部における前記スラブ部側の両側の部分に前記第2凸部が配置され、前記コア部が前記第1スラブ部で挟まれている光位相変調器。
続きを表示(約 440 文字)
【請求項2】
前記コア部は、前記スラブ部と前記コア部との間にPN接合が構成される前記領域では、前記延設方向および前記厚さ方向と交差する幅方向において、前記第1凸部が前記第2凸部に挟まれて配置されている請求項1に記載の光位相変調器。
【請求項3】
前記コア部は、前記幅方向において前記第2凸部で挟まれる前記第1凸部を複数有し、かつ、前記第1凸部と前記第2凸部との間のPN接合に起因する空乏層同士が非接触となる構成とされている請求項2に記載の光位相変調器。
【請求項4】
前記コア部は、前記スラブ部と前記コア部との間にPN接合が構成される前記領域では、前記第2凸部上に前記第1凸部が配置されている請求項1に記載の光位相変調器。
【請求項5】
前記コア部および前記スラブ部は、前記スラブ部と前記コア部との間にPN接合が構成される前記領域が前記延設方向において繰り返し配置されている請求項1ないし4のいずれか1つに記載の光位相変調器。
発明の詳細な説明
【技術分野】
【0001】
本開示は、光位相変調器に関するものである。
続きを表示(約 1,700 文字)
【背景技術】
【0002】
従来より、PN接合を有する光位相変調器が提案されている(例えば、特許文献1参照)。具体的には、この光位相変調器では、一方向を延設方向として延設された導波路を有しており、導波路は、光が伝搬するコア部と、コア部の両側に配置され、コア部より厚さが薄くされた第1スラブ部および第2スラブ部とを備えている。
【0003】
より詳しくは、コア部は、N型の第1凸部とP型の第2凸部とを有する構成とされている。第1凸部は、延設方向に沿って延設された第1凸部用第1部位、および第1凸部用第1部位の端部から延設方向と交差する交差方向に沿って延設された第1凸部用第2部位とを有する平面略L字状とされている。第2凸部は、延設方向に沿って延設された第2凸部用第1部位、および第2凸部用第1部位の端部から延設方向と交差する交差方向に沿って延設された第2凸部用第2部位とを有する平面略L字状とされている。そして、コア部は、第1凸部用第1部位と第2凸部用第1部位とが隣合い、第1凸部用第2部位が第2凸部用第1部位と接続されると共に第2凸部用第2部位が第1凸部用第1部位と接続されるように、略L字状とされた第1凸部と第2凸部とが嵌め合された状態となっている。
【0004】
第1スラブ部は、コア部のN型よりも不純物濃度が高いN
+
型とされ、第2凸部用第1部位を挟んで第1凸部用第1部位と反対側に配置され、第2凸部用第1部位および第1凸部用第2部位と接続されている。第2スラブ部は、コア部のP型よりも不純物濃度が高いP
+
型とされ、第1凸部用第1部位を挟んで第2凸部用第1部位と反対側に配置され、第1凸部用第1部位および第2凸部用第2部位と接続されている。
【0005】
なお、このような光位相変調器は、コア部、第1スラブ部、および第2スラブ部がイオン注入によって構成されるイオン注入層とされている。
【先行技術文献】
【特許文献】
【0006】
米国特許出願公開第2017/0315387号明細書
【発明の概要】
【発明が解決しようとする課題】
【0007】
しかしながら、上記のような光位相変調器では、イオン注入を行う際のマスクずれ等により、第1スラブ部および第2スラブ部がコア部に対して交差方向に位置ずれする可能性がある。そして、上記のような光位相変調器では、第1スラブ部および第2スラブ部が交差方向に位置ずれすると、光の変調効率の変化が大きくなる可能性がある。
【0008】
本開示は、変調効率の変化を小さくできる光位相変調器を提供することを目的とする。
【課題を解決するための手段】
【0009】
本開示の1つの観点によれば、光位相変調器は、一方向を延設方向として延設されたコア部(20)と、コア部を挟んで配置され、延設方向と交差する厚さ方向の長さがコア部よりも短くされたスラブ部(31、32)と、を備え、コア部は、第1導電型とされた第1凸部(21)と、第2導電型とされた第2凸部(22)とを有し、第1凸部および第2凸部は、PN接合を構成する状態で配置され、スラブ部は、イオン注入層で構成され、第1導電型とされて第1凸部と電気的に接続される第1スラブ部(31)と、第2導電型とされて第2凸部と電気的に接続される第2スラブ部(32)と、を有し、コア部とPN接合を構成する部分を含むように配置され、スラブ部とコア部との間にPN接合が構成される領域(ER2)では、コア部におけるスラブ部側の両側の部分に第2凸部が配置され、コア部が第1スラブ部で挟まれている。
【0010】
これによれば、コア部とスラブ部との間にPN接合が構成される領域では、コア部が第1スラブで挟まれている。このため、第1スラブ部および第2スラブ部が延設方向および厚さ方向と交差する方向に位置ずれしたとしても、この位置ずれを相殺し易くできる。したがって、変調効率が大きく変化することを抑制できる。
(【0011】以降は省略されています)
この特許をJ-PlatPat(特許庁公式サイト)で参照する
関連特許
株式会社デンソー
接合体
13日前
株式会社デンソー
ステータ
14日前
株式会社デンソー
駆動装置
29日前
株式会社デンソー
ステータ
14日前
株式会社デンソーエレクトロニクス
発音装置
21日前
株式会社デンソー
通信装置
29日前
株式会社デンソー
太陽電池
15日前
株式会社デンソー
平滑回路
23日前
株式会社デンソーエレクトロニクス
発音装置
3日前
株式会社デンソー
電子装置
3日前
株式会社デンソー
光学部材
24日前
株式会社デンソー
書込装置
1か月前
株式会社デンソー
電子装置
1か月前
株式会社デンソー
回転体装置
27日前
株式会社デンソー
レーダ装置
3日前
株式会社デンソー
センサ素子
29日前
株式会社デンソー
ステータコア
6日前
株式会社デンソー
電気化学セル
3日前
株式会社デンソー
制御システム
6日前
株式会社デンソー
光位相変調器
13日前
株式会社デンソー
フィルタ回路
7日前
株式会社デンソー
電力変換装置
7日前
株式会社デンソー
装置及び方法
22日前
株式会社デンソー
温度検出装置
27日前
株式会社デンソー
通信システム
22日前
株式会社デンソー
電力変換装置
28日前
株式会社デンソー
電子制御装置
14日前
株式会社デンソー
通信システム
3日前
株式会社デンソー
電子制御装置
3日前
株式会社デンソー
小型電動車両
15日前
株式会社デンソー
電子制御装置
27日前
株式会社デンソーウェーブ
光学読取装置
15日前
株式会社デンソー
電圧変換回路
14日前
株式会社デンソー
電波吸収装置
3日前
株式会社デンソー
装置および方法
29日前
株式会社デンソー
光導波路構造体
21日前
続きを見る
他の特許を見る