TOP
|
特許
|
意匠
|
商標
特許ウォッチ
Twitter
他の特許を見る
公開番号
2025138542
公報種別
公開特許公報(A)
公開日
2025-09-25
出願番号
2024129772,2024037550
出願日
2024-08-06,2024-03-11
発明の名称
情報処理装置、情報処理方法及びプログラム
出願人
KDDI株式会社
代理人
弁理士法人創光国際特許事務所
主分類
G06Q
50/00 20240101AFI20250917BHJP(計算;計数)
要約
【課題】ユーザの行動に基づいてユーザに適した情報を提供する情報処理装置、情報処理方法及びプログラムを提供する。
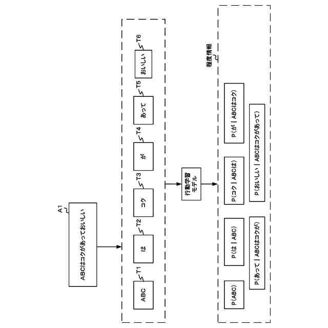
【解決手段】情報処理システムにおいて、情報処理装置1は、ユーザの行動を示す行動情報を入力とし、入力された行動情報が示すユーザの行動が当該コミュニティに所属するユーザの行動と推定される程度を示す程度情報を出力するよう学習された行動学習モデルを記憶する記憶部12と、コミュニティに参加していないユーザの行動を示す行動情報を取得する取得部131と、取得部が取得した行動情報を行動学習モデルに入力し、程度情報を出力させる評価部132と、評価部が出力させた程度情報に基づいて、当該ユーザにコミュニティの情報を通知するか否かを判定する判定部133と、判定部が当該ユーザに通知することを判定する場合、当該ユーザの情報端末にコミュニティに関する情報を表示させるよう制御する表示制御部134と、を有する。
【選択図】図2
特許請求の範囲
【請求項1】
ユーザの行動を示す行動情報であって、所定のコミュニティに参加する複数のユーザそれぞれの行動情報を学習した行動学習モデルであって、行動情報を入力とし、入力された行動情報が示すユーザの行動が当該コミュニティに所属するユーザの行動と推定される程度を示す程度情報を出力するよう学習された行動学習モデルを記憶する記憶部と、
前記コミュニティに参加していないユーザの行動を示す行動情報を取得する取得部と、
前記取得部が取得した行動情報を前記行動学習モデルに入力し、程度情報を出力させる評価部と、
前記評価部が出力させた程度情報に基づいて、前記取得部が取得した行動情報のうち前記行動学習モデルに学習させる行動情報を特定する特定部と、
前記特定部が特定した行動情報を前記行動学習モデルにさらに学習させる学習部と、
を有する情報処理装置。
続きを表示(約 2,000 文字)
【請求項2】
前記記憶部は、事前学習された汎用言語モデルである汎用学習モデルであって、行動情報を入力として、程度情報を出力するよう構成された汎用学習モデルをさらに記憶し、
前記行動学習モデルは、前記汎用学習モデルを前記所定のコミュニティに参加する複数のユーザの行動情報に基づいてファインチューニングした学習済みモデルであり、
前記評価部は、前記行動情報を前記汎用学習モデルに入力し、程度情報をさらに出力させる、
請求項1に記載の情報処理装置。
【請求項3】
前記記憶部は、複数の異なるコミュニティそれぞれについて、各コミュニティに参加する複数のユーザの行動を示す行動情報を学習した複数の行動学習モデルを記憶し、
前記評価部は、前記取得部が取得した行動情報を複数の行動学習モデルそれぞれに入力し、各行動学習モデルが対象とするコミュニティについての程度情報をそれぞれ出力させる、
請求項1に記載の情報処理装置。
【請求項4】
前記取得部は、前記コミュニティに参加していない複数のユーザそれぞれの行動情報を取得し、
前記評価部は、前記取得部が取得した複数のユーザそれぞれの行動情報を前記行動学習モデルに入力し、当該行動情報が対象とする複数のユーザそれぞれについての程度情報を出力させ、
前記特定部は、前記評価部が出力させた複数のユーザそれぞれについての程度情報に基づいて、前記取得部が取得した行動情報のうち前記行動学習モデルに学習させる行動情報を特定し、
前記学習部は、前記特定部が特定した行動情報を前記行動学習モデルにさらに学習させる、
請求項1に記載の情報処理装置。
【請求項5】
前記取得部は、前記コミュニティに参加していないユーザの複数の行動情報を取得し、
前記評価部は、前記複数の行動情報を前記行動学習モデルに入力し、当該行動情報それぞれについての程度情報を出力させ、
前記特定部は、前記評価部が出力させた前記複数の行動情報それぞれに対応する程度情報に基づいて、前記複数の行動情報のうち前記行動学習モデルに学習させる行動情報を特定し、
前記学習部は、前記特定部が特定した行動情報を前記行動学習モデルにさらに学習させる、
請求項1に記載の情報処理装置。
【請求項6】
前記取得部は、前記コミュニティに参加していないユーザの複数の行動情報を取得し、
前記評価部は、前記取得部が取得した前記複数の行動情報を前記行動学習モデルに入力し、程度情報を出力させる、
請求項1に記載の情報処理装置。
【請求項7】
コンピュータが実行する、
ユーザの行動を示す行動情報であって、所定のコミュニティに参加していないユーザの行動を示す行動情報を取得する取得ステップと、
前記取得するステップにおいて取得した行動情報を、記憶部が記憶する、前記所定のコミュニティに参加する複数のユーザそれぞれの行動情報を学習した行動学習モデルであって、行動情報を入力とし、入力された行動情報が示すユーザの行動が当該コミュニティに所属するユーザの行動と推定される程度を示す程度情報を出力するよう学習された行動学習モデルに入力し、程度情報を出力させる評価ステップと、
前記評価ステップにおいてが出力された程度情報に基づいて、前記取得ステップにおいて取得された行動情報のうち前記行動学習モデルに学習させる行動情報を特定する特定ステップと、
前記特定ステップにおいて特定された行動情報を前記行動学習モデルにさらに学習させる学習ステップと、
を有する情報処理方法。
【請求項8】
コンピュータに、
ユーザの行動を示す行動情報であって、所定のコミュニティに参加していないユーザの行動を示す行動情報を取得する取得ステップと、
前記取得するステップにおいて取得した行動情報を、記憶部が記憶する、前記所定のコミュニティに参加する複数のユーザそれぞれの行動情報を学習した行動学習モデルであって、行動情報を入力とし、入力された行動情報が示すユーザの行動が当該コミュニティに所属するユーザの行動と推定される程度を示す程度情報を出力するよう学習された行動学習モデルに入力し、程度情報を出力させる評価ステップと、
前記評価ステップにおいてが出力された程度情報に基づいて、前記取得ステップにおいて取得された行動情報のうち前記行動学習モデルに学習させる行動情報を特定する特定ステップと、
前記特定ステップにおいて特定された行動情報を前記行動学習モデルにさらに学習させる学習ステップと、
を実行させるためのプログラム。
発明の詳細な説明
【技術分野】
【0001】
本発明は、情報処理装置、情報処理方法及びプログラムに関する。
続きを表示(約 1,700 文字)
【背景技術】
【0002】
SNS(Social Networking Service)において、ユーザが閲覧しているグループと異なるグループに関する情報を推薦するグループ推薦装置が知られている(例えば、特許文献1を参照)。
【先行技術文献】
【特許文献】
【0003】
再表2018/220734号公報
【発明の概要】
【発明が解決しようとする課題】
【0004】
しかし、従来技術においては、ユーザが閲覧しているグループに属する他のユーザが属するグループに基づいてユーザに推薦する情報を決定するため、ユーザに適さないグループに関する情報が提供されるという問題が生じる場合があった。
【0005】
そこで、本発明はこれらの点に鑑みてなされたものであり、ユーザの行動に基づいてユーザに適した情報を提供することを目的とする。
【課題を解決するための手段】
【0006】
本発明の第1の態様の情報処理装置においては、ユーザの行動を示す行動情報であって、所定のコミュニティに参加する複数のユーザそれぞれの行動情報を学習した行動学習モデルであって、行動情報を入力とし、入力された行動情報が示すユーザの行動が当該コミュニティに所属するユーザの行動と推定される程度を示す程度情報を出力するよう学習された行動学習モデルを記憶する記憶部と、前記コミュニティに参加していないユーザの行動を示す行動情報を取得する取得部と、前記取得部が取得した行動情報を前記行動学習モデルに入力し、程度情報を出力させる評価部と、前記評価部が出力させた程度情報に基づいて、前記取得部が取得した行動情報のうち前記行動学習モデルに学習させる行動情報を特定する特定部と、前記特定部が特定した行動情報を前記行動学習モデルにさらに学習させる学習部と、を有する。
【0007】
前記記憶部は、事前学習された汎用言語モデルである汎用学習モデルであって、行動情報を入力として、程度情報を出力するよう構成された汎用学習モデルをさらに記憶し、前記行動学習モデルは、前記汎用学習モデルを前記所定のコミュニティに参加する複数のユーザの行動情報に基づいてファインチューニングした学習済みモデルであり、前記評価部は、前記行動情報を前記汎用学習モデルに入力し、程度情報をさらに出力させてもよい。
【0008】
前記記憶部は、複数の異なるコミュニティそれぞれについて、各コミュニティに参加する複数のユーザの行動を示す行動情報を学習した複数の行動学習モデルを記憶し、前記評価部は、前記取得部が取得した行動情報を複数の行動学習モデルそれぞれに入力し、各行動学習モデルが対象とするコミュニティについての程度情報をそれぞれ出力させてもよい。
【0009】
前記取得部は、前記コミュニティに参加していない複数のユーザそれぞれの行動情報を取得し、前記評価部は、前記取得部が取得した複数のユーザそれぞれの行動情報を前記行動学習モデルに入力し、当該行動情報が対象とする複数のユーザそれぞれについての程度情報を出力させ、前記特定部は、前記評価部が出力させた複数のユーザそれぞれについての程度情報に基づいて、前記取得部が取得した行動情報のうち前記行動学習モデルに学習させる行動情報を特定し、前記学習部は、前記特定部が特定した行動情報を前記行動学習モデルにさらに学習させてもよい。
【0010】
前記取得部は、前記コミュニティに参加していないユーザの複数の行動情報を取得し、前記評価部は、前記複数の行動情報を前記行動学習モデルに入力し、当該行動情報それぞれについての程度情報を出力させ、前記特定部は、前記評価部が出力させた前記複数の行動情報それぞれに対応する程度情報に基づいて、前記複数の行動情報のうち前記行動学習モデルに学習させる行動情報を特定し、前記学習部は、前記特定部が特定した行動情報を前記行動学習モデルにさらに学習させてもよい。
(【0011】以降は省略されています)
この特許をJ-PlatPat(特許庁公式サイト)で参照する
関連特許
KDDI株式会社
基地局及び基地局の制御方法
2日前
KDDI株式会社
情報処理装置及び情報処理方法
3日前
KDDI株式会社
情報処理装置及び情報処理方法
4日前
KDDI株式会社
基地局装置およびその通信方法
4日前
KDDI株式会社
情報処理装置及び情報処理方法
3日前
KDDI株式会社
情報処理装置及び情報処理方法
2日前
KDDI株式会社
情報処理装置及び情報処理方法
3日前
KDDI株式会社
制御装置、方法及びプログラム
3日前
KDDI株式会社
情報処理装置、方法及びプログラム
2日前
KDDI株式会社
基地局装置、端末装置及び無線通信方法
2日前
KDDI株式会社
情報処理装置、学習装置及びプログラム
3日前
KDDI株式会社
情報処理装置、情報処理方法及びプログラム
3日前
KDDI株式会社
情報処理装置、情報処理方法及びプログラム
3日前
KDDI株式会社
情報処理装置、情報処理方法及びプログラム
3日前
KDDI株式会社
情報処理装置、情報処理方法及びプログラム
3日前
KDDI株式会社
情報処理装置、情報処理方法及びプログラム
4日前
KDDI株式会社
情報処理装置、情報処理方法及びプログラム
3日前
KDDI株式会社
プログラム、情報処理端末及び情報処理方法
3日前
KDDI株式会社
情報処理装置、情報処理方法及びプログラム
3日前
KDDI株式会社
情報処理装置、情報処理方法及びプログラム
5日前
KDDI株式会社
ネットワーク制御方法、システム及びプログラム
5日前
KDDI株式会社
通知装置、通知方法、通知システム及びプログラム
2日前
KDDI株式会社
基地局、5G移動体通信システム及び基地局の制御方法
4日前
KDDI株式会社
ネットワーク障害情報補正システム、方法及びプログラム
5日前
KDDI株式会社
周波数変換装置、アンテナサイト、および周波数変換方法
4日前
KDDI株式会社
無線システム、無線中継装置、無線端末及び無線中継方法
4日前
KDDI株式会社
ユーザ装置、5G移動体通信システム及びユーザ装置の制御方法
3日前
KDDI株式会社
移動通信ネットワーク、無線デバイス及びコンピュータプログラム
5日前
KDDI株式会社
ユーザ装置、5G移動体通信システム、及びユーザ装置の制御方法
4日前
KDDI株式会社
端末装置、基地局装置、通信システム、制御方法、およびプログラム
2日前
KDDI株式会社
サイバー攻撃影響度評価装置、評価システム、評価方法及びプログラム
4日前
KDDI株式会社
量子コンピュータ制御装置、量子ウォークシステム及び量子コンピュータ
5日前
KDDI株式会社
複数の反射板を制御する基地局装置、制御装置、制御方法、及びプログラム
4日前
KDDI株式会社
RLC-AMにおける不要な送信を防ぐための端末装置、基地局装置、及び制御方法
2日前
KDDI株式会社
セキュリティ鍵の効率的な更新を行うための、端末装置、基地局装置、及び制御方法
2日前
KDDI株式会社
反射板を複数の領域に分けて使用する基地局装置、制御装置、制御方法、及びプログラム
4日前
続きを見る
他の特許を見る