TOP
|
特許
|
意匠
|
商標
特許ウォッチ
Twitter
他の特許を見る
10個以上の画像は省略されています。
公開番号
2025139343
公報種別
公開特許公報(A)
公開日
2025-09-26
出願番号
2024038226
出願日
2024-03-12
発明の名称
内視鏡の操作部及び内視鏡
出願人
富士フイルム株式会社
代理人
個人
,
個人
,
個人
,
個人
,
個人
主分類
A61B
1/00 20060101AFI20250918BHJP(医学または獣医学;衛生学)
要約
【課題】硬度調整操作の操作性を向上することが可能な内視鏡の操作部及び内視鏡を提供する。
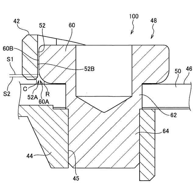
【解決手段】挿入部14の硬度を調整するための硬度調整部材36に連結されたカム機構100は、カム溝52を有するカムリング42と、硬度調整部材36を駆動するプッシュリング44と、ガイド孔50を有するフレーム46と、カム溝52に係合する係合部60、ガイド孔50に差し込まれる差込部62及びプッシュリング44に固定される固定部64を有するカムピン48と、を備え、カムピン48の係合部60の直径をD1とし、差込部62の直径をD2とした場合、D1>D2である。
【選択図】図10
特許請求の範囲
【請求項1】
挿入部の硬度を調整するための硬度調整部材に連結されたカム機構を有する内視鏡の操作部において、
前記カム機構は、
カム溝を有し回動自在なカムリングと、
前記カムリングの回動に伴って前記カムリングの軸方向に移動することにより前記硬度調整部材を駆動する駆動部材と、
前記軸方向に延在して形成されたガイド孔を有するガイド部材と、
前記カム溝に係合する係合部、前記ガイド孔に差し込まれる差込部、及び前記駆動部材に固定される固定部を有するカムピンと、
を備え、
前記カムピンは、前記係合部の直径をD1とし、前記差込部の直径をD2とした場合、D1>D2である、
内視鏡の操作部。
続きを表示(約 720 文字)
【請求項2】
前記D1及び前記D2は、D1/D2≧1.1である、
請求項1に記載の内視鏡の操作部。
【請求項3】
前記カム溝は、前記係合部に対向する第1対向面を有し、
前記第1対向面には、前記ガイド部材側の端部に第1面取り部が設けられる、
請求項1又は2に記載の内視鏡の操作部。
【請求項4】
前記係合部は、前記カム溝に対向する第2対向面を有し、
前記第2対向面には、前記ガイド部材側の端部に第2面取り部が設けられる、
請求項1又は2に記載の内視鏡の操作部。
【請求項5】
前記カム溝は、前記係合部に対向する第1対向面を有し、
前記第1対向面には、前記ガイド部材側の端部に第1面取り部が設けられ、
前記係合部は、前記カム溝に対向する第2対向面を有し、
前記第2対向面には、前記ガイド部材側の端部に第2面取り部が設けられる、
請求項1又は2に記載の内視鏡の操作部。
【請求項6】
前記第2対向面における前記第2面取り部の開始位置は、前記第1対向面における前記第1面取り部の開始位置よりも、前記カムリングの中心軸から離れた位置にある、
請求項5に記載の内視鏡の操作部。
【請求項7】
前記第1面取り部は、C面取り部であり、
前記第2面取り部は、R面取り部である、
請求項6に記載の内視鏡の操作部。
【請求項8】
請求項1又は2に記載の内視鏡の操作部と、
前記挿入部と、
前記硬度調整部材と、
を備える、内視鏡。
発明の詳細な説明
【技術分野】
【0001】
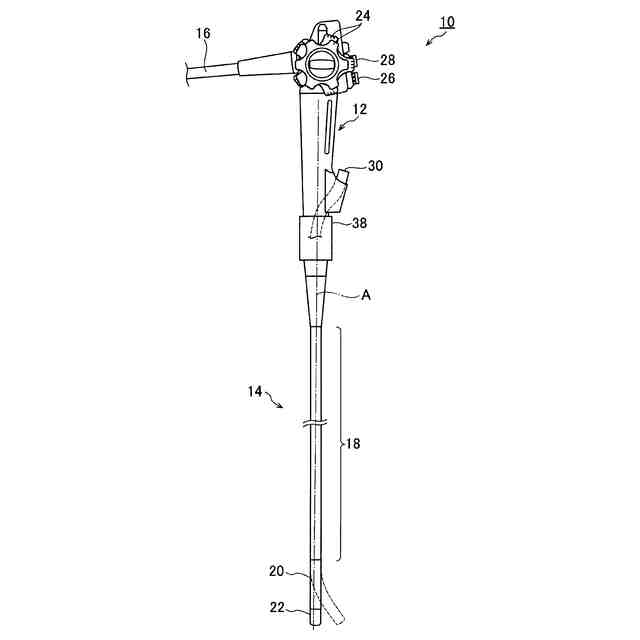
本発明は内視鏡の操作部及び内視鏡に係り、特に、挿入部の硬度を調整するための硬度調整部材に連結されたカム機構を有する内視鏡の操作部、及びその操作部を備えた内視鏡に関する。
続きを表示(約 1,300 文字)
【背景技術】
【0002】
医療分野において、内視鏡を利用した医療診断が広く行われている。内視鏡は、一般に、術者が把持して操作する手元操作部と、手元操作部に連設されて体腔内等へ挿入される挿入部と、を備えている。
【0003】
内視鏡の挿入部は、複雑に屈曲した挿入経路内に挿入されるため、可撓性を有する軟性部を有している。また、挿入部の先端側の方向を定めたり、挿入部の形状を固定したりするために、軟性部の硬度を調整可能な内視鏡も知られている(例えば特許文献1)。
【0004】
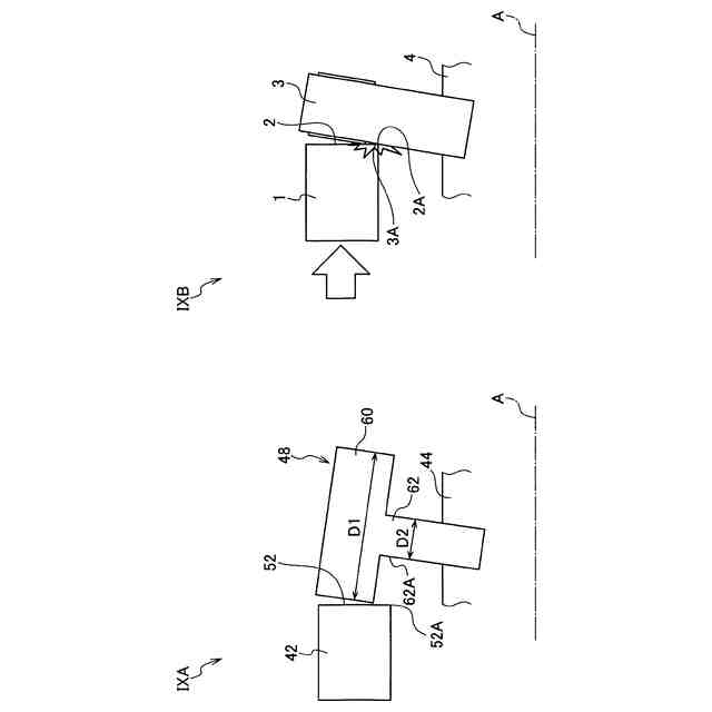
特許文献1の内視鏡は、軟性部の硬度を調整するためのコイルに連結されたカム機構を有している。このカム機構は、カム溝を有するカムリングと、コイルに連結されたプッシュリングと、直線溝を有するフレームと、ピンとを有している。このピンは、カムリングのカム溝に係合される部分と、フレームの直進溝に挿入される部分と、プッシュリングに固定される部分とを有している。
【0005】
このようなカム機構において、カムリングを回動操作した場合、カムリングのカム溝とフレームの直線溝にガイドされてピンが直進移動することにより、ピンに固定されたプッシュリングが前進移動する。これにより、コイルが圧縮されて軟性部が硬化する。
【先行技術文献】
【特許文献】
【0006】
特開2016-67529号公報
【発明の概要】
【発明が解決しようとする課題】
【0007】
しかしながら、特許文献1のようにカム機構によって硬度を調整する内視鏡は、硬度調整操作の操作性が悪くなる場合がある。
【0008】
すなわち、カムリングを回動させてコイルを圧縮した場合、コイルの反力がプッシュリングを介してピンに伝達される。この反力によってピンが傾斜した場合には、ピンの外周面がカムリングのカム溝の端部に押し付けられてしまうので、その際に生じる摩擦抵抗によって硬度調整操作の操作性が悪化するという問題がある。
【0009】
本発明はこのような事情に鑑みてなされたもので、硬度調整操作の操作性を向上することが可能な内視鏡の操作部及び内視鏡を提供することを目的とする。
【課題を解決するための手段】
【0010】
本発明の第1の態様に係る内視鏡の操作部は、挿入部の硬度を調整するための硬度調整部材に連結されたカム機構を有する内視鏡の操作部において、カム機構は、カム溝を有し回動自在なカムリングと、カムリングの回動に伴ってカムリングの軸方向に移動することにより硬度調整部材を駆動する駆動部材と、軸方向に延在して形成されたガイド孔を有するガイド部材と、カム溝に係合する係合部、ガイド孔に差し込まれる差込部、及び駆動部材に固定される固定部を有するカムピンと、を備え、カムピンは、係合部の直径をD1とし、差込部の直径をD2とした場合、D1>D2である。
(【0011】以降は省略されています)
この特許をJ-PlatPat(特許庁公式サイト)で参照する
関連特許
富士フイルム株式会社
組成物、硬化物および光学部材
2日前
富士フイルム株式会社
磁気共鳴撮像装置及び中心周波数の補正方法
2日前
富士フイルム株式会社
画像処理装置、画像処理方法、及び画像処理プログラム
2日前
富士フイルム株式会社
インクジェット記録方法、メラミン化粧板の製造方法、及びメラミン化粧板
2日前
富士フイルム株式会社
画像処理装置、方法およびプログラム、並びに学習装置、方法およびプログラム
2日前
富士フイルム株式会社
果菜植物の栽培方法、果菜植物の栽培装置及びトマト植物
2日前
個人
健康器具
7か月前
個人
歯茎みが品
8か月前
個人
短下肢装具
2か月前
個人
鼾防止用具
7か月前
個人
脈波測定方法
7か月前
個人
脈波測定方法
7か月前
個人
前腕誘導装置
2か月前
個人
白内障治療法
6か月前
個人
嚥下鍛錬装置
3か月前
個人
導電香
8か月前
個人
洗井間専家。
6か月前
個人
マッサージ機
8か月前
個人
汚れ防止シート
6日前
個人
ホバーアイロン
5か月前
個人
矯正椅子
4か月前
個人
アイマスク装置
1か月前
個人
歯の修復用材料
3か月前
個人
バッグ式オムツ
3か月前
個人
胸骨圧迫補助具
1か月前
個人
片足歩行支援具
8か月前
個人
クリップ
8か月前
三生医薬株式会社
錠剤
6か月前
個人
歯の保護用シール
4か月前
個人
陣痛緩和具
3か月前
個人
車椅子持ち上げ器
6か月前
個人
口内洗浄具
7か月前
個人
湿布連続貼り機。
1か月前
個人
シャンプー
5か月前
個人
哺乳瓶冷まし容器
2か月前
個人
服薬支援装置
6か月前
続きを見る
他の特許を見る