TOP
|
特許
|
意匠
|
商標
特許ウォッチ
Twitter
他の特許を見る
10個以上の画像は省略されています。
公開番号
2025021848
公報種別
公開特許公報(A)
公開日
2025-02-14
出願番号
2023125855
出願日
2023-08-01
発明の名称
口内洗浄具
出願人
個人
代理人
個人
主分類
A61C
17/024 20060101AFI20250206BHJP(医学または獣医学;衛生学)
要約
【課題】自由自在な水圧を保ちながら口腔内洗浄を行え、構造が単純であり、かつ清掃が簡単に行える口腔内洗浄具を提供する。
【解決手段】水道ホースHと脱着可能なホース篏合部又はシャワーヘッドと互換性があるシャワーヘッドアダプタ部と、ホース篏合部と着脱可能な導水本体部と、導水本体部と着脱可能な洗浄水射出部と、を備え、洗浄水射出部は、角度20度~160度で緩やかに、又は角を有しながら湾曲し、導水本体部着脱側の他端に備えられた水を射出する洗浄水射出吹出部133の直径は1mm~3mmである、ことを特徴とする口腔内洗浄具1によって、高い水圧を保ちながら口腔内洗浄を行うことが可能となり、構造が単純であり、かつ清掃が簡単に行える洗浄具の提供ができる。
【選択図】図11
特許請求の範囲
【請求項1】
水道ホースと脱着可能なホース篏合部又はシャワーヘッドと互換性があるシャワーヘッドアダプタ部と、
前記ホース篏合部と着脱可能な導水本体部と、
前記導水本体部と着脱可能な洗浄水射出部と、
を備え、
前記洗浄水射出部は、角度20度~160度で緩やかに、又は角を有しながら湾曲し、前記導水本体部着脱側の他端に備えられた水を射出する洗浄水射出吹出部の直径は0.5mm~3mmである、
ことを特徴とする口腔内洗浄具。
続きを表示(約 690 文字)
【請求項2】
水道ホースと脱着可能なホース篏合部又はシャワーヘッドと互換性があるシャワーヘッドアダプタ部と、
前記ホース篏合部と着脱可能な導水本体部と、
前記導水本体部と着脱可能な洗浄水射出部と、
を備え、
前記洗浄水射出部は、湾曲せず、ストレート形状であり、前記導水本体部着脱側の他端に備えられた水を射出する洗浄水射出吹出部の直径は0.5mm~3mmである、
ことを特徴とする口腔内洗浄具。
【請求項3】
請求項1又は請求項2の口腔内洗浄具であって、
前記ホース篏合部の直径は10mm~20mmである、
ことを特徴とする口腔内洗浄具。
【請求項4】
請求項1又は請求項2の口腔内洗浄具であって、
前記洗浄水射出部には、射出水に薬液を注入することを目的とする直径1mm~3mmの薬液注入部を備える、
ことを特徴とする口腔内洗浄具。
【請求項5】
請求項1又は請求項2の口腔内洗浄具であって、
前記ホース篏合部及び前記導水本体部は合成樹脂から成る、
ことを特徴とする口腔内洗浄具。
【請求項6】
請求項1又は請求項2の口腔内洗浄具であって、
前記導水本体部の表面にはメッシュ状の加工を施す滑り止め部を備える、
ことを特徴とする口腔内洗浄具。
【請求項7】
請求項1又は請求項2の口腔内洗浄具であって、
前記水道ホースは1.5m以上の長さを備える、
ことを特徴とする口腔内洗浄具。
発明の詳細な説明
【背景技術】
【0001】
本発明は、口腔内洗浄器、特に歯と歯の隙間や義歯と歯肉との隙間に挟まった残渣の洗浄に適した口腔内洗浄器に関する。
続きを表示(約 960 文字)
【0002】
従来より歯と歯の隙間や義歯と歯肉との隙間に挟まった残渣の洗浄器は、多数の発明がなされている。
【先行技術文献】
【特許文献】
【0003】
特開2000-157563号公報
実用新案登録3153720号
【発明の概要】
【発明が解決しようとする課題】
【0004】
例えば、特許文献1記載のの発明は、水流の方向を変換部しながら、水流を一本の回転流に生成しながら口腔内洗浄する洗浄具である。
【0005】
しかし、当該発明は水流部を生成する構造が複雑であり、各部の脱着できないため、清掃も困難である。
【0006】
また、特許文献2の考案では、手動ポンプを用いて構造を単純化させている。
【0007】
しかし、当該考案は水圧が低く、水圧によって歯と歯の隙間や義歯と歯肉との隙間に挟まった残渣の洗浄が困難である。
【課題を解決するための手段】
【0008】
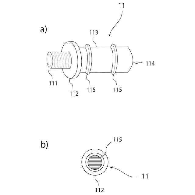
前記課題を解決するために、請求項1の発明は、水道ホースと脱着可能なホース篏合部又はシャワーヘッドと互換性があるシャワーヘッドアダプタ部と、前記ホース篏合部と着脱可能な導水本体部と、前記導水本体部と着脱可能な洗浄水射出部と、を備え、前記洗浄水射出部は、角度20度~160度で緩やかに、又は角を有しながら湾曲し、前記導水本体部着脱側の他端に備えられた水を射出する孔部の直径は0.5mm~3mmであることを特徴としている。
【0009】
請求項4の発明は、請求項1の口腔内洗浄具であって、前記洗浄水射出部には、水流に薬液を注入することを目的とする直径0.5mm~3mmの薬液注入口部を備えることを特徴としている。
【発明の効果】
【0010】
請求項1の発明によれば、自由自在な水圧を保ちながら口腔内洗浄を行うことが可能となり、構造が単純であり、かつ清掃が簡単に行う洗浄具の提供ができる。また、温水と接続される水道蛇口や、市販のシャワーヘッドアダプタなどに接続も可能となるため、冬季の使用時に温水を導入することも容易となる。
(【0011】以降は省略されています)
この特許をJ-PlatPat(特許庁公式サイト)で参照する
関連特許
個人
貼付剤
4日前
個人
短下肢装具
3か月前
個人
嚥下鍛錬装置
3か月前
個人
前腕誘導装置
3か月前
個人
排尿補助器具
17日前
個人
ウォート指圧法
15日前
個人
矯正椅子
5か月前
個人
バッグ式オムツ
4か月前
個人
ホバーアイロン
6か月前
個人
腰ベルト
7日前
個人
汚れ防止シート
1か月前
個人
胸骨圧迫補助具
1か月前
個人
アイマスク装置
2か月前
個人
歯の修復用材料
4か月前
個人
湿布連続貼り機。
2か月前
個人
シャンプー
6か月前
個人
陣痛緩和具
3か月前
個人
歯の保護用シール
5か月前
個人
哺乳瓶冷まし容器
3か月前
個人
エア誘導コルセット
2か月前
株式会社大野
骨壷
4か月前
株式会社八光
剥離吸引管
5か月前
個人
治療用酸化防御装置
1か月前
個人
性行為補助具
3か月前
株式会社コーセー
化粧料
14日前
株式会社ニデック
眼科装置
1か月前
個人
シリンダ式歩行補助具
3か月前
株式会社ニデック
検眼装置
3か月前
個人
手指運動ツール
2か月前
株式会社松風
口腔用組成物
3か月前
株式会社ニデック
眼科装置
4か月前
株式会社コロナ
サウナ装置
6か月前
個人
高気圧環境装置
4か月前
個人
精力増強キット
1か月前
株式会社ダリヤ
毛髪化粧料
1か月前
株式会社GSユアサ
歩行器
5か月前
続きを見る
他の特許を見る