TOP
|
特許
|
意匠
|
商標
特許ウォッチ
Twitter
他の特許を見る
10個以上の画像は省略されています。
公開番号
2025139771
公報種別
公開特許公報(A)
公開日
2025-09-29
出願番号
2024038791
出願日
2024-03-13
発明の名称
エレベータのかご
出願人
三菱電機ビルソリューションズ株式会社
,
三菱電機株式会社
代理人
個人
,
個人
,
個人
主分類
B66B
11/02 20060101AFI20250919BHJP(巻上装置;揚重装置;牽引装置)
要約
【課題】敷居の高さを簡易な構成で無段階調整できるエレベータのかごを提供することを目的とする。
【解決手段】エレベータのかご1は、長穴20が形成された敷居受梁固定部21を有するかご床10と、かご床10に支持される敷居受梁11と、敷居受梁11に支持される敷居12と、敷居受梁固定部21と敷居受梁11とを長穴20を介して締結する第一の締結部材30と、を備え、長穴20の直線部の少なくとも一部は鉛直方向に対して傾斜している。
【選択図】図6
特許請求の範囲
【請求項1】
少なくとも1つの長穴が形成された敷居受梁固定部を有するかご床と、
前記かご床に支持される少なくとも1つの敷居受梁と、
かごドアを摺動する摺動溝を有し前記敷居受梁に支持される敷居と、
前記敷居受梁固定部と前記敷居受梁とを前記長穴を介して締結する第一の締結部材と、
を備え、
前記長穴の直線部の少なくとも一部は鉛直方向に対して傾斜している
エレベータのかご。
続きを表示(約 680 文字)
【請求項2】
前記敷居は前記敷居の長手方向に延びる溝を有し、
前記敷居受梁と前記敷居とを溝を介して締結する第二の締結部材を備える
請求項1に記載のエレベータのかご。
【請求項3】
前記敷居受梁固定部は第一の方向に傾斜する前記長穴と前記第一の方向とは反対方向である第二の方向に傾斜する前記長穴とが形成されている
請求項1又は2に記載のエレベータのかご。
【請求項4】
前記第一の方向に傾斜する前記長穴と前記第二の方向に傾斜する前記長穴とが前記敷居受梁固定部の長手方向に沿って1つずつ交互に形成されている
請求項3に記載のエレベータのかご。
【請求項5】
前記第一の方向に傾斜する前記長穴及び前記第二の方向に傾斜する前記長穴それぞれ1つずつに対して前記敷居受梁を1つずつ備える
請求項4に記載のエレベータのかご。
【請求項6】
前記第一の方向に傾斜する前記長穴と前記第二の方向に傾斜する前記長穴とが前記敷居受梁固定部の長手方向に沿って複数ずつ交互に形成されている
請求項3に記載のエレベータのかご。
【請求項7】
複数ずつ交互に形成された前記第一の方向に傾斜する前記長穴及び前記第二の方向に傾斜する前記長穴それぞれ複数ずつに対して前記敷居受梁を1つずつ備える
請求項6に記載のエレベータのかご。
【請求項8】
前記第一の締結部材は角根ボルトである
請求項1又は2に記載のエレベータのかご。
発明の詳細な説明
【技術分野】
【0001】
本開示はエレベータのかごに関する。
続きを表示(約 1,500 文字)
【背景技術】
【0002】
従来のエレベータ装置は、かご床における床仕上げ材の厚みが変化した場合に前側板の下部をかご床に合わせて支持できるようにするために、かご敷居の床側にその水平部分をかご敷居の上面と合わせて配置したL字状のブラケットを備える(例えば、特許文献1)。
【先行技術文献】
【特許文献】
【0003】
特開2016-40190号公報
【発明の概要】
【発明が解決しようとする課題】
【0004】
従来のエレベータのかごでは、敷居の高さを調整するために敷居受け調整ライナを用いていた。このため、敷居受け調整ライナを別途用意する手間が生じるとともに、この敷居受け調整ライナの厚み単位でしか敷居の高さを調整できないという課題があった。
【0005】
本開示は、上記のような問題点を解決するためになされたものであり、敷居の高さを簡易な構成で無段階調整できるエレベータのかごを提供することを目的とする。
【課題を解決するための手段】
【0006】
本開示に係るエレベータのかごは、長穴が形成された敷居受梁固定部を有するかご床と、かご床に支持される敷居受梁と、かごドアを摺動する摺動溝を有し敷居受梁に支持される敷居と、敷居受梁固定部と敷居受梁とを長穴を介して締結する第一の締結部材と、を備え、長穴の直線部の少なくとも一部は鉛直方向に対して傾斜している。
【発明の効果】
【0007】
本開示によれば、かご敷居の高さを簡易な構成で無段階調整できる。
【図面の簡単な説明】
【0008】
実施の形態1におけるエレベータのかごを示す概略図である。
実施の形態1における敷居周辺を正面からみた図である。
実施の形態1における敷居周辺を上方からみた図である。
図2のA-A断面図である。
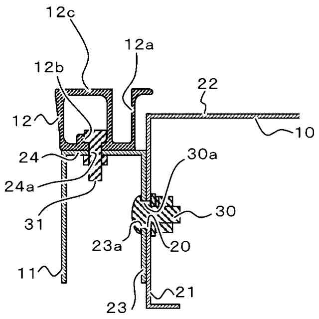
実施の形態1における長穴の構造を説明する図である。
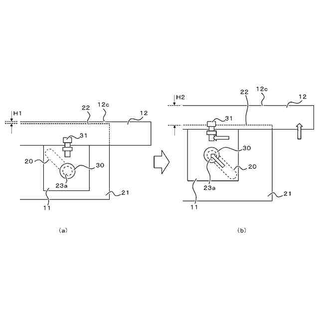
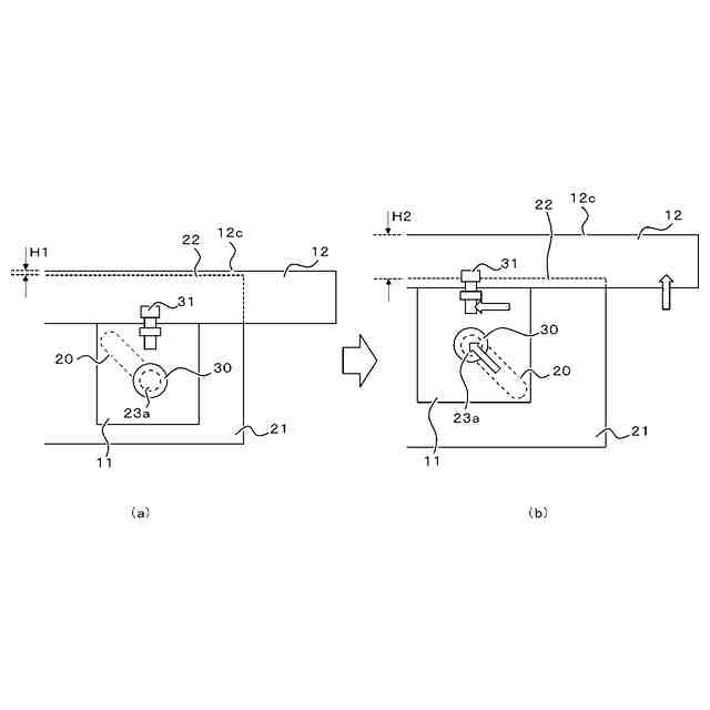
実施の形態1における敷居周辺の動作を正面から説明する図であり、図6(a)は敷居が下方にある状態を示し、図6(b)は敷居が上方にある状態を示す。
実施の形態1における敷居周辺の動作を側方から説明する図であり、図7(a)は敷居が下方にある状態を示し、図7(b)は敷居が上方にある状態を示す。
実施の形態2における敷居周辺を正面からみた図である。
実施の形態2における敷居周辺を上方からみた図である。
実施の形態3における敷居周辺を正面からみた図である。
実施の形態3における敷居周辺を上方からみた図である。
【発明を実施するための形態】
【0009】
実施の形態1.
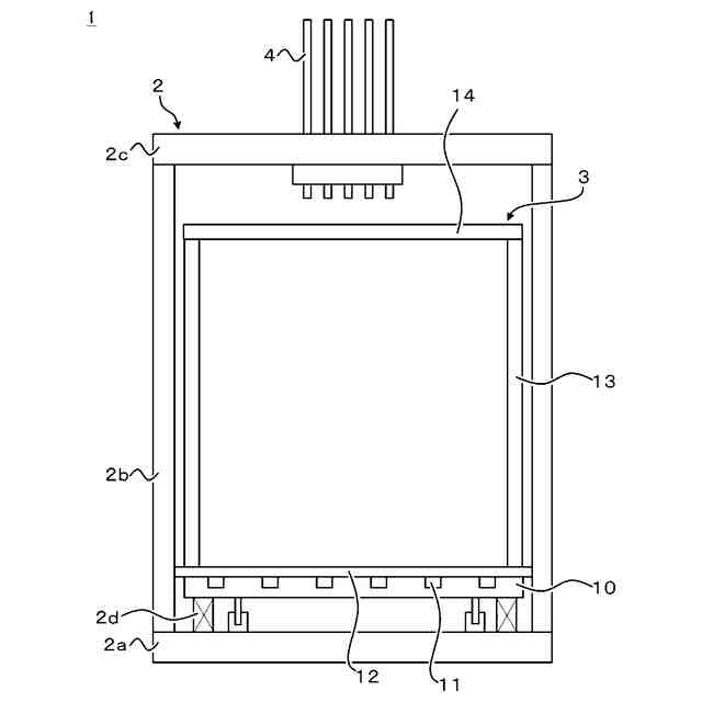
実施の形態1におけるエレベータのかご1の構成を説明する。図1は実施の形態1におけるエレベータのかご1を示す概略図である。
【0010】
エレベータのかご1は、かご枠2及びかご室3を有する。かご枠2は、かご室3を支持する。かご枠2は、下枠2aと、一対の縦枠2b、上枠2cと、とを有する。下枠2aには、この下枠2aに設けられた防振ゴム2dを介してかご室3が配置されている。下枠2aはかご室3を下方から受けている。一対の縦枠2bはそれぞれかご室3の高さ方向(図1においては上下方向)に沿って設けられている。一対の縦枠2bそれぞれの下端部は下枠2aに固定されている。一対の縦枠2bそれぞれの上端部は上枠2cに固定されている。一対の縦枠2bは下枠2a及び上枠2cを繋いでいる。
(【0011】以降は省略されています)
この特許をJ-PlatPat(特許庁公式サイト)で参照する
関連特許
個人
自走手摺
2か月前
ユニパルス株式会社
吊具
3か月前
個人
海上コンテナ昇降装置
9か月前
ユニパルス株式会社
吊具装置
10か月前
ユニパルス株式会社
荷役装置
8か月前
ユニパルス株式会社
リフト装置
4か月前
株式会社豊田自動織機
荷役車両
8か月前
株式会社豊田自動織機
産業車両
20日前
株式会社豊田自動織機
産業車両
10か月前
水戸工業株式会社
吊り具
5か月前
株式会社いうら
車椅子用昇降機
2か月前
株式会社豊田自動織機
荷役車両
9か月前
ユニパルス株式会社
荷役助力装置
3か月前
愛知製鋼株式会社
受け架台
1か月前
大栄産業株式会社
クランプ
4か月前
個人
垂直自動搬送機
21日前
ユニパルス株式会社
荷役助力装置
5か月前
ユニパルス株式会社
荷役助力装置
2か月前
株式会社伊藤
滑り止め装置
1か月前
白山工業株式会社
バランサ
6か月前
株式会社大林組
安全支援システム
1か月前
株式会社キトー
タイヤ用吊具
5か月前
個人
建築部材の吊り上げ装置
11か月前
株式会社ユピテル
システム等
5か月前
大和ハウス工業株式会社
吊上具
1か月前
株式会社豊田自動織機
フォークリフト
13日前
フジテック株式会社
エレベータ
8か月前
新英運輸株式会社
自動車用台車
5か月前
株式会社豊田自動織機
フォークリフト
7か月前
中国計量大学
電子安全クランプ
2日前
株式会社五十鈴製作所
搬送装置
4か月前
有限会社サエキ
玉掛用器具
9か月前
山崎産業株式会社
手摺り拭用器具
22日前
白山工業株式会社
腕重量補償機構
11か月前
中坪造園有限会社
吊り荷降ろし具
4か月前
株式会社タダノ
高所作業車
11か月前
続きを見る
他の特許を見る