TOP
|
特許
|
意匠
|
商標
特許ウォッチ
Twitter
他の特許を見る
公開番号
2025139905
公報種別
公開特許公報(A)
公開日
2025-09-29
出願番号
2024038989
出願日
2024-03-13
発明の名称
燃料電池システム
出願人
大阪瓦斯株式会社
代理人
弁理士法人R&C
主分類
H01M
8/04 20160101AFI20250919BHJP(基本的電気素子)
要約
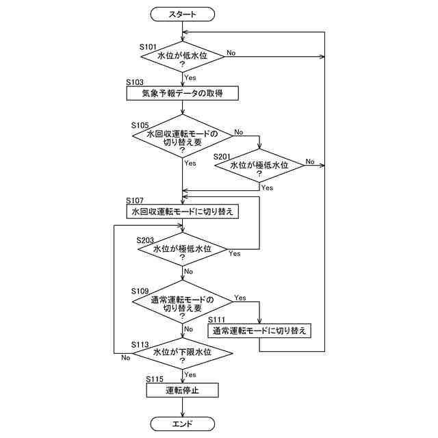
【課題】利用者の利便性の低下を抑制することができる燃料電池システムを提供する。
【解決手段】燃料電池システム100は、燃料電池セルCから排出されるオフガスを燃料させる燃焼部15と、燃焼部15から排出される燃焼排ガスに含まれる水を凝縮して回収する凝縮回収部51と、凝縮回収部51で回収された水を貯留する水タンク21と、水タンク21に貯留された水の水量を測定する水量測定部23と、制御部10とを備え、制御部10は、水量測定部23によって測定される水量が第1水量閾値以下であるか否かを判定し、水量が第1水量閾値以下であると判定すると、水タンク21が設置される設置地域における将来の気象を示す気象予報データを取得し、気象予報データ及び通常運転モードにおける過去の運転実績のデータに基づいて生成される水収支予測データに基づいて、通常運転モードから水回収運転モードへの運転モードの切り替えの要否を判定する。
【選択図】図1
特許請求の範囲
【請求項1】
原燃料を水蒸気改質して燃料ガスを生成する改質部と、
前記燃料ガスと酸化剤ガスとに基づいて発電する燃料電池セルと、
前記燃料電池セルから排出されるオフガスを燃料させる燃焼部と、
前記燃焼部から排出される燃焼排ガスに含まれる水を凝縮して回収する凝縮回収部と、
前記凝縮回収部で回収された水を貯留する水タンクと、
前記水タンクに貯留された水の水量を測定する水量測定部と、
前記水蒸気改質で使用される水を、前記水タンクから前記改質部へ供給する水供給部と、
運転モードとして、通常の運転モードで運転する通常運転モードと前記通常運転モードよりも水の回収量が多い運転モードで運転する水回収運転モードとを切り替え可能に構成される制御部と、
を備え、
前記制御部は、前記水量測定部によって測定される前記水量が第1水量閾値以下であるか否かを判定し、前記水量が前記第1水量閾値以下であると判定すると、前記水タンクが設置される設置地域における将来の気象を示す気象予報データ及び前記通常運転モードにおける過去の運転実績のデータに基づいて生成される水収支予測データに基づいて、前記通常運転モードから前記水回収運転モードへの前記運転モードの切り替えの要否を判定する燃料電池システム。
続きを表示(約 910 文字)
【請求項2】
前記改質部に供給される前記原燃料の量を調整する原燃料供給調整部を更に備え、
前記制御部は、前記水回収運転モードにおいて、前記原燃料供給調整部の動作を制御することにより、前記改質部に供給される前記原燃料の量を前記通常運転モードよりも減少させる、請求項1に記載の燃料電池システム。
【請求項3】
前記気象予報データは、前記設置地域の気温を示す気温データを含み、
前記制御部は、所定期間における前記気温データに対応する前記水収支予測データに基づいて、前記所定期間における前記凝縮回収部によって凝縮されて前記水タンクに供給される水の量が前記水タンクから前記改質部に供給される水の量以上となるか否かにより水収支が成立するか否かを判定し、前記水収支が成立するか否かに基づいて、前記運転モードの切り替えの要否を判定する、請求項1又は2に記載の燃料電池システム。
【請求項4】
前記制御部は、前記通常運転モードの実行中、前記水収支が成立しないと判定すると、前記運転モードを前記通常運転モードから前記水回収運転モードに切り替え、前記水収支が成立すると判定すると、前記運転モードを前記通常運転モードに維持する、請求項3に記載の燃料電池システム。
【請求項5】
前記制御部は、前記水回収運転モードの実行中、前記水収支が成立すると判定すると、前記運転モードを前記水回収運転モードから前記通常運転モードに切り替え、前記水収支が成立しないと判定すると、前記運転モードを前記水回収運転モードに維持する、請求項4に記載の燃料電池システム。
【請求項6】
前記制御部は、前記水量が、前記第1水量閾値よりも小さい値に設定された第2水量閾値以下であるか否かを判定し、
前記水量が前記第2水量閾値以下であると判定すると、前記気象予報データに関わらず、前記運転モードを前記通常運転モードから前記水回収運転モードに切り替え、
前記水量が前記第2水量閾値以下である間、前記運転モードを前記水回収運転モードに維持する、請求項1に記載の燃料電池システム。
発明の詳細な説明
【技術分野】
【0001】
本発明は、燃料電池システムに関する。
続きを表示(約 1,800 文字)
【背景技術】
【0002】
特許文献1には、原燃料を水蒸気改質する改質部と、改質部に送給するための水を貯める水回収タンクとを備え、水回収タンクの水の水位が低水位レベルまで低下すると、通常運転モードの運転から、発電出力を抑えて水を通常運転モードよりも多く回収できる水回収運転モードの運転に切り替えられる固体酸化物形燃料電池システムが開示されている。
【先行技術文献】
【特許文献】
【0003】
特開2010-277973号公報
【発明の概要】
【発明が解決しようとする課題】
【0004】
特許文献1に開示の固体酸化物形燃料電池システムの水回収運転モードでは、例えば夏季といった気温が比較的高い時期では、水回収運転モードの作動回数、あるいは、水回収運転モードの作動時間が増大し、利用者の利便性が低下するおそれがある。
【0005】
本発明は、上記の課題に鑑みてなされたものであり、その目的は、利用者の利便性の低下を抑制することができる燃料電池システムを提供する点にある。
【課題を解決するための手段】
【0006】
上記目的を達成するための本発明に係る燃料電池システムの特徴構成は、
原燃料を水蒸気改質して燃料ガスを生成する改質部と、
前記燃料ガスと酸化剤ガスとに基づいて発電する燃料電池セルと、
前記燃料電池セルから排出されるオフガスを燃料させる燃焼部と、
前記燃焼部から排出される燃焼排ガスに含まれる水を凝縮して回収する凝縮回収部と、
前記凝縮回収部で回収された水を貯留する水タンクと、
前記水タンクに貯留された水の水量を測定する水量測定部と、
前記水蒸気改質で使用される水を、前記水タンクから前記改質部へ供給する水供給部と、
運転モードとして、通常の運転モードで運転する通常運転モードと前記通常運転モードよりも水の回収量が多い運転モードで運転する水回収運転モードとを切り替え可能に構成される制御部と、
を備え、
前記制御部は、前記水量測定部によって測定される前記水量が第1水量閾値以下であるか否かを判定し、前記水量が前記第1水量閾値以下であると判定すると、前記水タンクが設置される設置地域における将来の気象を示す気象予報データ及び前記通常運転モードにおける過去の運転実績のデータに基づいて生成される水収支予測データに基づいて、前記通常運転モードから前記水回収運転モードへの前記運転モードの切り替えの要否を判定する点にある。
【0007】
上記特徴構成によれば、水タンクに貯留された水の水量が第1水量閾値以下であると判定すると、気象予報データ及び水収支予測データに基づいて運転モードの切り替えの要否を判定するため、水回収運転モードの作動回数及び水回収運転モードの作動時間の増大を抑制することができ、利用者の利便性の低下を抑制することができる。
【0008】
本発明に係る燃料電池システムの別の特徴構成は、
前記改質部に供給される前記原燃料の量を調整する原燃料供給調整部を更に備え、
前記制御部は、前記水回収運転モードにおいて、前記原燃料供給調整部の動作を制御することにより、前記改質部に供給される前記原燃料の量を前記通常運転モードよりも減少させる点にある。
【0009】
上記特徴構成によれば、水回収運転モードにおいて、改質部に供給される原燃料の量が通常運転モードよりも減少するため、燃料電池システムの発電量が抑制される。これにより、水の回収量を増大させることができる。
【0010】
本発明に係る燃料電池システムの更に別の特徴構成は、
前記気象予報データは、前記設置地域の気温を示す気温データを含み、
前記制御部は、所定期間における前記気温データに対応する前記水収支予測データに基づいて、前記所定期間における前記凝縮回収部によって凝縮されて前記水タンクに供給される水の量が前記水タンクから前記改質部に供給される水の量以上となるか否かにより水収支が成立するか否かを判定し、前記水収支が成立するか否かに基づいて、前記運転モードの切り替えの要否を判定する点にある。
(【0011】以降は省略されています)
この特許をJ-PlatPat(特許庁公式サイト)で参照する
関連特許
大阪瓦斯株式会社
給湯装置
3日前
大阪瓦斯株式会社
蓄電装置
1か月前
大阪瓦斯株式会社
ガスコンロ
3日前
大阪瓦斯株式会社
加熱調理器
1か月前
大阪瓦斯株式会社
衣類乾燥機
1か月前
大阪瓦斯株式会社
衣類乾燥機
1か月前
大阪瓦斯株式会社
衣類乾燥機
1か月前
大阪瓦斯株式会社
蓄電制御装置
7日前
大阪瓦斯株式会社
通信システム
2か月前
大阪瓦斯株式会社
鮮度維持装置
13日前
大阪瓦斯株式会社
地中給電設備
13日前
大阪瓦斯株式会社
燃料電池装置
13日前
大阪瓦斯株式会社
住宅設備機器
1か月前
大阪瓦斯株式会社
異常診断装置
14日前
大阪瓦斯株式会社
異常診断装置
14日前
大阪瓦斯株式会社
異常診断装置
14日前
大阪瓦斯株式会社
異常診断装置
14日前
大阪瓦斯株式会社
異常診断装置
14日前
大阪瓦斯株式会社
異常診断装置
14日前
大阪瓦斯株式会社
異常診断装置
14日前
大阪瓦斯株式会社
異常診断装置
14日前
大阪瓦斯株式会社
異常診断装置
14日前
大阪瓦斯株式会社
熱供給システム
3日前
大阪瓦斯株式会社
放射冷却式装置
3か月前
大阪瓦斯株式会社
蓄電池管理装置
7日前
大阪瓦斯株式会社
燃料電池システム
1か月前
大阪瓦斯株式会社
燃料電池システム
14日前
大阪瓦斯株式会社
燃料電池システム
7日前
大阪瓦斯株式会社
樹脂積層フィルム
24日前
大阪瓦斯株式会社
燃料電池システム
1日前
大阪瓦斯株式会社
燃料電池システム
1日前
大阪瓦斯株式会社
燃料電池システム
1日前
大阪瓦斯株式会社
燃料電池システム
1日前
大阪瓦斯株式会社
燃料電池システム
1日前
大阪瓦斯株式会社
燃料電池システム
1日前
大阪瓦斯株式会社
燃料電池システム
1日前
続きを見る
他の特許を見る