TOP
|
特許
|
意匠
|
商標
特許ウォッチ
Twitter
他の特許を見る
公開番号
2025142734
公報種別
公開特許公報(A)
公開日
2025-10-01
出願番号
2024042255
出願日
2024-03-18
発明の名称
燃料電池システム
出願人
大阪瓦斯株式会社
代理人
弁理士法人R&C
主分類
H01M
8/04302 20160101AFI20250924BHJP(基本的電気素子)
要約
【課題】起動工程において、燃料電池の温度を可能な限り長時間かけて緩やかに上昇させることが可能な燃料電池システムを提供する。
【解決手段】燃料電池システムは、施設に設置されて電力を出力可能な燃料電池1と、燃料電池1に供給される燃料ガスの量、空気の量、及び水の量を制御する運転制御部Cと、を備える。運転制御部Cは、燃料電池1の起動工程の開始前又は起動工程の途中において、出力減要請及び系統異常情報のうち少なくとも1つを受け取ったときに、燃料電池1の温度を通常昇温処理に要する時間よりも長時間かけて緩やかに上昇させる長時間昇温処理を実行した後に電力が出力可能になるように構成されている。
【選択図】図2
特許請求の範囲
【請求項1】
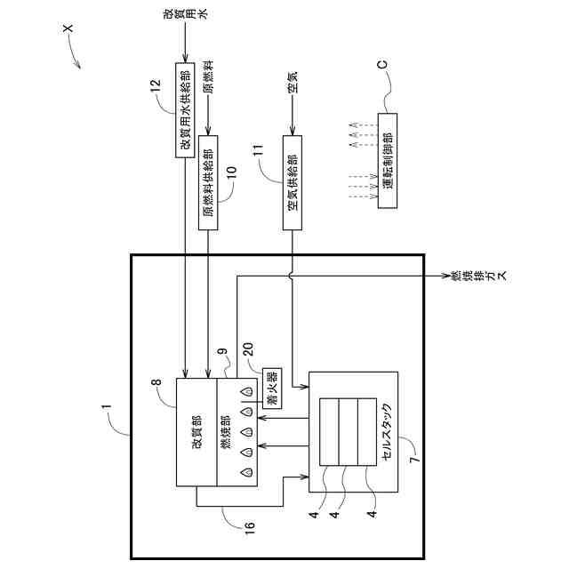
施設に設置されて電力を出力可能な燃料電池と、前記燃料電池に供給される燃料ガスの量、空気の量、及び水の量を制御する運転制御部と、を備える燃料電池システムであって、
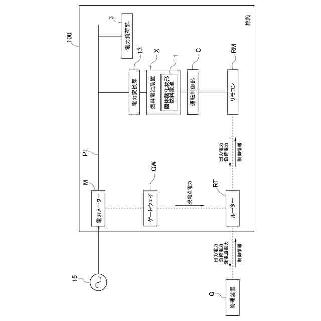
前記燃料電池は、運転により発生した直流電力を電力変換部により交流電力に変換して電力負荷部に供給可能で、且つ、運転により発生した前記直流電力を前記電力変換部により前記交流電力に変換して電力系統に供給可能な状態、及び前記電力系統から前記電力負荷部に電力供給可能な状態で前記電力系統と連系されており、
前記運転制御部は、前記燃料電池の起動工程の開始前又は前記起動工程の途中において、出力減要請及び系統異常情報のうち少なくとも1つを受け取ったときに、前記燃料電池の温度を通常昇温処理に要する時間よりも長時間かけて緩やかに上昇させる長時間昇温処理を実行した後に前記電力が出力可能になるように構成されている燃料電池システム。
続きを表示(約 200 文字)
【請求項2】
前記運転制御部は、前記長時間昇温処理においては、前記通常昇温処理のときに前記燃料電池に供給される前記燃料ガスの量及び前記空気の量に対し、前記燃料ガスの量を減少させると共に前記空気の量を増加させる請求項1に記載の燃料電池システム。
【請求項3】
前記燃料電池は、出力する前記電力が低下すると、発電効率が低下すると共に耐久性が低下する請求項1又は2に記載の燃料電池システム。
発明の詳細な説明
【技術分野】
【0001】
本発明は、電力系統に連系された燃料電池システムに関する。
続きを表示(約 2,100 文字)
【背景技術】
【0002】
従来、商用系統(電力系統)に連系された燃料電池を備えた燃料電池システムが知られている(例えば、特許文献1参照)。
【0003】
特許文献1には、施設に配置された燃料電池及び運転制御部、並びに管理装置を備えた燃料電池システムが開示されている。該燃料電池システムの燃料電池は、運転により発生した直流電力を電力変換部により交流電力に変換して施設内の電力負荷部に供給可能である。また燃料電池は、運転により発生した直流電力を電力変換部により交流電力に変換して電力系統に供給可能な状態、及び電力系統から電力負荷部に電力供給可能な状態で電力系統と連系されている。運転制御部は、施設の受電点電力を上下させるために管理装置から出力制御指令が見込まれる日時より前に、受電点電力を維持した状態で、燃料ガス量、空気量及び水量の少なくとも1つを増減させる予備運転を実行する。
【先行技術文献】
【特許文献】
【0004】
特開2022-155268号公報
【発明の概要】
【発明が解決しようとする課題】
【0005】
近年、各施設に設けられた燃料電池等の需要側リソースを束ねて需要等を増減し、供給力等を提供するバーチャルパワープラント(VPP、仮想発電所)が普及しつつある。このVPPでは、例えば、アグリゲーションコーディネーターからの供出指令に基づいて、燃料電池等のリソース制御を行うリソースアグリゲータが各施設の受電点電力を上げ下げして調整力を供出する。例えば、リソースアグリゲータから各施設に受電点電力下げ指令を出すことにより、電力系統に電力を供給することができる。
【0006】
特許文献1に記載の燃料電池システムでは、例えば、出力増要請(受電点電力の下げ指令)が見込まれる日時が予め分かっており、燃料ガス量が負荷追従運転に従った所定量で空気量や水量が余分に供給されている場合、出力増要請日時より前に燃料ガス量を増大させることにより、電力系統に供出すべき必要電力量を仮想的に確保している。その結果、出力増要請に対して迅速且つ確実に応答することができる。
【0007】
しかし、燃料電池システムにおいては、ガスメータの制御上定期的に起動停止をしてその後、起動工程により再起動している。起動工程には一般的に数時間を要するが、例えば、起動工程完了後に出力減要請(受電点電力の上げ指令)が見込まれる場合には、起動工程完了後にアイドリング状態(発電準備は完了しているが発電していない状態若しくは低出力での発電状態)で長時間運転する場合がある。アイドリング状態で長時間運転すると燃料電池の発電効率が低下すると共に、燃料電池を構成する燃料電池セルの耐久性が低下するという問題があり、改良の余地がある。
【0008】
そこで、起動工程において、燃料電池の温度を可能な限り長時間かけて緩やかに上昇させることが可能な燃料電池システムが望まれている。
【課題を解決するための手段】
【0009】
本発明に係る燃料電池システムの特徴構成は、施設に設置されて電力を出力可能な燃料電池と、前記燃料電池に供給される燃料ガスの量、空気の量、及び水の量を制御する運転制御部と、を備える燃料電池システムであって、前記燃料電池は、運転により発生した直流電力を電力変換部により交流電力に変換して電力負荷部に供給可能で、且つ、運転により発生した前記直流電力を前記電力変換部により前記交流電力に変換して電力系統に供給可能な状態、及び前記電力系統から前記電力負荷部に電力供給可能な状態で前記電力系統と連系されており、前記運転制御部は、前記燃料電池の起動工程の開始前又は前記起動工程の途中において、出力減要請及び系統異常情報のうち少なくとも1つを受け取ったときに、前記燃料電池の温度を通常昇温処理に要する時間よりも長時間かけて緩やかに上昇させる長時間昇温処理を実行した後に前記電力が出力可能になるように構成されている点にある。
【0010】
運転制御部が、燃料電池の起動工程において、出力減要請及び系統異常情報のうち少なくとも1つを受け取ると、燃料電池の通常昇温処理を行ったとしても、起動工程の完了後すぐに発電することができない。本構成では、燃料電池の起動工程において、出力減要請及び系統異常情報のうち少なくとも1つを受け取ったときに、燃料電池の温度を通常の昇温処理に要する時間よりも長時間かけて緩やかに上昇させる長時間昇温処理を実行した後に電力が出力可能になるように構成されている。そのため、起動工程の時間が通常よりも長くかかり、その結果、起動工程の完了後にアイドリング状態で運転する時間が減少する。これにより、アイドリング状態での長時間の運転に伴う燃料電池の発電効率及び耐久性の低下を抑制することができる。
(【0011】以降は省略されています)
この特許をJ-PlatPat(特許庁公式サイト)で参照する
関連特許
大阪瓦斯株式会社
給湯装置
4日前
大阪瓦斯株式会社
蓄電装置
1か月前
大阪瓦斯株式会社
衣類乾燥機
1か月前
大阪瓦斯株式会社
フライヤー
1日前
大阪瓦斯株式会社
加熱調理器
1か月前
大阪瓦斯株式会社
衣類乾燥機
1か月前
大阪瓦斯株式会社
衣類乾燥機
1か月前
大阪瓦斯株式会社
ガスコンロ
4日前
大阪瓦斯株式会社
地中給電設備
14日前
大阪瓦斯株式会社
異常診断装置
15日前
大阪瓦斯株式会社
鮮度維持装置
14日前
大阪瓦斯株式会社
蓄電制御装置
8日前
大阪瓦斯株式会社
燃料電池装置
14日前
大阪瓦斯株式会社
異常診断装置
15日前
大阪瓦斯株式会社
異常診断装置
15日前
大阪瓦斯株式会社
異常診断装置
15日前
大阪瓦斯株式会社
異常診断装置
15日前
大阪瓦斯株式会社
異常診断装置
15日前
大阪瓦斯株式会社
異常診断装置
15日前
大阪瓦斯株式会社
異常診断装置
15日前
大阪瓦斯株式会社
異常診断装置
15日前
大阪瓦斯株式会社
住宅設備機器
1か月前
大阪瓦斯株式会社
通信システム
2か月前
大阪瓦斯株式会社
熱供給システム
4日前
大阪瓦斯株式会社
蓄電池管理装置
8日前
大阪瓦斯株式会社
燃料電池システム
4日前
大阪瓦斯株式会社
故障予兆システム
16日前
大阪瓦斯株式会社
燃料電池システム
15日前
大阪瓦斯株式会社
樹脂積層フィルム
25日前
大阪瓦斯株式会社
燃料電池システム
1か月前
大阪瓦斯株式会社
電力供給システム
2か月前
大阪瓦斯株式会社
燃料電池システム
8日前
大阪瓦斯株式会社
燃焼制御システム
今日
大阪瓦斯株式会社
給湯制御システム
3か月前
大阪瓦斯株式会社
燃料電池システム
2日前
大阪瓦斯株式会社
燃料電池システム
2日前
続きを見る
他の特許を見る