TOP
|
特許
|
意匠
|
商標
特許ウォッチ
Twitter
他の特許を見る
公開番号
2025140589
公報種別
公開特許公報(A)
公開日
2025-09-29
出願番号
2024040089
出願日
2024-03-14
発明の名称
岸壁クレーンおよびその制御方法
出願人
株式会社三井E&S
代理人
清流国際弁理士法人
,
個人
,
個人
主分類
B66C
15/00 20060101AFI20250919BHJP(巻上装置;揚重装置;牽引装置)
要約
【課題】地表面に敷設されるレールの状態を精度よく検出できるクレーンおよびクレーンの制御方法を提供する。
【解決手段】レール5と接触する踏面および予め定められる長さに設定されるフランジを有する車輪11と、この車輪11を上下方向zに移動可能な状態でクレーン1に連結して上下方向zにおいてレール5に車輪11を追従させる構成を有する連結機構12とが予めクレーン1に設置されていて、上下方向zにおいてクレーン1に対する車輪11の高さを測定するとともに、上下方向zにおいてクレーン1に対するレール5の高さを測定する。
【選択図】図3
特許請求の範囲
【請求項1】
地表面に敷設されるレールに沿って走行するクレーンにおいて、
前記レールと接触する踏面およびフランジを有する車輪と、この車輪を上下方向に移動可能な状態で前記クレーンに連結して上下方向において前記レールに前記車輪を追従させる構成を有する連結機構とを備えるとともに、
上下方向において前記クレーンに対する前記車輪の高さを測定する第一センサと、上下方向において前記クレーンに対する前記レールの高さを測定する第二センサとを備えることを特徴とするクレーン。
続きを表示(約 980 文字)
【請求項2】
前記レールの延設方向を直角に横断する幅方向に沿って開閉して前記レールの頭部の側面を両側から把持するレールクランプ機構を備えていて、
前記レールクランプ機構が前記車輪を有するとともに前記連結機構により前記クレーンに連結される構成を有する請求項1に記載のクレーン。
【請求項3】
前記第一センサおよび前記第二センサから得られる値に基づき前記レールの不具合の有無を判定する判定機構を備える請求項1に記載のクレーン。
【請求項4】
前記レールの延設方向における前記クレーンの位置を取得する位置センサを備えていて、
前記第一センサおよび前記第二センサおよび前記位置センサから得られる値を出力または記憶する補助機構を備える請求項1~3のいずれかに記載のクレーン。
【請求項5】
地表面に敷設されるレールに沿って走行するクレーンの制御方法において、
前記レールと接触する踏面およびフランジを有する車輪と、この車輪を上下方向に移動可能な状態で前記クレーンに連結して上下方向において前記レールに前記車輪を追従させる構成を有する連結機構とが予め前記クレーンに設置されていて、
上下方向において前記クレーンに対する前記車輪の高さを測定するとともに、上下方向において前記クレーンに対する前記レールの高さを測定することを特徴とするクレーンの制御方法。
【請求項6】
前記レールの延設方向を直角に横断する幅方向に沿って開閉して前記レールの頭部の側面を両側から把持するレールクランプ機構を予め前記クレーンが備えていて、
前記レールクランプ機構に前記車輪が予め設置されるとともに、前記レールクランプ機構が前記連結機構を介して前記クレーンに予め連結される状態である請求項5に記載のクレーンの制御方法。
【請求項7】
前記車輪の高さと前記レールの高さとの比較から、前記レールの不具合の有無を判定する請求項5に記載のクレーンの制御方法。
【請求項8】
前記レールの延設方向における前記クレーンの位置を取得して、前記車輪の高さと前記レールの高さと前記クレーンの位置とをデータとして出力または記憶する請求項5~7のいずれかに記載のクレーンの制御方法。
発明の詳細な説明
【技術分野】
【0001】
本発明は、地表面に敷設されるレールに沿って走行するクレーンおよびその制御方法に関するものであり、詳しくは地表面に敷設されるレールの状態を精度よく検出できるクレーンおよびクレーンの制御方法に関するものである。
続きを表示(約 1,600 文字)
【背景技術】
【0002】
地表面に敷設されるレールに沿って走行するクレーンが種々提案されている(例えば特許文献1参照)。特許文献1には、レールの頭部の側面を両側から把持するレールクランプ機構を備えたクレーンの構成が開示されている。このレールは、地表面に構成された溝の中に敷設されていた。
【0003】
地表面を構成するアスファルト等が経年劣化により隆起して、レールの側面を覆うことがある。隆起したアスファルトで側面を覆われたレールは、レールクランプ機構で十分に挟み込むことができない異常な状態となる。レールが異常な状態であるときは、レールクランプ機構により十分なブレーキ力を得られない不具合があった。
【先行技術文献】
【特許文献】
【0004】
日本国特許第6650173号公報
【発明の概要】
【発明が解決しようとする課題】
【0005】
本発明は上記の問題を鑑みてなされたものであり、その目的は地表面に敷設されるレールの状態を精度よく検出できるクレーンおよびクレーンの制御方法を提供することである。
【課題を解決するための手段】
【0006】
上記の目的を達成するためのクレーンは、地表面に敷設されるレールに沿って走行するクレーンにおいて、前記レールと接触する踏面およびフランジを有する車輪と、この車輪を上下方向に移動可能な状態で前記クレーンに連結して上下方向において前記レールに前記車輪を追従させる構成を有する連結機構とを備えるとともに、上下方向において前記クレーンに対する前記車輪の高さを測定する第一センサと、上下方向において前記クレーンに対する前記レールの高さを測定する第二センサとを備えることを特徴とする。
【0007】
上記の目的を達成するためのクレーンの制御方法は、地表面に敷設されるレールに沿って走行するクレーンの制御方法において、前記レールと接触する踏面およびフランジを有する車輪と、この車輪を上下方向に移動可能な状態で前記クレーンに連結して上下方向において前記レールに前記車輪を追従させる構成を有する連結機構とが予め前記クレーンに設置されていて、上下方向において前記クレーンに対する前記車輪の高さを測定するとともに、上下方向において前記クレーンに対する前記レールの高さを測定することを特徴とする。
【発明の効果】
【0008】
本発明によれば、地表面を構成する部材等でレールの側面の少なくとも一部が覆われている場合は、レールから車輪が浮き上がる。つまり第一センサおよび第二センサから得られる値から、側面を覆われて異常な状態となっているレールの区間を検出できる。地表面に敷設されるレールの状態を精度良く検出するには有利である。
【図面の簡単な説明】
【0009】
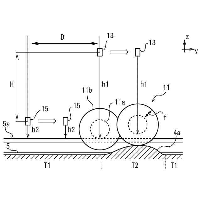
クレーンの概略を例示する説明図である。
図1のクレーンの走行装置の近傍を拡大して例示する説明図である。
図2のレールクランプ機構の近傍を拡大して例示する説明図である。
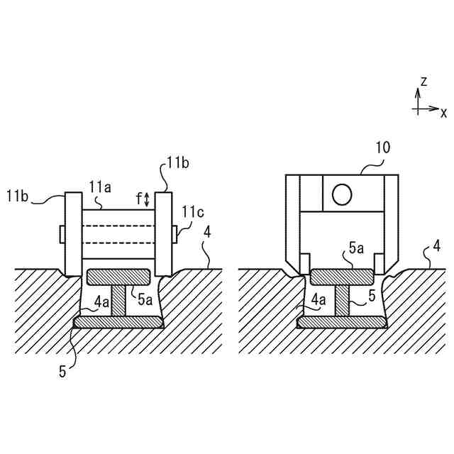
レールが健全な状態のときの車輪とクランプとの状態を例示する説明図である。
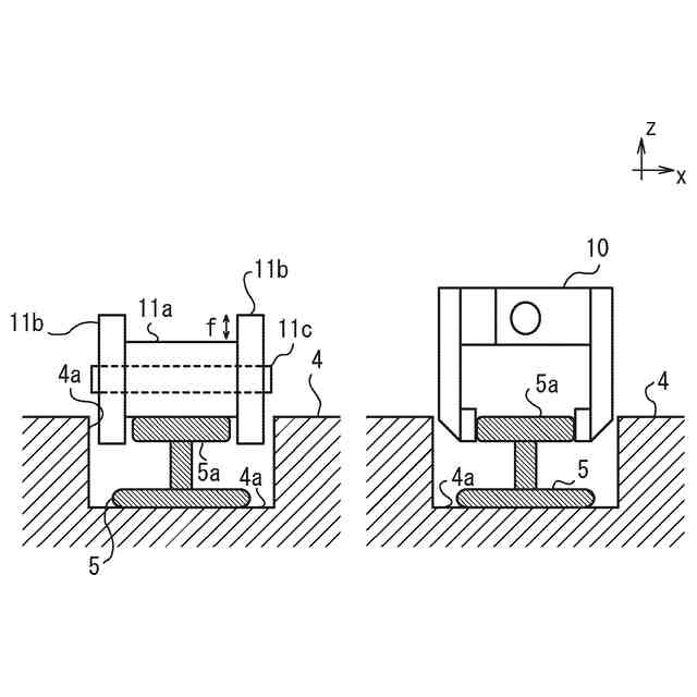
レールが異常な状態のときの車輪とクランプとの状態を例示する説明図である。
第一センサおよび第二センサによる測定の概略を例示する説明図である。
第一センサおよび第二センサによる測定結果を例示するグラフである。
第一センサおよび第二センサによる測定結果を例示するグラフである。
【発明を実施するための形態】
【0010】
以下、クレーンおよびその制御方法を図に示した実施形態に基づいて説明する。図中ではレールの延設方向を矢印y、この延設方向を直角に横断する幅方向を矢印x、上下方向を矢印zで示している。
(【0011】以降は省略されています)
この特許をJ-PlatPat(特許庁公式サイト)で参照する
関連特許
個人
自走手摺
2か月前
ユニパルス株式会社
吊具
4か月前
個人
海上コンテナ昇降装置
9か月前
ユニパルス株式会社
荷役装置
9か月前
ユニパルス株式会社
吊具装置
10か月前
水戸工業株式会社
吊り具
6か月前
株式会社いうら
車椅子用昇降機
2か月前
株式会社豊田自動織機
産業車両
26日前
株式会社豊田自動織機
荷役車両
9か月前
ユニパルス株式会社
リフト装置
4か月前
株式会社豊田自動織機
荷役車両
8か月前
株式会社豊田自動織機
産業車両
10か月前
大栄産業株式会社
クランプ
4か月前
個人
垂直自動搬送機
27日前
白山工業株式会社
バランサ
6か月前
株式会社大林組
安全支援システム
1か月前
ユニパルス株式会社
荷役助力装置
5か月前
株式会社伊藤
滑り止め装置
2か月前
ユニパルス株式会社
荷役助力装置
4か月前
ユニパルス株式会社
荷役助力装置
3か月前
愛知製鋼株式会社
受け架台
1か月前
個人
建築部材の吊り上げ装置
11か月前
株式会社キトー
タイヤ用吊具
5か月前
株式会社ユピテル
システム等
6か月前
株式会社五十鈴製作所
搬送装置
4か月前
新英運輸株式会社
自動車用台車
5か月前
株式会社豊田自動織機
フォークリフト
19日前
大和ハウス工業株式会社
吊上具
1か月前
フジテック株式会社
エレベータ
8か月前
株式会社豊田自動織機
フォークリフト
7か月前
中国計量大学
電子安全クランプ
8日前
山崎産業株式会社
手摺り拭用器具
28日前
有限会社サエキ
玉掛用器具
9か月前
中坪造園有限会社
吊り荷降ろし具
4か月前
株式会社タダノ
高所作業車
12か月前
白山工業株式会社
腕重量補償機構
12か月前
続きを見る
他の特許を見る