TOP
|
特許
|
意匠
|
商標
特許ウォッチ
Twitter
他の特許を見る
10個以上の画像は省略されています。
公開番号
2025141780
公報種別
公開特許公報(A)
公開日
2025-09-29
出願番号
2024200476
出願日
2024-11-18
発明の名称
光源モジュール
出願人
瀚宇彩晶股ふん有限公司
代理人
個人
主分類
F21S
2/00 20160101AFI20250919BHJP(照明)
要約
【課題】広い視野角における出光の均一性により優れた光源モジュールを提供する。
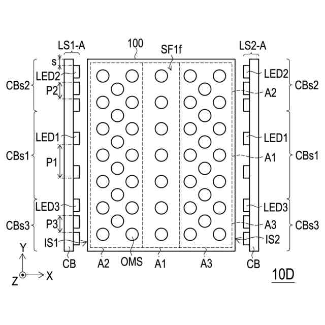
【解決手段】光源モジュールは、導光板100と、第1光源と、複数の光学微細構造と、を含む。導光板は、第1の光入射面IS1、第1の側面及び第1の表面を有する。第1の光入射面と第1の側面は第1の表面に接続される。導光板の第1の表面は、第1領域A1及び第2領域A2を有する。第2領域は、第1の光入射面と第1の側面の一方と第1領域との間に位置する。第1光源は、導光板の第1の光入射面の一側に配置される。複数の光学微細構造は第1の表面上に配置される。第1領域におけるこれらの光学微細構造の分布密度は第2領域における分布密度よりも小さい。
【選択図】図1A
特許請求の範囲
【請求項1】
第1の光入射面、第1の側面及び第1の表面を有する導光板であって、前記第1の光入射面及び前記第1の側面は前記第1の表面に接続され、前記導光板の前記第1の表面は、第1領域及び第2領域を有し、前記第2領域は、前記第1の光入射面及び前記第1の側面のうちの1つと前記第1領域との間に位置する、前記導光板と、
前記導光板の前記第1の光入射面の一側に配置される第1光源と、
前記第1の表面上に配置される複数の光学微細構造と、
を備え、
前記複数の光学微細構造の前記第1領域における分布密度は、前記複数の光学微細構造の前記第2領域における分布密度よりも小さい、
光源モジュール。
続きを表示(約 1,400 文字)
【請求項2】
前記導光板の第2の光入射面の一側に配置された第2光源をさらに含み、
前記第1の光入射面と前記第2の光入射面は、互いに対向するか、又は接続され、
前記導光板の前記第1の表面は、第3領域をさらに有し、前記第1領域は、前記第2領域と前記第3領域との間に位置し、前記複数の光学微細構造の前記第3領域における分布密度は前記複数の光学微細構造の前記第1領域における分布密度よりも大きい、
請求項1に記載の光源モジュール。
【請求項3】
前記第1光源は、複数の第1発光素子及び複数の第2発光素子を含み、
前記複数の第1発光素子及び前記複数の第2発光素子は、前記第1の光入射面と平行な方向に沿って配列され、
前記複数の第1発光素子は、第1ピッチに従って配列され、前記複数の第2発光素子は、第2ピッチに従って配列され、前記第1ピッチは前記第2ピッチよりも大きい、
請求項1に記載の光源モジュール。
【請求項4】
前記複数の光学微細構造は、前記第1の表面から凹むか突出し、
前記複数の光学微細構造のそれぞれは、前記第1の表面の法線方向に沿った構造の高さを有し、前記複数の光学微細構造のそれぞれの前記構造の高さは、前記第1の表面の端部から遠ざかるにつれて、最初は徐々に増加し、その後徐々に減少するか、又は、最初は徐々に減少し、その後徐々に増加する、
請求項1に記載の光源モジュール。
【請求項5】
前記導光板は、前記第1の光入射面に接続される第2の表面をさらに有し、前記第2の表面は前記第1の表面と背向きに配置されており、前記第1の表面及び前記第2の表面の少なくとも一方は曲面である、
請求項1に記載の光源モジュール。
【請求項6】
前記第1の表面と前記第2の表面との間の距離は、前記第1の表面の端部から遠ざかるにつれて、最初は徐々に増加し、その後徐々に減少するか、又は、最初は徐々に減少し、その後徐々に増加する、
請求項5に記載の光源モジュール。
【請求項7】
前記第1の表面と前記第2の表面の一方は凹曲面であり、前記第1の表面と前記第2の表面の他方は凸曲面である、
請求項5に記載の光源モジュール。
【請求項8】
前記複数の光学微細構造は、前記第1の表面から凹み、それぞれ第1の光学面、第2の光学面及び前記第1の光学面と前記第2の光学面に接続される底面を有し、前記第1の光学面と前記底面の仮想延長面との間は第1の挟角を有し、前記第2の光学面と前記底面との間は第2の挟角を有し、前記第2の挟角は前記第1の挟角以上であり、前記第1の挟角及び前記第2の挟角はそれぞれ40度以上50度以下である、
請求項1に記載の光源モジュール。
【請求項9】
前記第1の表面は、各前記複数の光学微細構造を定義する開口を有し、前記開口及び前記底面は、前記第1の光入射面の法線方向に沿ってそれぞれ第1幅及び第2幅を有し、前記第1幅は前記第2幅以上である、
請求項8に記載の光源モジュール。
【請求項10】
前記第1の光学面及び前記第2の光学面のそれぞれの横断面の輪郭は、直線状、曲線状、折れ線状、又は直線状と曲線状の組み合わせである、
請求項8に記載の光源モジュール。
(【請求項11】以降は省略されています)
発明の詳細な説明
【技術分野】
【0001】
本発明は、光源モジュールに関し、特に、導光板を備えた光源モジュールに関する。
続きを表示(約 1,500 文字)
【背景技術】
【0002】
反射型液晶表示パネルや透過型液晶表示パネルなどの非自発光型表示パネルの場合、光源モジュールを合わせて使用することで、さまざまな環境でのそのような表示パネルの応用ニーズを満たすことができる。スリムな外観を実現するために、現在のほとんどの光源モジュールは、光源が導光板の側面に隣接して配置され、この側面が導光板の出光面に接続された、サイドライト設計を採用している。しかし、このような設計では、広い視野角における光源モジュールの出光の均一性が低下しやすく、視覚効果が低下したり、表示コントラストが低下する可能性がある。
【発明の概要】
【発明が解決しようとする課題】
【0003】
本発明は、広い視野角における出光の均一性により優れた光源モジュールを提供する。
【課題を解決するための手段】
【0004】
本発明の光源モジュールは、導光板と、第1光源と、複数の光学微細構造と、を含む。導光板は、第1の光入射面、第1の側面及び第1の表面を有する。第1の光入射面及び第1の側面は第1の表面に接続される。導光板の第1の表面は、第1領域及び第2領域を有する。第2領域は、第1の光入射面と第1の側面の一方と第1領域との間に位置する。第1光源は、導光板の第1の光入射面の一側に配置される。複数の光学微細構造は第1の表面上に配置される。第1領域におけるこれらの光学微細構造の分布密度は第2領域における分布密度よりも小さい。
【0005】
本発明の一実施形態において、上記光源モジュールは、導光板の第2の光入射面の一側に配置された第2光源をさらに含む。第1の光入射面と第2の光入射面は、互いに対向するか、又は接続される。導光板の第1の表面は、第3領域をさらに有する。第1領域は、第2領域と第3領域との間に位置する。第3領域における複数の光学微細構造の分布密度は第1領域における分布密度よりも大きい。
【0006】
本発明の一実施形態において、上記光源モジュールの第1光源は、複数の第1発光素子と複数の第2発光素子を含む。これらの第1発光素子とこれらの第2発光素子は、第1の光入射面と平行な方向に沿って配列される。これらの第1発光素子は、第1ピッチに従って配列される。これらの第2発光素子は、第2ピッチに従って配列され、第1ピッチは第2ピッチよりも大きい。
【0007】
本発明の一実施形態において、上記光源モジュールの複数の光学微細構造は、第1の表面から凹むか突出し、それぞれ第1の表面の法線方向に沿った構造の高さを有する。これらの光学微細構造それぞれの構造の高さは、第1の表面の端部から遠ざかるにつれて、最初は徐々に増加し、その後徐々に減少するか、又は、最初は徐々に減少し、その後徐々に増加する。
【0008】
本発明の一実施形態において、上記光源モジュールの導光板は、第1の光入射面に接続される第2の表面をさらに有する。第2の表面は第1の表面と背向きに配置されており、第1の表面と第2の表面の少なくとも一方は曲面である。
【0009】
本発明の一実施形態において、上記光源モジュールの第1の表面と第2の表面との間の距離は、第1の表面の端部から遠ざかるにつれて、最初は徐々に増加し、その後徐々に減少するか、又は、最初は徐々に減少し、その後徐々に増加する。
【0010】
本発明の一実施形態において、上記光源モジュールの第1の表面と第2の表面の一方は凹面であり、第1の表面と第2の表面の他方は凸面である。
(【0011】以降は省略されています)
この特許をJ-PlatPat(特許庁公式サイト)で参照する
関連特許
個人
室外機器
3か月前
個人
照明システム
3か月前
個人
車載機器の通気構造
1か月前
個人
気泡を用いた遊具。
5か月前
株式会社遠藤照明
照明装置
22日前
株式会社遠藤照明
照明器具
4か月前
能美防災株式会社
表示灯
1か月前
デンカ株式会社
照明装置
3か月前
株式会社小糸製作所
車両用灯具
4日前
個人
LEDライト
3か月前
株式会社小糸製作所
車両用灯具
4日前
デンカ株式会社
道路用照明
3か月前
瀧住電機工業株式会社
ダクトレール
7か月前
アクア株式会社
冷蔵庫
2か月前
株式会社小糸製作所
投光装置
1か月前
フルトラム株式会社
光学機器
3日前
株式会社小糸製作所
投光装置
1か月前
株式会社小糸製作所
誘導装置
15日前
スタンレー電気株式会社
照射用光源
8日前
株式会社小糸製作所
表示用灯具
8日前
株式会社オカムラ
間仕切り装置
7か月前
株式会社小糸製作所
車両用灯具
6か月前
株式会社小糸製作所
車両用灯具
4か月前
株式会社小糸製作所
車両用灯具
3か月前
株式会社小糸製作所
車両用灯具
6か月前
株式会社小糸製作所
表示用灯具
8日前
株式会社小糸製作所
車両用灯具
3か月前
株式会社小糸製作所
車両用灯具
6か月前
株式会社小糸製作所
車両用灯具
3か月前
株式会社小糸製作所
車両用灯具
4か月前
株式会社小糸製作所
車両用灯具
6か月前
株式会社小糸製作所
車両用灯具
3か月前
株式会社小糸製作所
車両用灯具
4か月前
株式会社小糸製作所
描画用灯具
6か月前
株式会社小糸製作所
車両用灯具
6か月前
株式会社小糸製作所
車両用灯具
3か月前
続きを見る
他の特許を見る