TOP
|
特許
|
意匠
|
商標
特許ウォッチ
Twitter
他の特許を見る
公開番号
2025142346
公報種別
公開特許公報(A)
公開日
2025-09-30
出願番号
2025127826,2023147495
出願日
2025-07-31,2023-09-12
発明の名称
熱交換器
出願人
マレリ株式会社
代理人
弁理士法人後藤特許事務所
主分類
F28F
3/08 20060101AFI20250919BHJP(熱交換一般)
要約
【課題】熱交換器の熱交換性能を向上させる。
【解決手段】熱交換部30は、流路形成部32の内側に設けられる凹部31aどうしが対向して流路部33を形成するプレート31を有し、流路部33は、積層方向に隣り合う他の熱交換部30の流路部33と積層方向に重ならないようにオフセット配置され、流路形成部32は、積層方向の高さHが積層方向に隣り合う熱交換部30のピッチPの1/2よりも大きい流路拡大部41を有し、流路部33のオフセット方向において、一対のプレート31の互いに接合される接合部31cの長さL2は、流路部33を形成する凹部31aの反対の面の凸部31bの長さよりも小さく、流路拡大部41が設けられる位置では、接合部31cと流路拡大部41の頂部との間の潤滑油の流路断面積が最小であり、潤滑油は、複数の流路拡大部41の外部を横切るように複数の熱交換部30の間を流通する。
【選択図】図6
特許請求の範囲
【請求項1】
熱交換器であって、
一対のヘッダタンクと、
積層方向に積層され、第1流体が流通する流路部を内部に形成する流路形成部を有し、外部を流通する第2流体との間で熱交換を行う複数の熱交換部と、
を備え、
各々の前記熱交換部は、前記流路形成部の内側に設けられる凹部どうしが対向して前記流路部を形成するように前記積層方向に積層される一対のプレートを有し、
前記流路部は、前記積層方向に隣り合う他の前記熱交換部の前記流路部と前記積層方向に重ならないようにオフセット配置され、
前記流路形成部は、前記積層方向の高さが前記積層方向に隣り合う前記熱交換部のピッチの1/2よりも大きい流路拡大部を有し、
前記流路部がオフセット配置されるオフセット方向において、前記一対のプレートの互いに接合される接合部の長さは、前記流路部を形成する前記凹部の反対の面の凸部の長さよりも小さく、
前記流路拡大部が設けられる位置では、前記接合部と前記流路拡大部の頂部との間の第2流体の流路断面積が最小であり、
第2流体は、複数の前記流路拡大部の外部を横切るように複数の前記熱交換部の間を流通する、
熱交換器。
続きを表示(約 380 文字)
【請求項2】
請求項1に記載の熱交換器であって、
前記流路形成部は、
前記流路拡大部を有して第1流体が直線的に流通する複数の直線流路部と、
隣り合う前記直線流路部どうしを第1流体が流通可能に連通させる連通流路と、
を有し、
前記直線流路部における前記連通流路と交差する位置における流路高さは、前記連通流路の他の部分における流路高さと同じである、
熱交換器。
【請求項3】
請求項2に記載の熱交換器であって、
前記積層方向に隣り合う前記プレートにおける前記連通流路の凸部どうしは、互いに接合される、
熱交換器。
【請求項4】
請求項1から3のいずれか一つに記載の熱交換器であって、
第1流体は冷却水であり、第2流体は潤滑油である、
熱交換器。
発明の詳細な説明
【技術分野】
【0001】
本発明は、熱交換器に関する。
続きを表示(約 1,700 文字)
【背景技術】
【0002】
特許文献1には、熱交換部材における連通流路が形成されていない部位に、隣接する熱交換部材の連通流路に当接する複数のエンボスを形成し、隣接する熱交換部材の間隔を保持する熱交換器が開示されている。
【先行技術文献】
【特許文献】
【0003】
特開2016-151392号公報
【発明の概要】
【発明が解決しようとする課題】
【0004】
しかしながら、特許文献1に記載の熱交換器では、熱交換部材に連通流路が形成されていない部位が多いので、熱交換性能が低くなるおそれがある。
【0005】
本発明は、上記の問題点に鑑みてなされたものであり、熱交換器の熱交換性能を向上させることを目的とする。
【課題を解決するための手段】
【0006】
本発明のある態様によれば、熱交換器は、一対のヘッダタンクと、積層方向に積層され、第1流体が流通する流路部を内部に形成する流路形成部を有し、外部を流通する第2流体との間で熱交換を行う複数の熱交換部と、を備え、各々の前記熱交換部は、前記流路形成部の内側に設けられる凹部どうしが対向して前記流路部を形成するように前記積層方向に積層される一対のプレートを有し、前記流路部は、前記積層方向に隣り合う他の前記熱交換部の前記流路部と前記積層方向に重ならないようにオフセット配置され、前記流路形成部は、前記積層方向の高さが前記積層方向に隣り合う前記熱交換部のピッチの1/2よりも大きい流路拡大部を有し、前記流路部がオフセット配置されるオフセット方向において、前記一対のプレートの互いに接合される接合部の長さは、前記流路部を形成する前記凹部の反対の面の凸部の長さよりも小さく、前記流路拡大部が設けられる位置では、前記接合部と前記流路拡大部の頂部との間の第2流体の流路断面積が最小であり、第2流体は、複数の前記流路拡大部の外部を横切るように複数の前記熱交換部の間を流通する。
【発明の効果】
【0007】
上記態様では、熱交換部における第1流体が流通する流路部は、積層方向に隣り合う他の熱交換部の流路部と積層方向に重ならないようにオフセット配置され、流路形成部は、積層方向の高さが積層方向に隣り合う熱交換部のピッチの1/2よりも大きい流路拡大部を有する。そのため、流路拡大部が設けられる部分においては、流路拡大部の大きさの分だけ熱交換面積が大きくなり、第2流体の流路が狭くなることで第2流体の流速が高くなる。よって、流路拡大部の内部の流路部を流通する第1流体と外部を流通する第2流体との熱交換量を増加させることができる。したがって、熱交換器の熱交換性能を向上させることができる。
【図面の簡単な説明】
【0008】
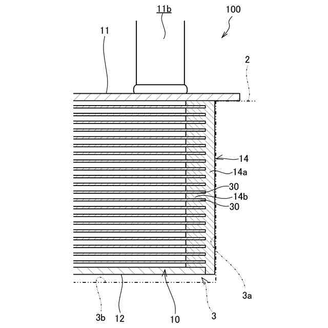
図1は、本発明の実施形態に係る熱交換器を斜め上方から見た外観斜視図である。
図2は、図1におけるII-II線に沿う断面図であり、熱交換器の底面の第1バイパス防止部材について説明する図である。
図3は、図1におけるIII-III線に沿う断面図であり、熱交換器の側面の第2バイパス防止部材について説明する断面図である。
図4は、図1におけるIV-IV線に沿う断面に相当する図であり、複数のプレートのうち一つを示す斜視図である。
図5は、図4におけるV-V線に沿う熱交換部の断面を示す図である。
図6は、図4におけるVI-VI線に沿う熱交換部の断面を示す図である。
図7は、熱交換器の車両への取り付け状態の変形例について説明する構成図である。
【発明を実施するための形態】
【0009】
以下、図面を参照して、本発明の実施形態に係る熱交換器100について説明する。
【0010】
まず、図1から図3を参照して、熱交換器100の全体構成について説明する。
(【0011】以降は省略されています)
この特許をJ-PlatPat(特許庁公式サイト)で参照する
関連特許
マレリ株式会社
消音器
4日前
マレリ株式会社
流路切換弁
4日前
マレリ株式会社
排気ガス処理装置
1か月前
マレリ株式会社
排気ガス処理装置及び混合装置
4日前
マレリ株式会社
熱交換器
13日前
個人
排熱回収装置
2か月前
個人
熱交換装置
3日前
個人
熱交換装置
5か月前
ホーコス株式会社
熱交換ユニット
8か月前
三恵技研工業株式会社
熱交換器
6か月前
三恵技研工業株式会社
熱交換器
6か月前
株式会社パイオラックス
熱交換器
8か月前
アンリツ株式会社
検査装置
5か月前
アンリツ株式会社
検査装置
5か月前
株式会社ティラド
ラジエータ
8か月前
日産自動車株式会社
熱交換器
7か月前
株式会社アイシン
水噴射冷却システム
8か月前
新光電気工業株式会社
蓄熱装置
1か月前
サンデン株式会社
熱交換器
8か月前
株式会社デンソー
熱交換器
4か月前
サンデン株式会社
熱交換器
6か月前
株式会社デンソー
熱交換器
4か月前
サンデン株式会社
熱交換器
8か月前
サンデン株式会社
熱交換器
8か月前
栗田工業株式会社
冷却塔システム
8か月前
株式会社アイシン
熱交換器
4か月前
ZACROS株式会社
熱交換装置
6か月前
サンデン株式会社
熱交換器
6か月前
株式会社デンソー
熱交換器
3か月前
日新電機株式会社
化学蓄熱反応器
9か月前
株式会社デンソー
熱交換器
5か月前
栗田工業株式会社
冷却塔システム
3か月前
古河電気工業株式会社
ヒートパイプ
8か月前
TPR株式会社
熱電発電機能付き熱交換器
7か月前
株式会社神戸製鋼所
積層型熱交換器
4か月前
中部抵抗器株式会社
密閉構造体用冷却装置
9か月前
続きを見る
他の特許を見る