TOP
|
特許
|
意匠
|
商標
特許ウォッチ
Twitter
他の特許を見る
10個以上の画像は省略されています。
公開番号
2025146181
公報種別
公開特許公報(A)
公開日
2025-10-03
出願番号
2024046821
出願日
2024-03-22
発明の名称
メッシュ復号装置、メッシュ復号方法及びプログラム
出願人
KDDI株式会社
代理人
フェリシテ弁理士法人
主分類
H04N
19/597 20140101AFI20250926BHJP(電気通信技術)
要約
【課題】算術復号によって復号した変位量を基本メッシュに加算することによって、メッシュを復号すること。
【解決手段】本発明に係るメッシュ復号装置200は、ビットストリームより得られたアトラスと基本メッシュとレベル値画像或いは第1係数列とに基づいてメッシュを再構成して出力するように構成されているメッシュ再構成部206B備え、メッシュ再構成部206は、アトラスと基本メッシュとレベル値画像或いは第1係数列とを用いて、対応付け基本メッシュと対応付けレベル値画像或いは対応付け第1係数列とを生成して出力するように構成されているパッチ対応付け部206Aと、対応付け基本メッシュと前記対応付けレベル値画像或いは前記対応付け第1係数列とを用いて、サブメッシュ列を生成して出力するように構成されているサブメッシュ再構成部206Bとを備える。
【選択図】図19
特許請求の範囲
【請求項1】
メッシュ復号装置であって、
ビットストリームより得られたアトラスと基本メッシュとレベル値画像或いは第1係数列とに基づいてメッシュを再構成して出力するように構成されているメッシュ再構成部を備え、
前記メッシュ再構成部は、
前記アトラスと前記基本メッシュと前記レベル値画像或いは前記第1係数列とを用いて、対応付け基本メッシュと対応付けレベル値画像或いは対応付け第1係数列とを生成して出力するように構成されているパッチ対応付け部と、
前記対応付け基本メッシュと前記対応付けレベル値画像或いは前記対応付け第1係数列とを用いて、サブメッシュ列を生成して出力するように構成されているサブメッシュ再構成部とを備えることを特徴とするメッシュ復号装置。
続きを表示(約 1,200 文字)
【請求項2】
前記サブメッシュ再構成部は、
前記対応付け基本メッシュから追加された細分割頂点及びそれらの接続情報を含む再分割メッシュを生成して出力するように構成されている細分割部と、
前記対応付けレベル値画像或いは前記対応付け第1係数列の種別を判定することによって前記レベル値画像及び前記第1係数列のうち判定されたいずれかを出力するように構成されている変位量種別判定部と、
前記レベル値画像を展開することによってレベル値列を生成して出力するように構成されている画像展開部と、
前記レベル値列を逆量子化することによって第2係数列を生成して出力するように構成されている第2逆量子化部と、
前記第1係数列或いは前記第2係数列を逆変換することによって変位量列を生成して出力するように構成されている逆変換部と、
前記細分割メッシュに前記変位量列を加算することによって、サブメッシュ列を生成して出力するように構成されている変位量加算部とを備える、請求項1に記載のメッシュ復号装置。
【請求項3】
前記変位量種別判定部は、制御情報が0の場合は、前記種別が前記第1係数列であると判定し、前記制御情報が1の場合は、前記種別が前記レベル値画像であると判定することを特徴とする請求項2に記載のメッシュ復号装置。
【請求項4】
メッシュ復号方法であって、
ビットストリームより得られたアトラスと基本メッシュとレベル値画像或いは第1係数列とに基づいてメッシュを再構成して出力する工程を有し、
前記工程において、
前記アトラスと前記基本メッシュと前記レベル値画像或いは前記第1係数列とを用いて、対応付け基本メッシュと対応付けレベル値画像或いは対応付け第1係数列とを生成して出力し、
前記対応付け基本メッシュと前記対応付けレベル値画像或いは前記対応付け第1係数列とを用いて、サブメッシュ列を生成して出力することを特徴とするメッシュ復号方法。
【請求項5】
コンピュータを、メッシュ復号装置として機能させるプログラムであって、
前記メッシュ復号装置は、
ビットストリームより得られたアトラスと基本メッシュとレベル値画像或いは第1係数列とに基づいてメッシュを再構成して出力するように構成されているメッシュ再構成部を備え、
前記メッシュ再構成部は、
前記アトラスと前記基本メッシュと前記レベル値画像或いは前記第1係数列とを用いて、対応付け基本メッシュと対応付けレベル値画像或いは対応付け第1係数列とを生成して出力するように構成されているパッチ対応付け部と、
前記対応付け基本メッシュと前記対応付けレベル値画像或いは前記対応付け第1係数列とを用いて、サブメッシュ列を生成して出力するように構成されているサブメッシュ再構成部とを備えることを特徴とするプログラム。
発明の詳細な説明
【技術分野】
【0001】
本発明は、メッシュ復号装置、メッシュ復号方法及びプログラムに関する。
続きを表示(約 1,900 文字)
【背景技術】
【0002】
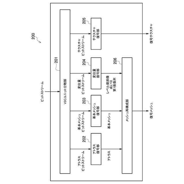
非特許文献1では、点群を部分的なパッチに分割して復号する技術が開示されている。
【0003】
非特許文献2では、非特許文献1をメッシュ復号の用途に拡張した技術が開示されている。メッシュは、大まかな基本メッシュと詳細な変位量とに分割して復号される。メッシュは、部分的なサブメッシュに分割して復号される。変位量は、映像コーデック或いは算術復号によって復号される。
【先行技術文献】
【非特許文献】
【0004】
“Information technology - Coded Representation of Immersive Media - Part 5: Visual Volumetric Video-based Coding (V3C) and Video-based Point Cloud Compression (V-PCC),” ISO/IEC JTC 1/SC 29/WG 7, ISO/IEC 23090-5:2021(2E).
“WD 5.0 of V-DMC,” ISO/IEC JTC 1/SC 29/WG 7 N00744.
【発明の概要】
【発明が解決しようとする課題】
【0005】
しかしながら、非特許文献2の方法では、算術復号によって変位量を復号する際、基本メッシュ及び変位量からメッシュを復号する処理がなく、メッシュを復号できないという問題点があった。
【0006】
そこで、本発明は、上述の課題に鑑みてなされたものであり、算術復号によって復号した変位量を基本メッシュに加算することによって、メッシュを復号することが可能となるメッシュ復号装置、メッシュ復号方法及びプログラムを提供することを目的とする。
【課題を解決するための手段】
【0007】
本発明の第1の特徴は、メッシュ復号装置であって、ビットストリームより得られたアトラスと基本メッシュとレベル値画像或いは第1係数列とに基づいてメッシュを再構成して出力するように構成されているメッシュ再構成部を備え、前記メッシュ再構成部は、前記アトラスと前記基本メッシュと前記レベル値画像或いは前記第1係数列とを用いて、対応付け基本メッシュと対応付けレベル値画像或いは対応付け第1係数列とを生成して出力するように構成されているパッチ対応付け部と、前記対応付け基本メッシュと前記対応付けレベル値画像或いは前記対応付け第1係数列とを用いて、サブメッシュ列を生成して出力するように構成されているサブメッシュ再構成部とを備えることを要旨とする。
【0008】
本発明の第2の特徴は、メッシュ復号方法であって、ビットストリームより得られたアトラスと基本メッシュとレベル値画像或いは第1係数列とに基づいてメッシュを再構成して出力する工程を有し、前記工程において、前記アトラスと前記基本メッシュと前記レベル値画像或いは前記第1係数列とを用いて、対応付け基本メッシュと対応付けレベル値画像或いは対応付け第1係数列とを生成して出力し、前記対応付け基本メッシュと前記対応付けレベル値画像或いは前記対応付け第1係数列とを用いて、サブメッシュ列を生成して出力することことを要旨とする。
【0009】
本発明の第3の特徴は、コンピュータを、メッシュ復号装置として機能させるプログラムであって、前記メッシュ復号装置は、ビットストリームより得られたアトラスと基本メッシュとレベル値画像或いは第1係数列とに基づいてメッシュを再構成して出力するように構成されているメッシュ再構成部を備え、前記メッシュ再構成部は、前記アトラスと前記基本メッシュと前記レベル値画像或いは前記第1係数列とを用いて、対応付け基本メッシュと対応付けレベル値画像或いは対応付け第1係数列とを生成して出力するように構成されているパッチ対応付け部と、前記対応付け基本メッシュと前記対応付けレベル値画像或いは前記対応付け第1係数列とを用いて、サブメッシュ列を生成して出力するように構成されているサブメッシュ再構成部とを備えることを要旨とする。
【発明の効果】
【0010】
本発明によれば、算術復号によって復号した変位量を基本メッシュに加算することによって、メッシュを復号することが可能となるメッシュ復号装置、メッシュ復号方法及びプログラムを提供することができる。
【図面の簡単な説明】
(【0011】以降は省略されています)
この特許をJ-PlatPat(特許庁公式サイト)で参照する
関連特許
KDDI株式会社
光増幅器
5日前
KDDI株式会社
光増幅器
5日前
KDDI株式会社
光増幅器
18日前
KDDI株式会社
光増幅器
18日前
KDDI株式会社
光接続ノード
5日前
KDDI株式会社
緊急ネットワーク分離方法
6日前
KDDI株式会社
情報処理装置及び情報処理方法
18日前
KDDI株式会社
情報処理装置及び情報処理方法
1か月前
KDDI株式会社
情報処理装置及び情報処理方法
4日前
KDDI株式会社
情報処理装置及び情報処理方法
4日前
KDDI株式会社
情報処理装置及び情報処理方法
4日前
KDDI株式会社
情報処理装置及び情報処理方法
28日前
KDDI株式会社
情報処理装置及び情報処理方法
18日前
KDDI株式会社
通信制御システム及び通信制御方法
12日前
KDDI株式会社
通信制御システム及び通信制御方法
12日前
KDDI株式会社
通信制御システム及び通信制御方法
12日前
KDDI株式会社
通信制御システム及び通信制御方法
12日前
KDDI株式会社
ネットワーク制御装置及びプログラム
1か月前
KDDI株式会社
通信装置、無線デバイス及びプログラム
8日前
KDDI株式会社
中継装置、中継方法及び中継プログラム
27日前
KDDI株式会社
認証装置、認証方法及び認証プログラム
27日前
KDDI株式会社
通信装置、無線デバイス及びプログラム
1か月前
KDDI株式会社
通信装置、無線デバイス及びプログラム
1か月前
KDDI株式会社
飛行体、情報処理装置及び情報処理方法
8日前
KDDI株式会社
情報処理装置、情報処理方法及びプログラム
8日前
KDDI株式会社
情報処理装置、情報処理方法及びプログラム
12日前
KDDI株式会社
情報処理装置、情報処理方法及びプログラム
19日前
KDDI株式会社
支援処理装置、支援処理方法及びプログラム
18日前
KDDI株式会社
情報処理装置、情報処理方法及び情報処理システム
18日前
KDDI株式会社
情報処理装置、情報処理方法及び情報処理システム
1か月前
KDDI株式会社
情報処理装置、情報処理方法及び情報処理システム
18日前
KDDI株式会社
情報処理装置、情報処理方法及び情報処理システム
18日前
KDDI株式会社
メッシュ復号装置、メッシュ復号方法及びプログラム
4日前
KDDI株式会社
メッシュ復号装置、メッシュ復号方法及びプログラム
4日前
KDDI株式会社
タスクオフロード制御システム、方法及びプログラム
5日前
KDDI株式会社
移動通信ネットワークのサーバ装置及び呼処理システム
1か月前
続きを見る
他の特許を見る