TOP
|
特許
|
意匠
|
商標
特許ウォッチ
Twitter
他の特許を見る
10個以上の画像は省略されています。
公開番号
2025143225
公報種別
公開特許公報(A)
公開日
2025-10-01
出願番号
2025038598,2024041941
出願日
2025-03-11,2024-03-18
発明の名称
プログラムおよびシステム
出願人
株式会社コロプラ
代理人
弁理士法人RYUKA国際特許事務所
主分類
A63F
13/65 20140101AFI20250924BHJP(スポーツ;ゲーム;娯楽)
要約
【解決手段】コンピュータを、ユーザが端末を用いて参加可能である、現実の位置に関連付けられたイベントの数または分布の少なくとも1つを、地域の特性に応じて変更する変更手段として機能させ、前記変更手段は、ユーザの数または人口が閾値を超える地域において、ユーザの数または人口が閾値以下の地域と比較してより均一に前記イベントを分布させるプログラムを提供する。上記のプログラムにおいて、前記変更手段は、ユーザの数または人口が閾値以下の地域内において、ユーザまたは人の密度がより高い場所における前記イベントの密度を、ユーザまたは人の密度がより低い場所における前記イベントの密度よりも高くしてよい。
【選択図】図6
特許請求の範囲
【請求項1】
コンピュータを、
ユーザが端末を用いて参加可能である、現実の位置に関連付けられたイベントの数または分布の少なくとも1つを、地域の特性に応じて変更する変更手段
として機能させ、
前記変更手段は、ユーザの数または人口が閾値を超える地域において、ユーザの数または人口が閾値以下の地域と比較してより均一に前記イベントを分布させるプログラム。
続きを表示(約 370 文字)
【請求項2】
前記変更手段は、ユーザの数または人口が閾値以下の地域内において、ユーザまたは人の密度がより高い場所における前記イベントの密度を、ユーザまたは人の密度がより低い場所における前記イベントの密度よりも高くする請求項1に記載のプログラム。
【請求項3】
前記イベントは、複数のユーザが端末を用いて協同して参加可能なイベントである、請求項1に記載のプログラム。
【請求項4】
ユーザが端末を用いて参加可能である、現実の位置に関連付けられたイベントの数または分布の少なくとも1つを、地域の特性に応じて変更する変更手段
を備え、
前記変更手段は、ユーザの数または人口が閾値を超える地域において、ユーザの数または人口が閾値以下の地域と比較してより均一に前記イベントを分布させるシステム。
発明の詳細な説明
【技術分野】
【0001】
本発明は、プログラムおよびシステムに関する。
続きを表示(約 1,800 文字)
【背景技術】
【0002】
特許文献1には、「ノンプレイヤキャラクタ参加モジュールは、地域ごとに所定期間内のマッチング成立回数が所定数以下であるか否か判定するとともに、マッチング成立回数が所定数以下になった地域情報に対応する地域において、マッチングモジュールの処理によるマッチングが開始されてから所定時間までにマッチングされたプレイヤキャラクタの数が所定数に達しているか否か判定するモジュールである。」(段落0040)と記載されている。
[先行技術文献]
[特許文献]
[特許文献1] 特開2022-20788号公報
【発明の概要】
【0003】
本発明の第1の態様においては、コンピュータを、ユーザが端末を用いて参加可能である、現実の位置に関連付けられたイベントの数または分布の少なくとも1つを、地域の特性に応じて変更する変更手段として機能させ、前記変更手段は、ユーザの数または人口が閾値を超える地域において、ユーザの数または人口が閾値以下の地域と比較してより均一に前記イベントを分布させるプログラムを提供する。
【0004】
上記のプログラムにおいて、前記変更手段は、ユーザの数または人口が閾値以下の地域内において、ユーザまたは人の密度がより高い場所における前記イベントの密度を、ユーザまたは人の密度がより低い場所における前記イベントの密度よりも高くしてよい。
【0005】
上記のいずれかのプログラムにおいて、前記イベントは、複数のユーザが端末を用いて協同して参加可能なイベントであってよい。
【0006】
本発明の第2の態様においては、ユーザが端末を用いて参加可能である、現実の位置に関連付けられたイベントの数または分布の少なくとも1つを、地域の特性に応じて変更する変更手段を備え、前記変更手段は、ユーザの数または人口が閾値を超える地域において、ユーザの数または人口が閾値以下の地域と比較してより均一に前記イベントを分布させるシステムを提供する。
【0007】
なお、上記の発明の概要は、本発明の特徴の全てを列挙したものではない。また、これらの特徴群のサブコンビネーションもまた、発明となりうる。
【図面の簡単な説明】
【0008】
本実施形態に係るシステム10の構成を示す。
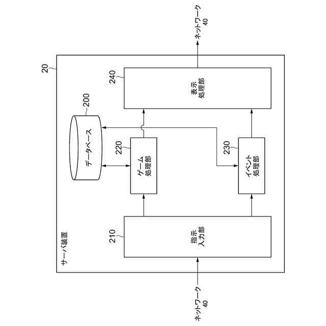
本実施形態に係るサーバ装置20の構成を示す。
データベース200に格納される、各ユーザに関するデータ構造の一例を示す。
本実施形態に係る端末装置30の構成を入力装置50および表示装置60と共に示す。
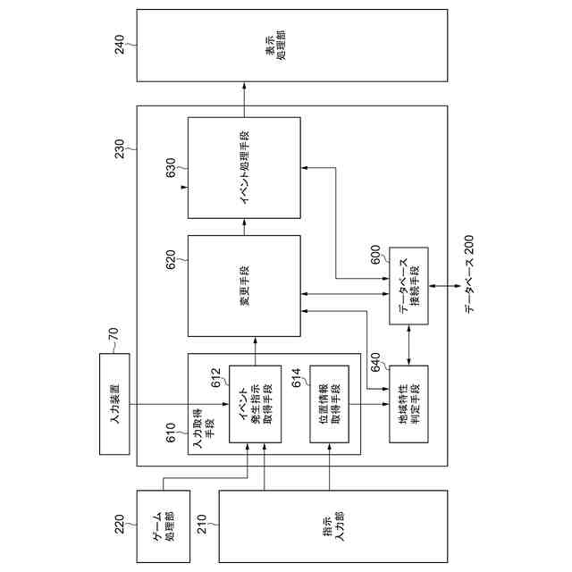
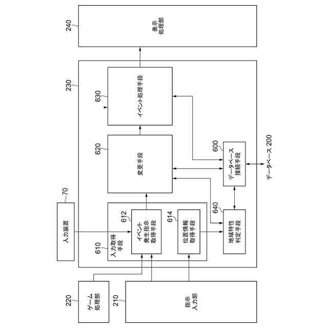
本実施形態に係るサーバ装置20における処理フローを示す。
本実施形態に係るイベント処理部230の構成を指示入力部210、ゲーム処理部220、表示処理部240および入力装置70と共に示す。
本実施形態に係るサーバ装置20におけるイベント処理フローを示す。
データベース200に格納される、地域に関するデータ構造の一例を示す。
データベース200に格納される、イベントに関するデータ構造の第1例を示す。
データベース200に格納される、イベントに関するデータ構造の第2例を示す。
本実施形態に係るサーバ装置20におけるイベント変更方法の第1例を示す。
本実施形態に係るサーバ装置20におけるイベント変更方法の第2例を示す。
本発明の複数の態様が全体的または部分的に具現化されてよいコンピュータ2200の例を示す。
【発明を実施するための形態】
【0009】
以下、発明の実施の形態を通じて本発明を説明するが、以下の実施形態は特許請求の範囲にかかる発明を限定するものではない。また、実施形態の中で説明されている特徴の組み合わせの全てが発明の解決手段に必須であるとは限らない。
【0010】
図1は、本実施形態に係るシステム10を示す。システム10は、サーバ装置20と、複数の端末装置30と、ネットワーク40とを備えるシステム10は、現実の位置に関連づけられたイベントを開催し、1または複数のユーザのそれぞれが1または複数の端末装置30のそれぞれを用いて参加可能とする機能を有する。
(【0011】以降は省略されています)
この特許をJ-PlatPat(特許庁公式サイト)で参照する
関連特許
株式会社コロプラ
プログラム
22日前
株式会社コロプラ
プログラム
18日前
株式会社コロプラ
プログラム
16日前
株式会社コロプラ
プログラム
9日前
株式会社コロプラ
プログラム及びシステム
18日前
株式会社コロプラ
プログラム及びシステム
15日前
株式会社コロプラ
プログラム及びシステム
18日前
株式会社コロプラ
プログラムおよびシステム
16日前
株式会社コロプラ
プログラムおよびシステム
16日前
株式会社コロプラ
プログラム、およびシステム
17日前
株式会社コロプラ
プログラム、およびシステム
16日前
株式会社コロプラ
プログラム、情報処理システム
16日前
株式会社コロプラ
プログラム及び情報処理システム
16日前
株式会社コロプラ
プログラム及び情報処理システム
18日前
株式会社コロプラ
プログラムおよび情報処理システム
16日前
株式会社コロプラ
プログラムおよび情報処理システム
16日前
株式会社コロプラ
プログラムおよび情報処理システム
16日前
株式会社コロプラ
プログラムおよび情報処理システム
16日前
株式会社コロプラ
プログラム、及び情報処理システム
16日前
株式会社コロプラ
プログラム、及び情報処理システム
16日前
株式会社コロプラ
プログラムおよび情報処理システム
16日前
株式会社コロプラ
プログラムおよび情報処理システム
16日前
株式会社コロプラ
ゲーム用プログラム
9日前
株式会社コロプラ
プログラム、およびシステム
11日前
株式会社コロプラ
プログラム、及び、システム
22日前
株式会社コロプラ
プログラム、及び、システム
11日前
株式会社コロプラ
プログラム、情報処理システム
22日前
株式会社コロプラ
プログラム、及び情報処理システム
11日前
株式会社コロプラ
プログラムおよび情報処理システム
11日前
株式会社コロプラ
プログラムおよび情報処理システム
23日前
個人
玩具
1か月前
個人
玩具
4か月前
個人
自走玩具
1か月前
個人
運動補助具
3か月前
個人
ゲーム玩具
5か月前
個人
打撃練習用具
16日前
続きを見る
他の特許を見る