TOP
|
特許
|
意匠
|
商標
特許ウォッチ
Twitter
他の特許を見る
公開番号
2025143492
公報種別
公開特許公報(A)
公開日
2025-10-01
出願番号
2025117515,2024133318
出願日
2025-07-11,2021-08-06
発明の名称
睡眠推定システム、睡眠推定方法、及びプログラム
出願人
京セラ株式会社
,
国立大学法人 筑波大学
代理人
弁理士法人 HARAKENZO WORLD PATENT & TRADEMARK
主分類
A61B
5/16 20060101AFI20250924BHJP(医学または獣医学;衛生学)
要約
【課題】睡眠段階を簡便に推定する。
【解決手段】睡眠推定装置は、血流データを取得する第1取得部と、血流データに対して周波数解析処理を実行することにより、血流データの周波数スペクトルを生成する生成部と、周波数スペクトルに基づき、被検体の睡眠段階を判定する第1判定部と、を備える。
【選択図】図1
特許請求の範囲
【請求項1】
被検体の血流データの周波数スペクトルに基づき、前記被検体の睡眠段階を判定する判定部と、
前記判定部の判定結果に基づく通知処理を実行する通知部と、を備え、
前記通知部は、前記判定部が、少なくとも前記周波数スペクトルが、0.2Hz以上かつ0.3Hz以下の周波数帯域を含む領域に所定の形状を含むと判定したとき、または該判定から所定時間経過後に、前記被検体に覚醒を促す通知を行い、
前記領域に含まれる前記所定の形状は、前記領域における最大強度である第1強度を含む、上に凸の波形形状である、睡眠推定システム。
続きを表示(約 1,800 文字)
【請求項2】
前記判定部は、前記周波数スペクトルにおいて、前記周波数帯域のうちの一部の第1範囲における前記第1強度が、前記第1範囲以外の第2範囲における第2強度よりも大きい場合に、前記所定の形状を含むと判定する、請求項1に記載の睡眠推定システム。
【請求項3】
前記被検体の血管に光を照射することにより発生する散乱光を受光することにより、前記血流データを検出する血流計を備える、請求項1又は2に記載の睡眠推定システム。
【請求項4】
前記被検体の血管に光を照射することにより発生する散乱光を受光することにより、前記血流データを検出する血流計を備えるウェアラブル機器を備える、請求項1又は2に記載の睡眠推定システム。
【請求項5】
被検体の血流データの周波数スペクトルに基づき、前記被検体の睡眠段階を判定する判定部と、前記判定部の判定結果に基づく通知処理を実行する通知部と、を備え、
前記判定部は、0.2Hz以上かつ0.3Hz以下の周波数帯域を含む領域において所定の形状を有する周波数スペクトルに前記血流データとは異なる生体情報に基づいた正解ラベルを紐づけた教師データを用いて学習させた学習済モデルに対し、前記血流データの周波数スペクトルを与えた場合に、正解に該当するかを判定し、
前記通知部は、前記判定部が正解に該当すると判定したとき、または該判定から所定時間経過後に、前記被検体に覚醒を促す通知を行い、
前記領域に含まれる前記所定の形状は、前記領域における最大強度である第1強度を含む、上に凸の波形形状であり、
前記生体情報は、脳波計により検出される脳波データである、睡眠推定システム。
【請求項6】
前記被検体の血管に光を照射することにより発生する散乱光を受光することにより、前記血流データを検出する血流計を備える、請求項5に記載の睡眠推定システム。
【請求項7】
前記被検体の血管に光を照射することにより発生する散乱光を受光することにより、前記血流データを検出する血流計を備えるウェアラブル機器を備える、請求項5に記載の睡眠推定システム。
【請求項8】
睡眠推定システムにおいて実行される睡眠推定方法であって、
前記睡眠推定システムが備える判定部が、被検体の血流データの周波数スペクトルに基づき、前記被検体の睡眠段階を判定する判定工程と、
前記睡眠推定システムが備える通知部が、前記判定工程において、少なくとも前記周波数スペクトルが、0.2Hz以上かつ0.3Hz以下の周波数帯域を含む領域に所定の形状を含むと判定したとき、または該判定から所定時間経過後に、前記被検体に覚醒を促す通知を行う通知工程と、を含み、
前記領域に含まれる前記所定の形状は、前記領域における最大強度である第1強度を含む、上に凸の波形形状である、睡眠推定方法。
【請求項9】
睡眠推定システムにおいて実行される睡眠推定方法であって、
前記睡眠推定システムが備える判定部が、被検体の血流データの周波数スペクトルに基づき、前記被検体の睡眠段階を判定する判定工程と、
前記睡眠推定システムが備える通知部が、前記判定工程における判定結果に基づく通知処理を実行する通知工程と、を含み、
前記判定工程では、0.2Hz以上かつ0.3Hz以下の周波数帯域を含む領域において所定の形状を有する周波数スペクトルに前記血流データとは異なる生体情報に基づいた正解ラベルを紐づけた教師データを用いて学習させた学習済モデルに対し、前記血流データの周波数スペクトルを与えた場合に、正解に該当するかを判定し、
前記通知工程では、前記判定工程において正解に該当すると判定したとき、または該判定から所定時間経過後に、前記被検体に覚醒を促す通知を行い、
前記領域に含まれる前記所定の形状は、前記領域における最大強度である第1強度を含む、上に凸の波形形状であり、
前記生体情報は、脳波計により検出される脳波データである、睡眠推定方法。
【請求項10】
請求項1に記載の睡眠推定システムとしてコンピュータを機能させるためのプログラムであって、前記判定部および前記通知部としてコンピュータを機能させるためのプログラム。
(【請求項11】以降は省略されています)
発明の詳細な説明
【技術分野】
【0001】
本開示は、被検体の睡眠段階の推定に関する。
続きを表示(約 2,600 文字)
【背景技術】
【0002】
特許文献1には、睡眠段階を検出する技術が記載されている。
【先行技術文献】
【特許文献】
【0003】
日本国特開2018-161432号公報
【発明の概要】
【0004】
本開示の一態様に係る睡眠推定システムは、被検体の血流データの周波数スペクトルに基づき、前記被検体の睡眠段階を判定する判定部と、前記判定部の判定結果に基づく通知処理を実行する通知部と、を備え、前記通知部は、前記判定部が、少なくとも前記周波数スペクトルが、0.2Hz以上かつ0.3Hz以下の周波数帯域を含む領域に所定の形状を含むと判定したとき、または該判定から所定時間経過後に、前記被検体に覚醒を促す通知を行い、前記領域に含まれる前記所定の形状は、前記領域における最大強度である第1強度を含む、上に凸の波形形状である。
【0005】
更に、本開示の一態様に係る睡眠推定システムは、被検体の血流データの周波数スペクトルに基づき、前記被検体の睡眠段階を判定する判定部と、前記判定部の判定結果に基づく通知処理を実行する通知部と、を備え、前記判定部は、0.2Hz以上かつ0.3Hz以下の周波数帯域を含む領域において所定の形状を有する周波数スペクトルに前記血流データとは異なる生体情報に基づいた正解ラベルを紐づけた教師データを用いて学習させた学習済モデルに対し、前記血流データの周波数スペクトルを与えた場合に、正解に該当するかを判定し、前記通知部は、前記判定部が正解に該当すると判定したとき、または該判定から所定時間経過後に、前記被検体に覚醒を促す通知を行い、前記領域に含まれる前記所定の形状は、前記領域における最大強度である第1強度を含む、上に凸の波形形状であり、前記生体情報は、脳波計により検出される脳波データである。
【0006】
更に、本開示の一態様に係る睡眠推定方法は、睡眠推定システムにおいて実行される睡眠推定方法であって、前記睡眠推定システムが備える判定部が、被検体の血流データの周波数スペクトルに基づき、前記被検体の睡眠段階を判定する判定工程と、前記睡眠推定システムが備える通知部が、前記判定工程において、少なくとも前記周波数スペクトルが、0.2Hz以上かつ0.3Hz以下の周波数帯域を含む領域に所定の形状を含むと判定したとき、または該判定から所定時間経過後に、前記被検体に覚醒を促す通知を行う通知工程と、を含み、前記領域に含まれる前記所定の形状は、前記領域における最大強度である第1強度を含む、上に凸の波形形状である。
【0007】
更に、本開示の一態様に係る睡眠推定方法は、睡眠推定システムにおいて実行される睡眠推定方法であって、前記睡眠推定システムが備える判定部が、被検体の血流データの周波数スペクトルに基づき、前記被検体の睡眠段階を判定する判定工程と、前記睡眠推定システムが備える通知部が、前記判定工程における判定結果に基づく通知処理を実行する通知工程と、を含み、前記判定工程では、0.2Hz以上かつ0.3Hz以下の周波数帯域を含む領域において所定の形状を有する周波数スペクトルに前記血流データとは異なる生体情報に基づいた正解ラベルを紐づけた教師データを用いて学習させた学習済モデルに対し、前記血流データの周波数スペクトルを与えた場合に、正解に該当するかを判定し、前記通知工程では、前記判定工程において正解に該当すると判定したとき、または該判定から所定時間経過後に、前記被検体に覚醒を促す通知を行い、前記領域に含まれる前記所定の形状は、前記領域における最大強度である第1強度を含む、上に凸の波形形状であり、
前記生体情報は、脳波計により検出される脳波データである。
【図面の簡単な説明】
【0008】
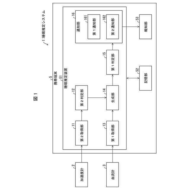
実施形態1の睡眠推定システムの概略的な構成例を示すブロック図である。
血流計が検出する血流波形データの一例を示すグラフである。
血流波形データに対してフーリエ変換処理を実行することにより生成された周波数スペクトルの一例を示すグラフである。
心電計が検出する心電波形データの一例を示すグラフである。
心電波形データに対してフーリエ変換処理を実行することにより生成された周波数スペクトルの一例を示すグラフである。
血流波形データに対するウェーブレット変換処理の結果の一例を示す画像である。
実施形態1の睡眠推定装置による処理の流れの一例を示すフローチャートである。
実施形態2の睡眠推定システムの概略的な構成例を示すブロック図である。
【発明を実施するための形態】
【0009】
以下、本開示に係る被検体の睡眠段階の判定(推定)について説明する。まず、本開示に係る被検体の睡眠段階の判定の元となる原理について説明する。本明細書において「A~B」と記載した場合、「A以上、かつB以下」を示すことに留意されたい。また、本明細書では、睡眠段階の判定に用いられる血流データの一例として、血流波形データを挙げて説明する。
【0010】
〔原理〕
図2は、血流計が検出する血流波形データの一例を示すグラフである。図2において、縦軸は、時間当たりの血流量に比例する値[単位:無次元]を示し、横軸は、測定時間[単位:min]を示す。血流計は、血流波形データとして、図2に示すような生波形データW1及び加工波形データW2を取得できる。加工波形データW2は、生波形データW1を、R波のピークを取得しやすいように加工した波形データである。加工波形データW2は、例えば、生波形データW1に平滑化処理を実行することにより生成される。加工波形データW2において、隣接するピーク(図中の逆三角形状が示す位置での血流量)間の時間間隔は、心拍間隔(RRI:R-R Interval)を示す。図4に示す心拍の生波形データW12においても同様に、隣接するピーク(図中の逆三角形状が示す位置での血流量)間の時間間隔は、心拍間隔(RRI)を示す。
(【0011】以降は省略されています)
この特許をJ-PlatPat(特許庁公式サイト)で参照する
関連特許
個人
健康器具
7か月前
個人
歯の掃除具
11か月前
個人
短下肢装具
2か月前
個人
歯茎みが品
8か月前
個人
鼾防止用具
7か月前
個人
前腕誘導装置
2か月前
個人
塗り薬塗り具
9か月前
個人
洗井間専家。
6か月前
個人
嚥下鍛錬装置
3か月前
個人
脈波測定方法
7か月前
個人
導電香
8か月前
個人
白内障治療法
6か月前
個人
脈波測定方法
7か月前
個人
マッサージ機
8か月前
個人
クリップ
8か月前
個人
バッグ式オムツ
3か月前
個人
発熱器具
11か月前
個人
胸骨圧迫補助具
1か月前
個人
アイマスク装置
1か月前
個人
片足歩行支援具
8か月前
個人
健康器具
9か月前
個人
矯正椅子
4か月前
個人
汚れ防止シート
6日前
個人
歯の修復用材料
3か月前
個人
ホバーアイロン
5か月前
個人
収納容器
9か月前
個人
染毛方法
10か月前
個人
眼科診療車
8か月前
個人
歯の保護用シール
4か月前
個人
口内洗浄具
7か月前
個人
哺乳瓶冷まし容器
2か月前
個人
車椅子持ち上げ器
6か月前
個人
陣痛緩和具
3か月前
三生医薬株式会社
錠剤
6か月前
個人
シャンプー
5か月前
個人
湿布連続貼り機。
1か月前
続きを見る
他の特許を見る