TOP
|
特許
|
意匠
|
商標
特許ウォッチ
Twitter
他の特許を見る
10個以上の画像は省略されています。
公開番号
2025144186
公報種別
公開特許公報(A)
公開日
2025-10-02
出願番号
2024043848
出願日
2024-03-19
発明の名称
培養容器及び培養キット並びに微生物の落下菌検査を行う方法
出願人
横河電機株式会社
代理人
弁理士法人平木国際特許事務所
主分類
C12M
1/00 20060101AFI20250925BHJP(生化学;ビール;酒精;ぶどう酒;酢;微生物学;酵素学;突然変異または遺伝子工学)
要約
【課題】検査の作業の煩雑さを解消できる培養容器及び培養キット並びに微生物の落下菌検査を行う方法を提供することにある。
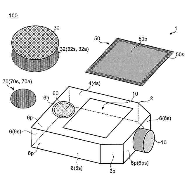
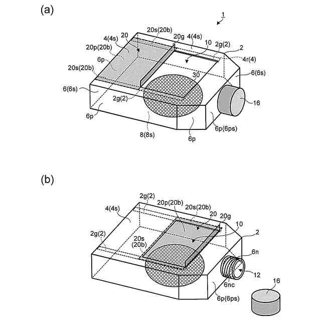
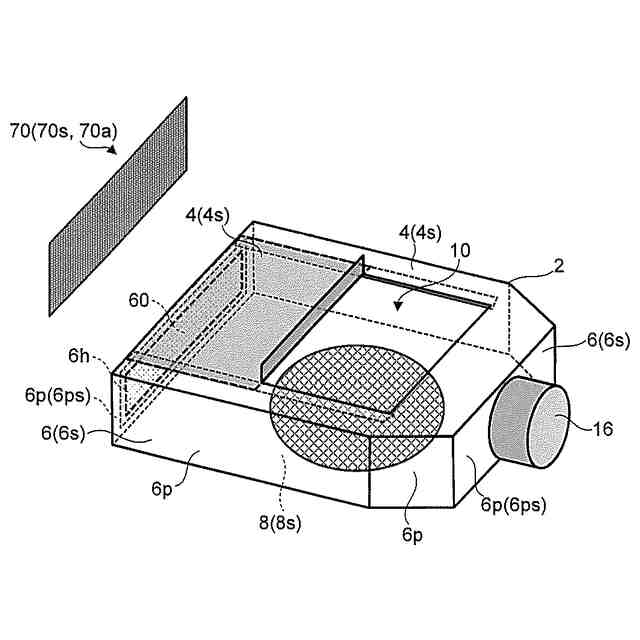
【解決手段】本発明の培養容器は、微生物の落下菌検査に用いられる培養容器であって、培養液を内部に収容可能な容器本体部を備え、上記容器本体部は、天部、胴部、及び底部を有し、上記天部には、上記培養容器上の環境中から落下する上記微生物を上記容器本体部の内部に受け入れるために構成された第1の開口部が設けられ、上記天部又は上記胴部には、上記培養液を注ぐために構成された第2の開口部が設けられ、上記培養容器は、上記第1の開口部を閉じる第1の蓋と、上記第2の開口部を閉じる第2の蓋と、をさらに備えることを特徴とする。
【選択図】図1
特許請求の範囲
【請求項1】
微生物の落下菌検査に用いられる培養容器であって、
培養液を内部に収容可能な容器本体部を備え、
前記容器本体部は、天部、胴部、及び底部を有し、
前記天部には、前記培養容器上の環境中から落下する前記微生物を前記容器本体部の内部に受け入れるために構成された第1の開口部が設けられ、
前記天部又は前記胴部には、前記培養液を注ぐために構成された第2の開口部が設けられ、
前記培養容器は、前記第1の開口部を閉じる第1の蓋と、前記第2の開口部を閉じる第2の蓋と、をさらに備える培養容器。
続きを表示(約 1,100 文字)
【請求項2】
前記第2の蓋は、前記第2の開口部に取り付け及び取り外しが可能なキャップであることを特徴とする請求項1に記載の培養容器。
【請求項3】
前記容器本体部の内部の底面において前記微生物が前記第1の開口部を介して落下する領域に配置された微生物捕集フィルターをさらに備えることを特徴とする請求項1に記載の培養容器。
【請求項4】
前記微生物捕集フィルターは、前記領域に接着剤により貼り付けられ、前記接着剤は、シリコーン系樹脂及びフッ素系樹脂からなる群から選択される少なくとも1種を含有することを特徴とする請求項3に記載の培養容器。
【請求項5】
前記天部及び前記胴部のうちの少なくとも一方に通気口が設けられ、前記通気口を覆うように液体を通さず空気を通す性質を有する通気性膜材が設けられたことを特徴とする請求項1に記載の培養容器。
【請求項6】
前記通気口を開閉する非通気性カバーであって、空気を通さない性質を有する非通気性カバーをさらに備えることを特徴とする請求項5に記載の培養容器。
【請求項7】
微生物の落下菌検査に用いられる培養キットであって、
請求項1、2、5、及び6のいずれか一項に記載の培養容器と、微生物捕集フィルターと、前記微生物捕集フィルターを、前記培養容器の前記容器本体部の内部の底面において前記微生物が前記第1の開口部を介して落下する領域に貼り付けるために用いられる貼付材と、を備えることを特徴とする培養キット。
【請求項8】
前記貼付材は、シリコーン系樹脂及びフッ素系樹脂からなる群から選択される少なくとも1種を含有する接着剤を含むことを特徴とする請求項7に記載の培養キット。
【請求項9】
請求項1から6のいずれか一項に記載の培養容器を用い、微生物の落下菌検査を行う方法であって、
前記第1の開口部を開けた状態にして、前記培養容器を検査箇所に配置する工程と、
前記培養容器を前記検査箇所に配置してから一定時間が経過するまで、前記培養容器上の環境中の微生物を、前記第1の開口部を介して前記容器本体部の内部に落下させることにより、微生物を採取する工程と、
前記微生物を採取した後に、前記第1の開口部又は前記第2の開口部を介して前記容器本体部の内部に液体培地を供給する工程と、
前記容器本体部の内部に供給された前記液体培地中で前記微生物を培養することで培養液を得る工程と、
前記培養液を前記容器本体部の内部から前記第2の開口部を介して前記培養容器の外部に取り出す工程と、
前記外部に取り出された前記培養液を用いて前記微生物を検査する工程と、を備えることを特徴とする方法。
発明の詳細な説明
【技術分野】
【0001】
本発明は、微生物の落下菌検査に用いられる培養容器及び培養キット、並びにその培養容器を用い、微生物の落下菌検査を行う方法に関する。
続きを表示(約 2,200 文字)
【背景技術】
【0002】
従来から、環境中の微生物の検査方法として落下菌法が知られている。落下菌法は、コッホ法とも呼ばれ、一定の大きさの寒天培地(平板培地)を一定時間開放後、寒天培地表面に落下した微生物を培養し、発育した微生物のコロニー(集落)を用いて、微生物の検査を行う方法である。この方法では、発育したコロニーの数を一定時間当たりの菌数として計測し、コロニーの釣菌を行い培養後の微生物の性状確認等の検査を行う。図9は、従来の落下菌法を使用した落下菌検査のフローを概略的に示すフローチャートであり、図10(a)~(d)は、従来の落下菌法を使用した落下菌検査を示す概略工程図である。
【0003】
従来の落下菌法を使用した落下菌検査においては、図9のフローチャートの通り、まず、図10(a)に示されるように、寒天培地を入れたシャーレをその蓋を開けた状態で検査箇所に配置する(シャーレの検査箇所への配置)。次に、シャーレを検査箇所に配置してから一定時間が経過するまで、シャーレをその蓋を開けた状態で検査箇所に配置した状態に維持する。これによって、シャーレ上の環境中の微生物を、シャーレ内の寒天培地に落下させる。その後、図10(a)及び(b)に示されるように、下向きにした蓋に対して、寒天培地が上側となるようにシャーレを下向きにした状態で入れることでシャーレの蓋を閉じる。これにより、微生物を採取する(微生物の採取)。次に、蓋を閉じたシャーレを、培養対象の微生物の培養に必要となる温度範囲に設定したインキュベータ(図示せず)内に設置して所定時間維持することにより、図10(c)に示されるように、シャーレ内の寒天培地で微生物を固相培養する(微生物の培養)。次に、培養後の微生物のコロニーの数を計数する(コロニー数の計数)。次に、図10(d)に示されるように、白金耳を使用してコロニーを釣菌する(コロニーの釣菌)。次に、釣菌したコロニーを使用し、培養後の微生物の性状確認等の検査を行う(微生物の検査)。
【0004】
以上の落下菌検査のような従来の微生物の培養及び検査に関する技術として、例えば、微生物を培養するためのフィルム状培地に関する技術が知られている(特許文献1)。この技術によれば、培地調製の手間を省き、保存性の良い、省スペースで省廃棄量の培地を提供することができる。
【先行技術文献】
【特許文献】
【0005】
特開2007-20434号公報
【発明の概要】
【発明が解決しようとする課題】
【0006】
従来の落下菌検査では、上記のように、培養後の微生物の性状確認等の検査を行うために、コロニーの釣菌を行う必要がある。釣菌の作業は、煩雑であるため手間や時間がかかる。
【0007】
本発明は、このような点を鑑みてなされ、その目的は、微生物の落下菌検査に用いられる培養容器及び培養キット並びに微生物の落下菌検査を行う方法であって、検査の作業の煩雑さを解消できる培養容器及び培養キット並びに微生物の落下菌検査を行う方法を提供することにある。
【課題を解決するための手段】
【0008】
上記課題を解決すべく、本発明の培養容器は、微生物の落下菌検査に用いられる培養容器であって、培養液を内部に収容可能な容器本体部を備え、上記容器本体部は、天部、胴部、及び底部を有し、上記天部には、上記培養容器上の環境中から落下する上記微生物を上記容器本体部の内部に受け入れるために構成された第1の開口部が設けられ、上記天部又は上記胴部には、上記培養液を注ぐために構成された第2の開口部が設けられ、上記培養容器は、上記第1の開口部を閉じる第1の蓋と、上記第2の開口部を閉じる第2の蓋と、をさらに備えることを特徴とする。
【0009】
また、本発明の培養キットは、微生物の落下菌検査に用いられる培養キットであって、上述した培養容器と、微生物捕集フィルターと、上記微生物捕集フィルターを、上記培養容器の上記容器本体部の内部の底面において上記微生物が上記第1の開口部を介して落下する領域に貼り付けるために用いられる貼付材と、を備えることを特徴とする。
【0010】
また、本発明の微生物の落下菌検査を行う方法は、上述した培養容器を用い、微生物の落下菌検査を行う方法であって、上記第1の開口部を開けた状態にして、上記培養容器を検査箇所に配置する工程と、上記培養容器を上記検査箇所に配置してから一定時間が経過するまで、上記培養容器上の環境中の微生物を、上記第1の開口部を介して上記容器本体部の内部に落下させることにより、微生物を採取する工程と、上記微生物を採取した後に、上記第1の開口部又は上記第2の開口部を介して上記容器本体部の内部に液体培地を供給する工程と、上記容器本体部の内部に供給された上記液体培地中で上記微生物を培養することで培養液を得る工程と、上記培養液を上記容器本体部の内部から上記第2の開口部を介して上記培養容器の外部に取り出す工程と、上記外部に取り出された上記培養液を用いて上記微生物を検査する工程と、を備えることを特徴とする。
【発明の効果】
(【0011】以降は省略されています)
この特許をJ-PlatPat(特許庁公式サイト)で参照する
関連特許
横河電機株式会社
測定器
12日前
横河電機株式会社
コントローラ
1日前
横河電機株式会社
厚さ測定装置
2か月前
横河電機株式会社
藻類培養装置
22日前
横河電機株式会社
温度測定装置
12日前
横河電機株式会社
情報プログラム
1日前
横河電機株式会社
測定装置及び測定方法
9日前
横河電機株式会社
ベースマップの注釈付け
1か月前
横河電機株式会社
測定装置および測定方法
1か月前
横河電機株式会社
装置、方法及びプログラム
12日前
横河電機株式会社
研磨用治具および研磨方法
22日前
横河電機株式会社
測定方法及び測定システム
12日前
横河電機株式会社
光パルス試験器及び測定方法
8日前
横河電機株式会社
装置、方法およびプログラム
23日前
横河電機株式会社
装置、方法およびプログラム
1か月前
横河電機株式会社
フィールド機器及び診断方法
8日前
横河電機株式会社
測定装置および推定システム
1か月前
横河電機株式会社
装置、方法およびプログラム
22日前
横河電機株式会社
装置、方法およびプログラム
2日前
横河電機株式会社
測定装置および回転検出方法
1か月前
横河電機株式会社
水処理システム及び水処理方法
1か月前
横河電機株式会社
装置、方法、およびプログラム
2日前
横河電機株式会社
情報処理装置及び情報処理方法
1か月前
横河電機株式会社
装置、方法、およびプログラム
9日前
横河電機株式会社
装置、方法、およびプログラム
22日前
横河電機株式会社
菌体培養槽および菌体培養方法
10日前
横河電機株式会社
蛍光読取装置および蛍光読取方法
10日前
横河電機株式会社
分散制御ノード(DCN)冗長性
8日前
横河電機株式会社
制御プログラム及びコントローラ
1日前
横河電機株式会社
細胞穿刺装置及び顕微鏡システム
1日前
横河電機株式会社
細胞穿刺装置及び顕微鏡システム
1日前
横河電機株式会社
メタン生成装置及びメタン生成方法
12日前
横河電機株式会社
センサ装置、調整方法及び調整装置
1か月前
横河電機株式会社
表面散乱型濁度計及び濁度測定方法
10日前
横河電機株式会社
解析装置、訓練装置およびプログラム
10日前
横河電機株式会社
測定装置、測定方法、及びプログラム
15日前
続きを見る
他の特許を見る