TOP
|
特許
|
意匠
|
商標
特許ウォッチ
Twitter
他の特許を見る
公開番号
2025144917
公報種別
公開特許公報(A)
公開日
2025-10-03
出願番号
2024044839
出願日
2024-03-21
発明の名称
印刷装置
出願人
沖電気工業株式会社
代理人
個人
,
個人
,
個人
主分類
B41J
29/38 20060101AFI20250926BHJP(印刷;線画機;タイプライター;スタンプ)
要約
【課題】印刷の完了後に無駄に電力が消費されてしまうことを防止する。
【解決手段】画像形成装置120は、画像形成部127と、操作の入力を受け付ける操作部122と、画像形成部127を動作可能とする第1の電力状態と、画像形成部127を動作不可能とするとともに、操作部122における一部の操作の入力を停止することで、第1の電力状態よりも電力の消費が少ない第2の電力状態との間で、モードを移行させる電力制御部128と、第1の電力状態から第2の電力状態への移行の許可及び不許可を制御するUI制御部124とを備える。電力制御部128は、第1時間が経過した場合、又は、画像形成部127での画像の形成が完了した場合に、UI制御部124が第2の電力状態への移行を許可していれば、第1の電力状態から第2の電力状態へ移行させ、UI制御部124は、画像形成の指示を受けた場合に、第1の電力状態から第2の電力状態への移行を許可する。
【選択図】図1
特許請求の範囲
【請求項1】
印刷を実行する印刷部と、
ユーザからの操作の入力を受け付ける操作部と、
前記印刷部を動作可能とする第1の電力状態と、前記印刷部を動作不可能とするとともに、前記操作部における一部の操作の入力を停止することで、前記第1の電力状態よりも電力の消費が少ない第2の電力状態との間で、モードを移行させる電力制御部と、
前記第1の電力状態から前記第2の電力状態への移行の許可及び不許可を制御するUI制御部と、を備え、
前記電力制御部は、前記第1の電力状態から前記第2の電力状態へ移行するための待機時間である第1時間が経過した場合、又は、前記印刷部での印刷が完了した場合に、前記UI制御部が前記第2の電力状態への移行を許可していれば、前記第1の電力状態から前記第2の電力状態へ移行させ、
前記UI制御部は、前記印刷部による印刷の指示を受けた場合に、前記第1の電力状態から前記第2の電力状態への移行を許可すること
を特徴とする印刷装置。
続きを表示(約 530 文字)
【請求項2】
前記UI制御部は、前記第2の電力状態への移行を抑止するための時間である第2時間が経過した場合にも、前記第1の電力状態から前記第2の電力状態への移行を許可すること
を特徴とする請求項1に記載の印刷装置。
【請求項3】
時間を計測する計時部をさらに備え、
前記UI制御部は、前記操作部に対して、前記印刷部による印刷の指示を行うための操作以外の操作が行われた場合に、前記計時部に前記第2時間の計測を開始させること
を特徴とする請求項2に記載の印刷装置。
【請求項4】
時間を計測する計時部をさらに備え、
前記UI制御部は、前記操作部に対して、前記印刷部による印刷の指示を行うためのメニューの表示を指示する操作が行われた場合に、前記計時部に前記第2時間の計測を開始させること
を特徴とする請求項2に記載の印刷装置。
【請求項5】
時間を計測する計時部と、
認証を行う認証部と、をさらに備え、
前記UI制御部は、前記ユーザの認証が成功した場合に、前記計時部に前記第2時間の計測を開始させること
を特徴とする請求項2に記載の印刷装置。
発明の詳細な説明
【技術分野】
【0001】
本開示は、印刷装置に関する。
続きを表示(約 1,700 文字)
【背景技術】
【0002】
近年、画像形成装置を使用しない場合に、画像形成装置を省電力モードに移行させることで、電力の消費を削減することが行われている。
例えば、特許文献1には、印刷ジョブに省電力モードへの移行時間を付与し、印刷完了後にその設定時間に従って省電力モードへ移行する技術が開示されている。
【先行技術文献】
【特許文献】
【0003】
特開2015-069285号公報
【発明の概要】
【発明が解決しようとする課題】
【0004】
省電力モード中は、画像形成装置に備わる操作部の操作が不可能にされている場合がある。このような場合、画像形成装置を操作中に印刷完了に伴いすぐに省電力モードへ移行してしまうと、ユーザの利便性が損なわれてしまう。
このため、操作毎に省電力モードへの移行抑止時間を設け、最終操作から一定時間は省電力モードへの移行を抑止する必要が生じる。
【0005】
しかしながら、印刷実行操作による省電力モードへの移行抑止時間が印刷完了しても継続している場合、印刷実行後は操作が行われなくても、印刷完了後も省電力モードへの移行が抑止されてしまい、不要な電力が消費されるという問題があった。
【0006】
そこで、本開示の一又は複数の態様によれば、印刷の完了後に無駄に電力が消費されてしまうことを防止することを目的とする。
【課題を解決するための手段】
【0007】
本開示の一態様に係る印刷装置は、印刷を実行する印刷部と、ユーザからの操作の入力を受け付ける操作部と、前記印刷部を動作可能とする第1の電力状態と、前記印刷部を動作不可能とするとともに、前記操作部における一部の操作の入力を停止することで、前記第1の電力状態よりも電力の消費が少ない第2の電力状態との間で、モードを移行させる電力制御部と、前記第1の電力状態から前記第2の電力状態への移行の許可及び不許可を制御するUI制御部と、を備え、前記電力制御部は、前記第1の電力状態から前記第2の電力状態へ移行するための待機時間である第1時間が経過した場合、又は、前記印刷部での印刷が完了した場合に、前記UI制御部が前記第2の電力状態への移行を許可していれば、前記第1の電力状態から前記第2の電力状態へ移行させ、前記UI制御部は、前記印刷部による印刷の指示を受けた場合に、前記第1の電力状態から前記第2の電力状態への移行を許可することを特徴とする。
【発明の効果】
【0008】
本開示の一又は複数の態様によれば、印刷の完了後に無駄に電力が消費されてしまうことを防止することができる。
【図面の簡単な説明】
【0009】
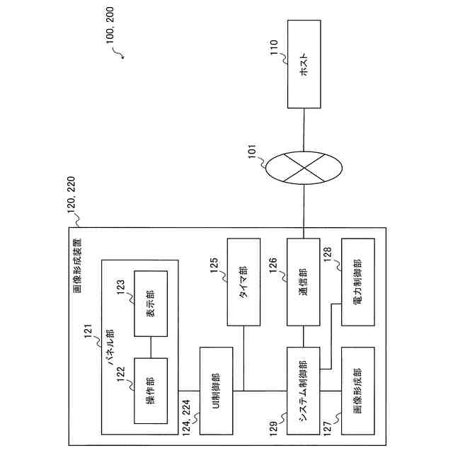
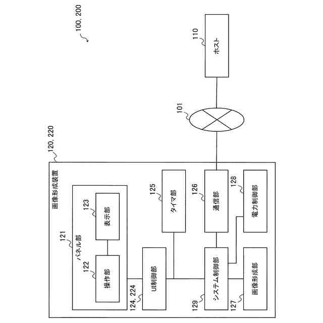
実施の形態1及び2に係る画像形成システムの構成を概略的に示すブロック図である。
(A)及び(B)は、ハードウェア構成例を示すブロック図である。
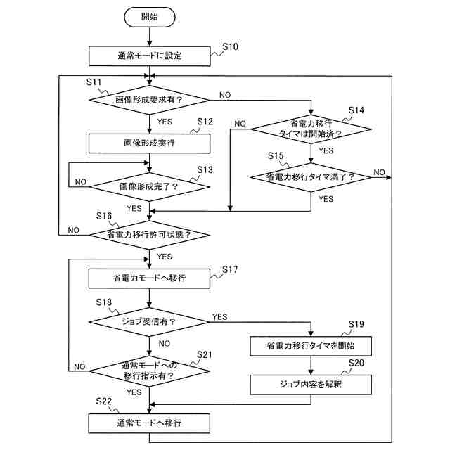
通常モード及び省電力モードの移行制御を説明するフローチャートである。
実施の形態1に係る画像形成装置の起動が完了してから、UI制御部が省電力モードへの移行を抑止する動作を示すフローチャートである。
実施の形態2に係る画像形成装置の起動が完了してから、UI制御部が省電力モードへの移行を抑止する動作を示すフローチャートである。
実施の形態3に係る画像形成システムの構成を概略的に示すブロック図である。
実施の形態3に係る画像形成装置の起動が完了してから、UI制御部が省電力モードへの移行を抑止する動作を示すフローチャートである。
画像形成装置の認証動作を示すフローチャートである。
【発明を実施するための形態】
【0010】
実施の形態1.
図1は、実施の形態1に係る印刷システムとしての画像形成システム100の構成を概略的に示すブロック図である。
画像形成システム100は、ホスト110と、画像形成装置120とを備える。
(【0011】以降は省略されています)
この特許をJ-PlatPat(特許庁公式サイト)で参照する
関連特許
個人
箔熱転写装置
28日前
シヤチハタ株式会社
印判
4か月前
シヤチハタ株式会社
反転式印判
9か月前
キヤノン株式会社
記録装置
21日前
独立行政法人 国立印刷局
印刷物
6か月前
三光株式会社
感熱記録材料
6か月前
株式会社リコー
液体吐出装置
5か月前
株式会社リコー
液体吐出装置
3か月前
株式会社リコー
画像形成装置
28日前
株式会社リコー
画像形成装置
5日前
株式会社リコー
液体吐出装置
1か月前
株式会社リコー
液体吐出装置
7か月前
株式会社リコー
液体吐出装置
5か月前
株式会社リコー
画像形成装置
9日前
株式会社リコー
液体吐出装置
4か月前
株式会社リコー
液体吐出装置
7か月前
独立行政法人 国立印刷局
貼付装置
1か月前
株式会社リコー
印刷システム
9日前
日本製紙株式会社
感熱記録体
7か月前
独立行政法人 国立印刷局
記録媒体
8か月前
独立行政法人 国立印刷局
貼付機構
1か月前
株式会社リコー
液体吐出装置
8か月前
キヤノン株式会社
画像形成装置
7か月前
キヤノン株式会社
画像形成装置
1か月前
キヤノン株式会社
画像形成装置
8か月前
キヤノン株式会社
画像形成装置
8か月前
キヤノン株式会社
画像記録装置
21日前
キヤノン株式会社
情報処理装置
9か月前
キヤノン株式会社
画像形成装置
3か月前
ブラザー工業株式会社
プリンタ
4か月前
ブラザー工業株式会社
プリンタ
6か月前
ブラザー工業株式会社
プリンタ
7か月前
キヤノン株式会社
画像形成装置
8か月前
理想科学工業株式会社
印刷装置
6か月前
ブラザー工業株式会社
プリンタ
8か月前
ブラザー工業株式会社
プリンタ
6か月前
続きを見る
他の特許を見る