TOP
|
特許
|
意匠
|
商標
特許ウォッチ
Twitter
他の特許を見る
公開番号
2025145178
公報種別
公開特許公報(A)
公開日
2025-10-03
出願番号
2024045225
出願日
2024-03-21
発明の名称
プリンタ
出願人
東芝テック株式会社
代理人
弁理士法人酒井国際特許事務所
主分類
B41J
15/00 20060101AFI20250926BHJP(印刷;線画機;タイプライター;スタンプ)
要約
【課題】ロール紙から引き出した用紙に印字するプリンタにおいて、用紙の搬送や印字品質の安定を得る。
【解決手段】プリンタは、帯状の用紙が巻かれたロール紙を収容する収容部と、前記収容部から前記用紙を引き出す搬送部と、前記収容部と前記搬送部との間に設けられ、前記ロール紙の円筒状の外周面と当該ロール紙から引き出される前記用紙との離れ際の角度を、所定の鋭角に保つ保持部と、を備える。
【選択図】図5
特許請求の範囲
【請求項1】
帯状の用紙が巻かれたロール紙を収容する収容部と、
前記収容部から前記用紙を引き出す搬送部と、
前記収容部と前記搬送部との間に設けられ、前記ロール紙の円筒状の外周面と当該ロール紙から引き出される前記用紙との離れ際の角度を、所定の鋭角に保つ保持部と、
を備えるプリンタ。
続きを表示(約 410 文字)
【請求項2】
前記保持部は、前記離れ際で、前記ロール紙の外周面を押さえ、当該外周面と前記用紙との間に入る突出形状を有し、当該突出形状の先端部に、前記用紙に接して転がるローラを備える
請求項1に記載のプリンタ。
【請求項3】
前記収容部は、前記突出形状の先端部に対向する位置に、前記突出形状で押さえられた前記ロール紙の外周面を押さえる、押さえ面を有する
請求項2に記載のプリンタ。
【請求項4】
前記押さえ面の前記突出形状の先端部が対向する位置の下流側に、前記搬送部による前記用紙の搬送に要する力の変動を吸収する、ダンパが設けられている
請求項3に記載のプリンタ。
【請求項5】
前記搬送部は、帯状の用紙に印字する印字ヘッドとの間に用紙を挟み、回転駆動されて前記用紙を搬送するプラテンローラを含んで構成される
請求項1に記載のプリンタ。
発明の詳細な説明
【技術分野】
【0001】
本発明の実施形態は、プリンタに関する。
続きを表示(約 1,500 文字)
【背景技術】
【0002】
従来、プリンタにおいては、用紙の搬送状態が乱れると、印字状態が乱れるため、印字品質を安定させるためには、用紙の搬送状態を安定させることが必要である。特に、帯状の用紙が巻かれたロール紙を用いるプリンタ(例えば特許文献1)では、ロール紙から用紙を引き出しながら印字するため、用紙の搬送路にダンパを設ける等により、ロール紙の回転し始め等の、搬送に要する力(搬送力)の変動を、印字に影響させないよう構成している。
【0003】
しかしながら、ロール紙が、例えば台紙なしのラベルが巻かれたものの場合、用紙を引き出す搬送力にはラベルを剥がす力の変動も関わるため、印字品質への影響が大きくなりがちである。これは、ロール紙を収容する収容部が、いわゆる投げ込み式(ドロップイン式)であると、さらに顕著である。また、プリンタが対応する用紙が単一でなかったり、幅の種類が多かったりすると、より顕著である。
【発明の概要】
【発明が解決しようとする課題】
【0004】
本発明が解決しようとする課題は、ロール紙から引き出した用紙に印字するプリンタにおける用紙の搬送や印字品質の安定を提供することである。
【課題を解決するための手段】
【0005】
実施形態のプリンタは、帯状の用紙が巻かれたロール紙を収容する収容部と、前記収容部から前記用紙を引き出す搬送部と、前記収容部と前記搬送部との間に設けられ、前記ロール紙の円筒状の外周面と当該ロール紙から引き出される前記用紙との離れ際の角度を、所定の鋭角に保つ保持部と、を備える。
【図面の簡単な説明】
【0006】
図1は、実施形態のプリンタ1の外観の一例を示す斜視図である。
図2は、プリンタ1の内部構造の一例を示す断面図である。
図3は、蓋部3を開けた状態のプリンタ1を示す断面図である。
図4は、蓋部3を開けた状態のプリンタ1を示す斜視図である。
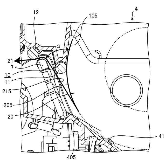
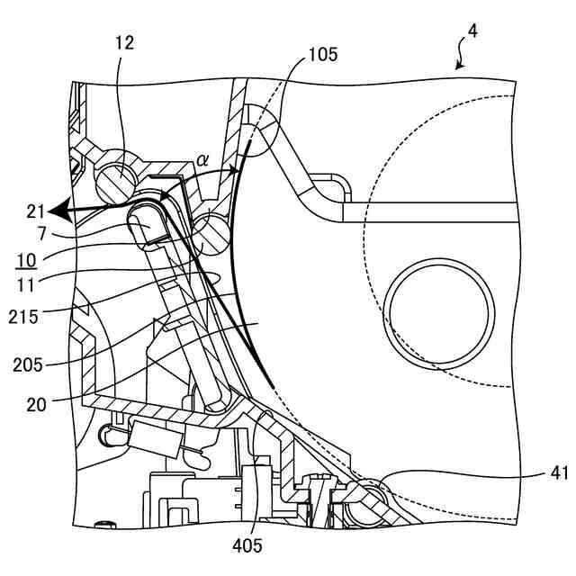
図5は、ロール紙20からの用紙21の剥がれ際と保持部10との関わりを説明する図である。
【発明を実施するための形態】
【0007】
(第1実施形態)
実施形態について図面を用いて説明する。図1は、実施形態のプリンタ1の外観の一例を示す斜視図である。図1の斜視図は、プリンタ1の上面、正面および右側面が見え、プリンタ1の底面、背面および左側面が見えない状態を示す。図2は、プリンタ1の内部構造の一例を示す断面図である。
【0008】
プリンタ1は、筐体2、蓋部3、収容部4、印字ヘッド5、プラテンローラ6、ダンパ7、カッターユニット8、保持部10などを備える。プリンタ1は、主に、図1に示すように蓋部3を上向きした置き方や、図1で図中手前の面を上向きにする置き方で、使用される。
【0009】
図3は、蓋部3を開けた状態のプリンタ1を示す断面図である。図4は、蓋部3を開けた状態のプリンタ1を示す斜視図である。
【0010】
筐体2は、蓋部3により開閉される開口部を有する容器である。蓋部3は、一端部に設けられた軸35を中心に、筐体2の開口部の端に回動可能に取り付けられ、回動に伴い、筐体2の開口部を閉じる位置(閉じ位置)と開放する位置(開放位置)との間を移動する。蓋部3が閉じ位置に位置する状態で、蓋部3の他端部(一端部の反対側の端部)と筐体2との間との間に、排紙口9が形成される。
(【0011】以降は省略されています)
この特許をJ-PlatPat(特許庁公式サイト)で参照する
関連特許
東芝テック株式会社
レシート管理サーバ及びレシート管理システム
2日前
個人
箔熱転写装置
1か月前
シヤチハタ株式会社
印判
4か月前
東レ株式会社
凸版印刷版原版
10か月前
シヤチハタ株式会社
反転式印判
9か月前
三菱製紙株式会社
感熱記録材料
10か月前
三光株式会社
感熱記録材料
6か月前
独立行政法人 国立印刷局
印刷物
7か月前
キヤノン株式会社
記録装置
24日前
独立行政法人 国立印刷局
貼付装置
1か月前
株式会社リコー
画像形成装置
12日前
株式会社リコー
画像形成装置
1か月前
株式会社リコー
液体吐出装置
8か月前
株式会社リコー
液体吐出装置
6か月前
独立行政法人 国立印刷局
記録媒体
8か月前
株式会社リコー
液体吐出装置
2か月前
株式会社リコー
印刷システム
12日前
独立行政法人 国立印刷局
貼付機構
1か月前
株式会社リコー
液体吐出装置
5か月前
株式会社リコー
画像形成装置
8日前
株式会社リコー
液体吐出装置
7か月前
日本製紙株式会社
感熱記録体
7か月前
株式会社リコー
液体吐出装置
4か月前
株式会社リコー
液体吐出装置
7か月前
株式会社リコー
液体吐出装置
4か月前
キヤノン株式会社
画像記録装置
24日前
キヤノン株式会社
印刷システム
7か月前
キヤノン株式会社
画像形成装置
8か月前
キヤノン株式会社
画像形成装置
8か月前
ブラザー工業株式会社
プリンタ
6か月前
ブラザー工業株式会社
プリンタ
4か月前
キヤノン株式会社
画像形成装置
6か月前
キヤノン株式会社
画像形成装置
7か月前
フジコピアン株式会社
中間転写シート
9か月前
キヤノン株式会社
印刷制御装置
10か月前
キヤノン株式会社
画像形成装置
8か月前
続きを見る
他の特許を見る