TOP
|
特許
|
意匠
|
商標
特許ウォッチ
Twitter
他の特許を見る
公開番号
2025022425
公報種別
公開特許公報(A)
公開日
2025-02-14
出願番号
2023126980
出願日
2023-08-03
発明の名称
LED光源基盤
出願人
個人
代理人
主分類
F21V
23/00 20150101AFI20250206BHJP(照明)
要約
【課題】本発明では調光・調色・点滅パターンの制御が容易にでき、増設も簡易にできるマーカーランプ用LED光源基盤を提供する。
【解決手段】基盤100に備えられたネオピクセルLED素子200を、一部の素子の出力信号のみを処理することにより複数個並列に並べる事を可能にした接続方法により数個並列に接続する事でマーカーのレンズを均一に光らせる。
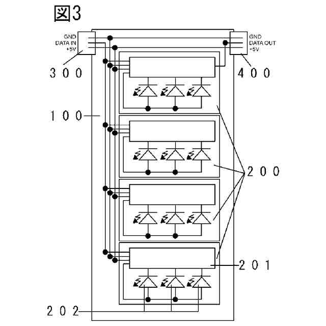
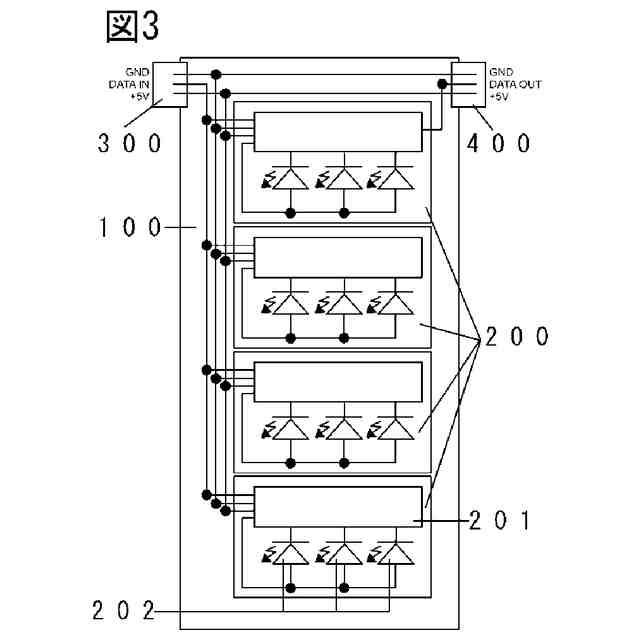
【選択図】図3
特許請求の範囲
【請求項1】
ネオピクセルLEDが複数個並列に接続されたことを特徴とする、ネオピクセルLED光源基盤。
続きを表示(約 160 文字)
【請求項2】
請求項1の並列接続されたネオピクセルLEDを、一部の素子の出力信号のみを処理することにより複数個並列に並べる事を可能にした回路構成を特徴とするネオピクセルLED光源基盤。
【請求項3】
請求項2の回路構成に入力・出力のそれぞれのカプラを備える事を特徴とするネオピクセルLED光源基盤。
発明の詳細な説明
【技術分野】
【0001】
本発明は照明装置の技術分野に属し、具体的には、自動車用マーカーランプ、イベント車両の装飾、家庭用イルミネーション、店頭看板用装飾などの幅広い面で活用可能なイルミネーションランプの改良に関するものである。
続きを表示(約 1,200 文字)
【背景技術】
【0002】
図2で示す通り従来のリレーシステムでは交互点滅や光が流れる等の複雑な点灯パターンの演出を行う際、複数個のマーカーランプをアナログリレー機から出力される複数系統の配線と、RGB式LED光源の配線を複数本、複雑な結線を必要としていた。
【0003】
つまり、図2は5個のリレーパターンを繰り返す回路図だが、一つの指示に対し1本の配線となるので点灯パターンや発光色が増えればその分配線も増える。
【0004】
配線と繋いだRGB LEDはICが内臓されていない為同じ働きしかせず、例えば赤の発色信号を送る配線で繋がれたそれぞれのLED素子は赤以外の他の色に発光する事が出来ず発色の自由度が低かった。
【0005】
従来ネオピクセルLEDは、非特許文献にも記載がある通り直列接続が指定されており、専門知識を用いた上でプログラムを構成すればかなりの手間と労力はかかり直列接続のままではあるが、本発明と同じ光り方は可能と思われるのだが並列接続は困難であった。
【0006】
1回路に複数個のフルカラーアドレッサブルLEDを使用して発光、調色、点滅等のデータを入力すると、データ数に応じた複数の光り方が発生してしまう。すなわちガラスケース内に電球を収める形のマーカーランプ等では、レンズ内で複数の光り方が発生してしまう為、光源基板として使うには1個のみしか実装できず光量不足であった
【0007】
並列接続を加工なしで行った場合、複数のDATA OUT信号が混同してしまい、信号を受信した後続のネオピクセルLEDが的確な処理ができなくなり、正しく発光する事ができなくなる。
【0008】
例えばこの特許文献1に開示されている従来型トラック用サイドマーカーランプでは、使用用途に応じた発光の色変更は不可能、またイベント使用時等の点灯パターンや調色の変更は不可能であるため、内部基盤の変更などが必要である上に、リレー回路を要する場合は複雑な配線の連結が不可欠である。
【先行技術文献】
【特許文献】
【0009】
実登3199053
【非特許文献】
【0010】
株式会社ワールドセミ,主な製品,WS2812B仕様書,[online],平成19年9月18日,株式会社ワールドセミ [令和5年7月19日検索],インターネット 〈URL:http://www.world-semi.com/ws2812-family/〉
【発明の概要】
【発明が解決しようとする課題】
(【0011】以降は省略されています)
この特許をJ-PlatPat(特許庁公式サイト)で参照する
関連特許
個人
室外機器
3か月前
個人
照明システム
3か月前
個人
LED光源基盤
7か月前
個人
気泡を用いた遊具。
5か月前
個人
車載機器の通気構造
28日前
株式会社遠藤照明
照明器具
4か月前
株式会社遠藤照明
照明装置
19日前
株式会社小糸製作所
車両用灯具
1日前
個人
LEDライト
3か月前
能美防災株式会社
表示灯
28日前
デンカ株式会社
照明装置
3か月前
株式会社小糸製作所
車両用灯具
1日前
デンカ株式会社
道路用照明
3か月前
株式会社小糸製作所
投光装置
28日前
瀧住電機工業株式会社
ダクトレール
6か月前
スタンレー電気株式会社
照射用光源
5日前
アクア株式会社
冷蔵庫
2か月前
株式会社小糸製作所
誘導装置
12日前
フルトラム株式会社
光学機器
今日
株式会社小糸製作所
投光装置
28日前
株式会社小糸製作所
車両用灯具
4か月前
株式会社小糸製作所
車両用灯具
6か月前
株式会社オカムラ
間仕切り装置
6か月前
株式会社小糸製作所
車両用灯具
4か月前
株式会社小糸製作所
車両用灯具
6か月前
株式会社小糸製作所
車両用灯具
3か月前
株式会社小糸製作所
車両用灯具
4か月前
株式会社小糸製作所
車両用灯具
6か月前
株式会社小糸製作所
車両用灯具
3か月前
株式会社小糸製作所
車両用灯具
3か月前
株式会社小糸製作所
車両用灯具
3か月前
株式会社小糸製作所
表示用灯具
5日前
株式会社小糸製作所
描画用灯具
6か月前
株式会社小糸製作所
車両用灯具
6か月前
株式会社小糸製作所
車両用灯具
7か月前
株式会社小糸製作所
表示用灯具
5日前
続きを見る
他の特許を見る