TOP
|
特許
|
意匠
|
商標
特許ウォッチ
Twitter
他の特許を見る
公開番号
2025145862
公報種別
公開特許公報(A)
公開日
2025-10-03
出願番号
2024046332
出願日
2024-03-22
発明の名称
音声出力システム
出願人
大阪瓦斯株式会社
代理人
個人
主分類
G08B
23/00 20060101AFI20250926BHJP(信号)
要約
【課題】特定の人向けのイベント音声の内容を特定の人に知らせ易い音声出力システムを提供する。
【解決手段】制御部Hを、人検知部15にて人を検知している場合に、出力対象の人特定イベント音声を出力するように音声出力部18を制御するイベント音声出力制御を実行可能に構成されると共に、機器検知部24にて人特定機器2を検知している場合に、人特定イベント音声のうちで検知している人特定機器2に紐づけられた特定の人を対象とする人特定イベント音声のみを出力対象とする人特定モードに設定し、機器検知部24にて人特定機器2を検知していない場合に、全ての人特定イベント音声を出力対象とする人不特定モードに設定するように構成する。
【選択図】図2
特許請求の範囲
【請求項1】
人に対するイベント音声を出力可能な音声出力部と、
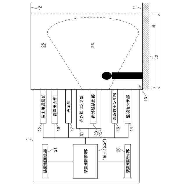
前記音声出力部から第1設定距離内において人を検知可能な人検知部と、
前記音声出力部から第1設定距離以上の第2設定距離内において特定の人と紐づけて登録されている人特定機器を検知可能な機器検知部と、
前記音声出力部を制御する制御部とを備え、
前記イベント音声には、対象とする人が特定された人特定イベント音声が含まれ、
前記制御部は、前記人検知部にて人を検知している場合に、出力対象の前記人特定イベント音声を出力するように前記音声出力部を制御するイベント音声出力制御を実行可能に構成されると共に、
前記機器検知部にて前記人特定機器を検知している場合に、前記人特定イベント音声のうちで検知している前記人特定機器に紐づけられた特定の人を対象とする前記人特定イベント音声のみを出力対象とする人特定モードに設定し、
前記機器検知部にて前記人特定機器を検知していない場合に、全ての前記人特定イベント音声を出力対象とする人不特定モードに設定するように構成されている音声出力システム。
続きを表示(約 350 文字)
【請求項2】
前記制御部は、前記人不特定モードから前記人特定モードに切り替わってから予め設定された設定時間内に前記人検知部にて人を検知しなかったときは、前記人特定モードから前記人不特定モードに設定変更するように構成されている請求項1に記載の音声出力システム。
【請求項3】
前記制御部は、前記人不特定モードにおいて前記人特定イベント音声を出力した後、当該人特定イベント音声が出力されてから予め設定された再出力用時間内において、当該人特定イベント音声に対応する特定の人の前記人特定機器が前記第2設定距離内に存在することにより前記人特定モードに設定変更された場合は、当該人特定イベント音声を出力対象に再度設定するように構成されている請求項1又は2に記載の音声出力システム。
発明の詳細な説明
【技術分野】
【0001】
本発明は、音声を出力する音声出力部と、前記音声出力部を制御する制御部とを備えた音声出力システムに関する。
続きを表示(約 2,000 文字)
【背景技術】
【0002】
特許文献1には、音声を出力する音声出力部と、第1赤外線検出部及び第2赤外線検出部の検出情報に基づいて人存在予定領域に人が存在するか否かをその人が大人であるか子供であるかを含めて判定する人判定部と、音声出力部を制御する制御部とを備え、人存在予定領域に子供が存在する場合は、子供向けのイベント音声を出力し、人存在領域に大人が存在する場合は、大人向けのイベント音声を出力するように構成されている音声出力システムが示されている。
【先行技術文献】
【特許文献】
【0003】
特開2022-139031号公報
【発明の概要】
【発明が解決しようとする課題】
【0004】
このような音声出力システムでは、大人向けのイベント音声の内容を大人に知らせることができ、子供向けのイベント音声の内容を子供に知らせることができるように構成されている。しかし、人を特定することができないため、例えば複数人の大人(又は子供)のうちの特定の1人などの特定の人向けのイベント音声の内容を特定の人に知らせ難かった。
【0005】
この実情に鑑み、本発明の主たる課題は、特定の人向けのイベント音声の内容を特定の人に知らせ易い音声出力システムを提供する点にある。
【課題を解決するための手段】
【0006】
本発明の第1特徴構成は、人に対するイベント音声を出力可能な音声出力部と、
前記音声出力部から第1設定距離内において人を検知可能な人検知部と、
前記音声出力部から第1設定距離以上の第2設定距離内において特定の人と紐づけて登録されている人特定機器を検知可能な機器検知部と、
前記音声出力部を制御する制御部とを備え、
前記イベント音声には、対象とする人が特定された人特定イベント音声が含まれ、
前記制御部は、前記人検知部にて人を検知している場合に、出力対象の前記人特定イベント音声を出力するように前記音声出力部を制御するイベント音声出力制御を実行可能に構成されると共に、
前記機器検知部にて前記人特定機器を検知している場合に、前記人特定イベント音声のうちで検知している前記人特定機器に紐づけられた特定の人を対象とする前記人特定イベント音声のみを出力対象とする人特定モードに設定し、
前記機器検知部にて前記人特定機器を検知していない場合に、全ての前記人特定イベント音声を出力対象とする人不特定モードに設定するように構成されている点にある。
【0007】
本構成によれば、第2設定距離内で人特定機器(例えばスマートフォン等の端末装置)を検知して人特定モードに設定されている場合において、人検知部によって第1設定距離内の人を検知している場合は、その人検知部によって検知された人が当該人特定機器に紐づけられた特定の人である可能性が高い。そのため、人特定モードでは、当該人特定機器に紐づけられた特定の人を対象とする人特定イベント音声のみを出力対象とすることで、特定の人向けのイベント音声の内容を本来知らせたい特定の人に知らせ易くすることができる。
一方、第2設定距離内で人特定機器を検知せずに人不特定モードに設定されている場合において、人検知部によって第1設定距離内の人を検知している場合は、誰を対象としているか否かにかかわらず人特定イベント音声の全てが出力対象となっている。そのため、例えば人特定機器を携帯していないなどの理由で人の特定ができない場合に人特定イベント音声を何も知らせることができない事象を回避することができる。
【0008】
本発明の第2特徴構成は、前記制御部は、前記人特定モードに切り替わってから予め設定された設定時間内に前記人検知部にて人を検知しなかったときは、前記人特定モードから前記人不特定モードに設定変更するように構成されている点にある。
【0009】
本構成によれば、第2設定距離内で人特定機器を検出して人特定モードに切り替わってから設定時間内に人検知部にて人を検知しなかったときは人不特定モードに設定変更されるため、人特定イベント音声を何も音声出力をしないまま、人特定モードが維持される事象を回避することができる。
【0010】
本発明の第3特徴構成は、前記制御部は、前記人不特定モードにおいて前記人特定イベント音声を出力した後、当該人特定イベント音声が出力されてから予め設定された再出力用時間内において、当該人特定イベント音声に対応する特定の人の前記人特定機器が前記第2設定距離内に存在することにより前記人特定モードに設定変更された場合は、当該人特定イベント音声を出力対象に再度設定するように構成されている点にある。
(【0011】以降は省略されています)
この特許をJ-PlatPat(特許庁公式サイト)で参照する
関連特許
大阪瓦斯株式会社
蓄電装置
1か月前
大阪瓦斯株式会社
牽引装置
4か月前
大阪瓦斯株式会社
牽引装置
4か月前
大阪瓦斯株式会社
給湯装置
4日前
大阪瓦斯株式会社
ガスコンロ
4日前
大阪瓦斯株式会社
衣類乾燥機
1か月前
大阪瓦斯株式会社
加熱調理器
1か月前
大阪瓦斯株式会社
衣類乾燥機
1か月前
大阪瓦斯株式会社
衣類乾燥機
1か月前
大阪瓦斯株式会社
フライヤー
1日前
大阪瓦斯株式会社
異常診断装置
15日前
大阪瓦斯株式会社
異常診断装置
15日前
大阪瓦斯株式会社
燃料電池装置
14日前
大阪瓦斯株式会社
異常診断装置
15日前
大阪瓦斯株式会社
異常診断装置
15日前
大阪瓦斯株式会社
異常診断装置
15日前
大阪瓦斯株式会社
異常診断装置
15日前
大阪瓦斯株式会社
地中給電設備
14日前
大阪瓦斯株式会社
鮮度維持装置
14日前
大阪瓦斯株式会社
異常診断装置
15日前
大阪瓦斯株式会社
蓄電制御装置
8日前
大阪瓦斯株式会社
異常診断装置
15日前
大阪瓦斯株式会社
異常診断装置
15日前
大阪瓦斯株式会社
住宅設備機器
1か月前
大阪瓦斯株式会社
通信システム
2か月前
大阪瓦斯株式会社
切欠開裂治具
4か月前
大阪瓦斯株式会社
蓄電池管理装置
8日前
大阪瓦斯株式会社
熱供給システム
4日前
大阪瓦斯株式会社
放射冷却式装置
3か月前
大阪瓦斯株式会社
故障予兆システム
16日前
大阪瓦斯株式会社
燃料電池システム
1か月前
大阪瓦斯株式会社
電力供給システム
2か月前
大阪瓦斯株式会社
給湯制御システム
3か月前
大阪瓦斯株式会社
燃料電池システム
15日前
大阪瓦斯株式会社
即時給湯システム
4か月前
大阪瓦斯株式会社
樹脂積層フィルム
25日前
続きを見る
他の特許を見る