TOP
|
特許
|
意匠
|
商標
特許ウォッチ
Twitter
他の特許を見る
10個以上の画像は省略されています。
公開番号
2025143961
公報種別
公開特許公報(A)
公開日
2025-10-02
出願番号
2024043496
出願日
2024-03-19
発明の名称
フライヤー
出願人
大阪瓦斯株式会社
代理人
弁理士法人R&C
主分類
A47J
37/12 20060101AFI20250925BHJP(家具;家庭用品または家庭用設備;コーヒーひき;香辛料ひき;真空掃除機一般)
要約
【課題】清掃作業の時間短縮ができるフライヤーを提供する。
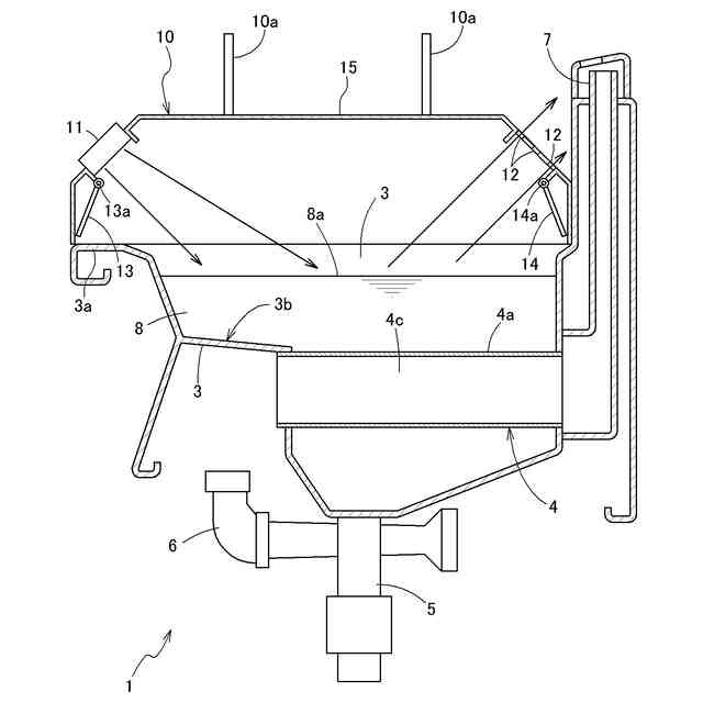
【解決手段】油槽3、及び、油槽3の内部に位置して揚げ油8を加熱する加熱部4を有するフライヤー本体1が備えられている。油槽3に脱着可能に被せられて油槽3を覆う油槽蓋10が備えられている。油槽蓋10に、油槽蓋10が油槽3に被せられた状態で油槽3の揚げ油8に向けて冷却風を供給する冷却ファン11、及び、油槽蓋10の内部から外部への排気を許容する排気口12が設けられている。
【選択図】図6
特許請求の範囲
【請求項1】
揚げ油を貯留する油槽、及び、前記油槽の内部に位置して揚げ油を加熱する加熱部を有するフライヤー本体と、
前記油槽に脱着可能に被せられて前記油槽を覆う油槽蓋と、が備えられ、
前記油槽蓋に、前記油槽蓋が前記油槽に被せられた状態で前記油槽の揚げ油に向けて冷却風を供給する冷却ファン、及び、前記油槽蓋の内部から外部への排気を許容する排気口が設けられているフライヤー。
続きを表示(約 840 文字)
【請求項2】
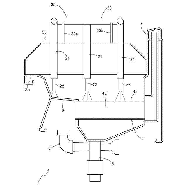
前記フライヤー本体に脱着可能であり、前記フライヤー本体に取り付けられた状態で前記油槽に洗浄液を吐出して前記油槽の内部を洗浄する洗浄装置が備えられている請求項1に記載のフライヤー。
【請求項3】
前記洗浄装置は、前記加熱部に向けて洗浄液を吐出する洗浄ノズルを備えている請求項2に記載のフライヤー。
【請求項4】
前記洗浄ノズルは、向き変更調節可能に備えられている請求項3に記載のフライヤー。
【請求項5】
前記洗浄ノズルは、回転駆動可能に備えられている請求項3に記載のフライヤー。
【請求項6】
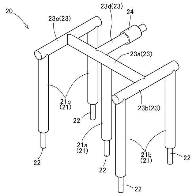
前記油槽蓋に、前記洗浄装置を脱着可能に支持する洗浄装置支持部が備えられ、
前記洗浄装置は、前記洗浄装置支持部に支持され、前記油槽蓋が前記油槽に被せられることによって前記フライヤー本体に取付けられる請求項2に記載のフライヤー。
【請求項7】
前記冷却ファンを前記油槽蓋の内部から覆うカバー状態と、前記冷却ファンの覆いを解除するカバー解除状態と、に切換え可能なファンカバーが備えられている請求項6に記載のフライヤー。
【請求項8】
前記排気口を開閉可能な排気口蓋が備えられている請求項6に記載のフライヤー。
【請求項9】
吸熱フィン部と、前記吸熱フィン部に接続されて前記吸熱フィン部から熱伝達される放熱部と、を有する放熱部材が備えられ、
前記放熱部材は、前記吸熱フィン部が前記油槽の揚げ油に入り、前記放熱部が前記油槽の揚げ油の油面よりも上側に位置するように構成されている請求項1に記載のフライヤー。
【請求項10】
前記油槽蓋とは異なる第2油槽蓋が備えられ、
前記洗浄装置は、前記第2油槽蓋に支持され、前記第2油槽蓋が前記油槽に被せられることによって前記フライヤー本体に取付けられる請求項2に記載のフライヤー。
発明の詳細な説明
【技術分野】
【0001】
本発明は、揚げ油による調理を行うフライヤーに関する。
続きを表示(約 1,700 文字)
【背景技術】
【0002】
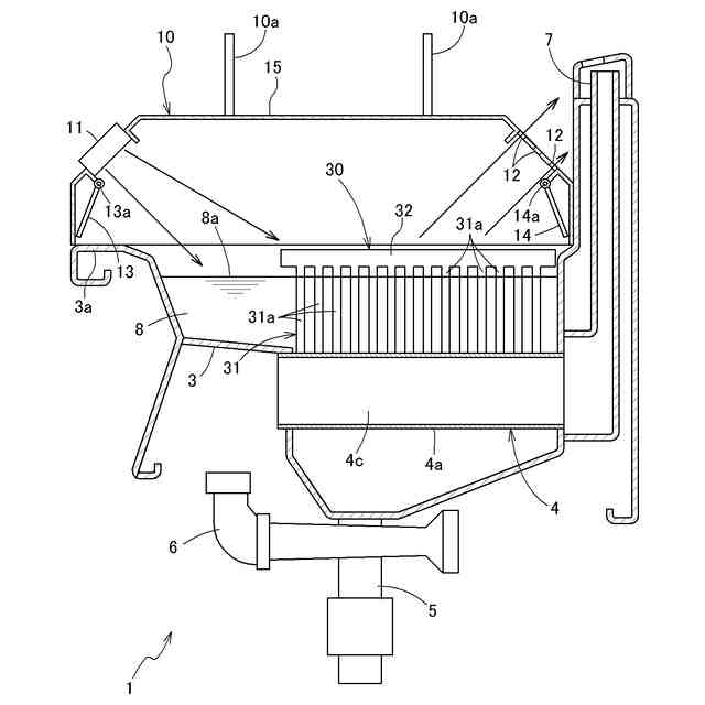
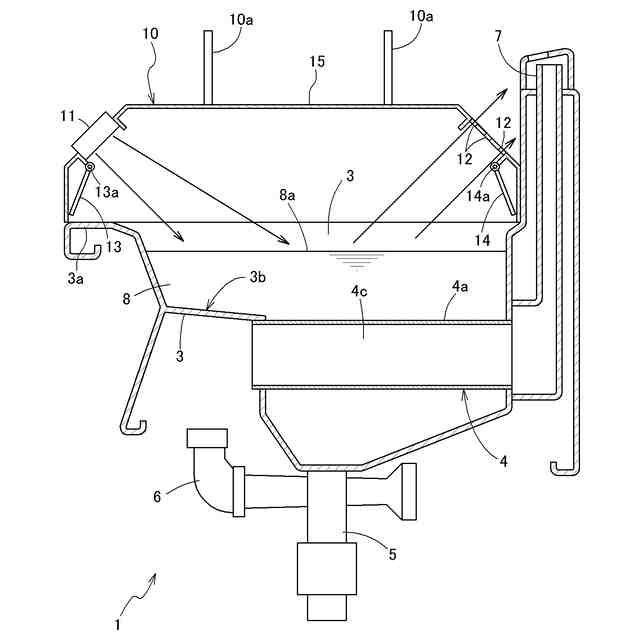
特許文献1に示されるように、揚げ油を貯留する油槽、及び、油槽の内部に位置して揚げ油を加熱する加熱部(ヒータ)が備えられたフライヤーがある。筐体と油槽の間に、油槽を空冷するための空隙が設けられ、空隙内の雰囲気が油槽によって温められて筐体の上端近傍の排気口から筐体の外へ排出される一方、筐体外の雰囲気は筐体の底部の吸気口から空隙内に取り込まれ、これによって油槽が空冷されるものである。
特許文献2に示されるように、油槽の上面を覆う自動開閉蓋が備えられたフライヤーがある。自動開閉蓋には、手前側に吸気口が、奥側に排気口が設けられ、自動開閉蓋下面側が吸排気経路とされ、吸気口から排気口へ空気の流れが生まれるものである。
【先行技術文献】
【特許文献】
【0003】
国際公開第2020/110669号
特許第7051055号公報
【発明の概要】
【発明が解決しようとする課題】
【0004】
フライヤーにおいては、調理が終了すると、フライヤーの清掃が行われる。清掃は、一般に、次の作業工程に従って行われる。
・第1作業工程:揚げ油を冷却して油槽から排出する。
・第2作業工程:油槽に注水する。
・第3作業工程:油槽の水を煮沸する。
・第4作業工程:油槽に洗剤を投入する。
・第5作業工程:油槽内の洗いを行う。
・第6作業工程:油槽内の洗い流し(すすぎ)を行う。
・第7作業工程:油槽の排水を行う。
揚げ油を自然冷却によって冷却されていて揚げ油の冷却を待つのに時間が掛かることにより、さらには、油槽内をこすり洗いによって洗浄されていて洗浄に時間及び手間が掛かることにより、清掃に多大な時間及び労力が必要になっている。
特許文献1に示されるフライヤーでは、油槽の外側から油槽を介して揚げ油の冷却が行われ、特許文献2に示されるフライヤーでは、揚げ油の上方を自然に流れる冷却風によって揚げ油の冷却が行われる。
【0005】
本発明は、清掃作業の時間短縮ができるフライヤーを提供する。
【課題を解決するための手段】
【0006】
本発明によるフライヤーは、
揚げ油を貯留する油槽、及び、前記油槽の内部に位置して揚げ油を加熱する加熱部を有するフライヤー本体と、前記油槽に脱着可能に被せられて前記油槽を覆う油槽蓋と、が備えられ、前記油槽蓋に、前記油槽蓋が前記油槽に被せられた状態で前記油槽の揚げ油に向けて冷却風を供給する冷却ファン、及び、前記油槽蓋の内部から外部への排気を許容する排気口が設けられている。
【0007】
本構成によると、油槽蓋を使用することにより、冷却ファンによって冷却風が揚げ油に向けて強制的に供給され、揚げ油を冷却した冷却風が排気口を経て油槽蓋の外部に流出して揚げ油が冷却風によって冷却される。これに加え、冷却風が揚げ油に向けて強制的に供給されることにより、揚げ油に波立ちが生じて冷却風が当たる揚げ油の面積が広がって揚げ油と冷却風との熱交換が効率よく行われる。つまり、油槽の外側を流れる冷却風によって油槽を介して冷却されるよりも効率よく冷却され、また、揚げ油の上方を自然に流れる冷却風による冷却よりも効率よく冷却されるので、冷却時間の短縮ができて清掃作業の時間短縮ができる。
【0008】
本発明においては、
前記フライヤー本体に脱着可能であり、前記フライヤー本体に取り付けられた状態で前記油槽に洗浄液を吐出して前記油槽の内部を洗浄する洗浄装置が備えられていると好適である。
【0009】
本構成によると、洗浄装置を使用することにより、油槽が洗浄装置によって自動的に洗浄されるので、洗浄の時間短縮ができると共に特別な洗浄操作の省略ができて清掃作業の時間短縮及び労力軽減ができる。
【0010】
本発明においては、
前記洗浄装置は、前記加熱部に向けて洗浄液を吐出する洗浄ノズルを備えていると好適である。
(【0011】以降は省略されています)
この特許をJ-PlatPat(特許庁公式サイト)で参照する
関連特許
大阪瓦斯株式会社
給湯装置
7日前
大阪瓦斯株式会社
蓄電装置
1か月前
大阪瓦斯株式会社
衣類乾燥機
1か月前
大阪瓦斯株式会社
衣類乾燥機
1か月前
大阪瓦斯株式会社
加熱調理器
1か月前
大阪瓦斯株式会社
衣類乾燥機
1か月前
大阪瓦斯株式会社
フライヤー
4日前
大阪瓦斯株式会社
ガスコンロ
7日前
大阪瓦斯株式会社
異常診断装置
18日前
大阪瓦斯株式会社
蓄電制御装置
11日前
大阪瓦斯株式会社
鮮度維持装置
17日前
大阪瓦斯株式会社
地中給電設備
17日前
大阪瓦斯株式会社
異常診断装置
18日前
大阪瓦斯株式会社
燃料電池装置
17日前
大阪瓦斯株式会社
住宅設備機器
1か月前
大阪瓦斯株式会社
通信システム
2か月前
大阪瓦斯株式会社
異常診断装置
18日前
大阪瓦斯株式会社
異常診断装置
18日前
大阪瓦斯株式会社
異常診断装置
18日前
大阪瓦斯株式会社
異常診断装置
18日前
大阪瓦斯株式会社
異常診断装置
18日前
大阪瓦斯株式会社
異常診断装置
18日前
大阪瓦斯株式会社
異常診断装置
18日前
大阪瓦斯株式会社
蓄電池管理装置
11日前
大阪瓦斯株式会社
熱供給システム
7日前
大阪瓦斯株式会社
燃料電池システム
5日前
大阪瓦斯株式会社
故障予兆システム
19日前
大阪瓦斯株式会社
熱電併給システム
3日前
大阪瓦斯株式会社
異常診断システム
3日前
大阪瓦斯株式会社
異常診断システム
3日前
大阪瓦斯株式会社
音声出力システム
3日前
大阪瓦斯株式会社
燃料電池システム
3日前
大阪瓦斯株式会社
燃料電池システム
18日前
大阪瓦斯株式会社
電力供給システム
2か月前
大阪瓦斯株式会社
加熱調理システム
4日前
大阪瓦斯株式会社
燃料電池システム
1か月前
続きを見る
他の特許を見る