TOP
|
特許
|
意匠
|
商標
特許ウォッチ
Twitter
他の特許を見る
公開番号
2025146087
公報種別
公開特許公報(A)
公開日
2025-10-03
出願番号
2024046689
出願日
2024-03-22
発明の名称
小型電動車両
出願人
ダイハツ工業株式会社
,
豊田鉄工株式会社
代理人
個人
主分類
B62J
43/16 20200101AFI20250926BHJP(鉄道以外の路面車両)
要約
【課題】バッテリの着脱が容易である小型電動車両を提供する。
【解決手段】車両の前後にわたる左右一対のメインフレームと、前記メインフレームと交差するように延びるステアリングコラムと、走行用モータに電力を供給するバッテリと、を備え、前記左右一対のメインフレームのそれぞれは、斜め上前方に延びて前記ステアリングコラムに接続される傾斜部を有し、前記バッテリは、前記ステアリングコラムに沿うように前記傾斜部の間に配置される、小型電動車両。
【選択図】図4
特許請求の範囲
【請求項1】
車両の前後にわたる左右一対のメインフレームと、
前記メインフレームと交差するように延びるステアリングコラムと、
走行用モータに電力を供給するバッテリと、を備え、
前記左右一対のメインフレームのそれぞれは、斜め上前方に延びて前記ステアリングコラムに接続される傾斜部を有し、
前記バッテリは、前記ステアリングコラムに沿うように前記傾斜部の間に配置される、
小型電動車両。
続きを表示(約 140 文字)
【請求項2】
前記ステアリングコラムと前記傾斜部との間に架け渡された連結部材を有し、
前記連結部材は、前記車両の側方から見て、前記ステアリングコラムと前記傾斜部とともに三角形を構成するように、前記バッテリの下に配置されている、請求項1に記載の小型電動車両。
発明の詳細な説明
【技術分野】
【0001】
本発明は、小型電動車両に関する。
続きを表示(約 1,700 文字)
【背景技術】
【0002】
特許文献1は、走行モータなどに電力を供給するためのバッテリが車両の中央部に配置された1人乗りの電動車両を開示する。この電動車両は、前輪から後輪にかけて延設されたメインフレームと、メインフレームを覆うフロアカバーとを備える。メインフレームは、車両の前後方向に延在する左右一対のサイドフレームを有する。フロアカバーは、メインフレームの上側を覆う上面カバーを有する。バッテリは、フロアカバー内に配置され、左右のサイドフレームの間に設けられた空間に収容される。バッテリは、その長手方向を前後方向に向けた状態、即ち横向きに配置される。
【先行技術文献】
【特許文献】
【0003】
特開2020-189536号公報
【発明の概要】
【発明が解決しようとする課題】
【0004】
上記電動車両では、上面カバーに設けられた蓋を開くことにより、バッテリの着脱を行う。そのため、バッテリの着脱作業が煩雑である。
【0005】
本発明の目的の一つは、バッテリの着脱が容易である小型電動車両を提供することにある。
【課題を解決するための手段】
【0006】
(1)本発明の一態様に係る小型電動車両は、車両の前後にわたる左右一対のメインフレームと、前記メインフレームと交差するように延びるステアリングコラムと、走行用モータに電力を供給するバッテリと、を備える。前記左右一対のメインフレームのそれぞれは、斜め上前方に延びて前記ステアリングコラムに接続される傾斜部を有する。前記バッテリは、前記ステアリングコラムに沿うように前記傾斜部の間に配置される。
【0007】
(2)上記(1)に記載の小型電動車両は、前記ステアリングコラムと前記傾斜部との間に架け渡された連結部材を有してもよい。前記連結部材は、前記車両の側方から見て、前記ステアリングコラムと前記傾斜部とともに三角形を構成するように、前記バッテリの下に配置されている。
【発明の効果】
【0008】
上記(1)の小型電動車両は、ステアリングコラムに沿うようにバッテリを縦向きに配置することができる。よって、バッテリの着脱が容易である。バッテリに電源スイッチがある場合は、バッテリを電動車両に搭載した状態でバッテリの電源スイッチの操作もしやすい。また、重量物であるバッテリがステアリングコラムに沿うように配置されることで、前輪にかかる荷重を増加させることができる。よって、操縦安定性が向上する。さらに、バッテリが左右のメインフレームの傾斜部の間に配置されることで、バッテリを堅固に支持でき、かつ外部からの衝撃に対してバッテリを保護することができる。
【0009】
上記(2)の小型電動車両は、ステアリングコラムと傾斜部と連結部材とにより形成される三角形の空間にバッテリが配置される。この三角形で形成された構造は高い剛性を有する。そのため、外部からの衝撃に対するバッテリの保護性能が向上する。また、上記(2)の小型電動車両は、連結部材によって、メインフレームに対してステアリングコラムを強固に支持することができ、操縦安定性がさらに向上する。
【図面の簡単な説明】
【0010】
図1は、実施形態に係る小型電動車両の外観を示す概略斜視図である。
図2は、実施形態に係る小型電動車両の内部構造を示す概略側面図である。
図3は、実施形態に係る小型電動車両の車体フレームを示す概略斜視図である。
図4は、バッテリが取り付けられた状態を拡大して示す概略斜視図である。
図5は、バッテリが取り外された状態を拡大して示す概略斜視図である。
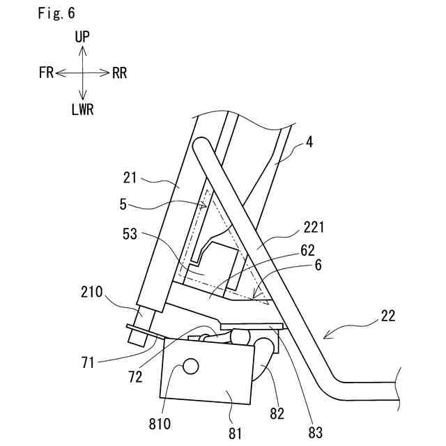
図6は、図3の車体フレームの一部を示す概略側面図である。
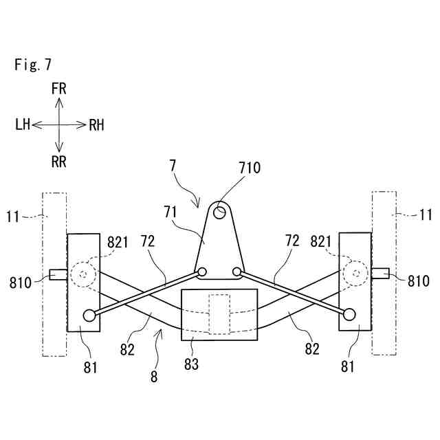
図7は、実施形態に係る小型電動車両に備える操舵機構および懸架装置を上方から見た概略上面図である。
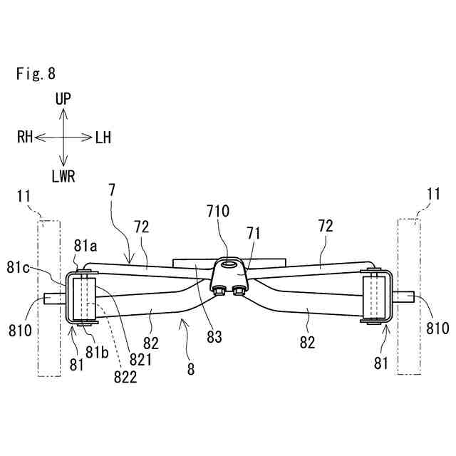
図8は、実施形態に係る小型電動車両に備える操舵機構および懸架装置を前方から見た概略正面図である。
【発明を実施するための形態】
(【0011】以降は省略されています)
この特許をJ-PlatPat(特許庁公式サイト)で参照する
関連特許
ダイハツ工業株式会社
車両構造
4日前
個人
カート
3か月前
個人
走行装置
3か月前
個人
電動走行車両
3か月前
個人
乗り物
5か月前
個人
駐輪設備
1か月前
個人
電動モビリティ
7か月前
個人
発音装置
7か月前
個人
折り畳み自転車
10か月前
個人
閂式ハンドル錠
3か月前
個人
ボギー・フレーム
1か月前
個人
自転車用傘捕捉具
11か月前
個人
ルーフ付きトライク
1か月前
個人
自由方向乗車自転車
7か月前
個人
“zen-go.”
2か月前
個人
体重掛けリフト台車
10か月前
個人
ルーフ付きトライク
2か月前
個人
アタッチメント
11か月前
個人
パワーアシスト自転車
1か月前
個人
キャンピングトライク
8か月前
個人
自転車用荷物台
10か月前
株式会社CPM
駐輪機
11か月前
個人
ステアリングの操向部材
8か月前
個人
フロントフットブレーキ。
3か月前
株式会社豊田自動織機
産業車両
4か月前
株式会社三五
リアサブフレーム
10か月前
学校法人千葉工業大学
車両
9か月前
学校法人千葉工業大学
車両
9か月前
ヤマハ発動機株式会社
車両
11か月前
ヤマハ発動機株式会社
車両
11か月前
ヤマハ発動機株式会社
車両
11か月前
ヤマハ発動機株式会社
車両
11か月前
学校法人千葉工業大学
車両
9か月前
豊田鉄工株式会社
小型車両
2か月前
豊田合成株式会社
操舵装置
11か月前
個人
乗用自動車のディフューザー
12日前
続きを見る
他の特許を見る