TOP
|
特許
|
意匠
|
商標
特許ウォッチ
Twitter
他の特許を見る
10個以上の画像は省略されています。
公開番号
2025146245
公報種別
公開特許公報(A)
公開日
2025-10-03
出願番号
2024046916
出願日
2024-03-22
発明の名称
処理システム、処理方法、およびプログラム
出願人
日本製鉄株式会社
代理人
個人
主分類
B66C
13/22 20060101AFI20250926BHJP(巻上装置;揚重装置;牽引装置)
要約
【課題】 搬出対象の物体を搬出する際の作業負担を低減することと、搬出対象の物体の確認の見逃しや誤りを低減することと、の双方を実現する。
【解決手段】 処理システム100は、複数の厚板の製品IDと、実空間における積位置と、を含む積位置リストと、搬出対象の厚板の実空間における搬出時相対位置と、に基づいて、搬出対象の厚板の製品IDを特定する。
【選択図】 図1
特許請求の範囲
【請求項1】
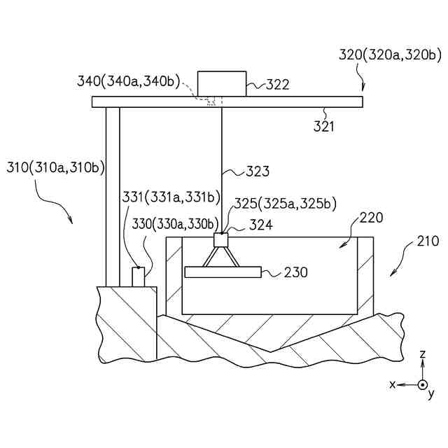
搬出手段を用いて第1置場から搬出される複数の物体を特定するための処理を行う処理システムであって、
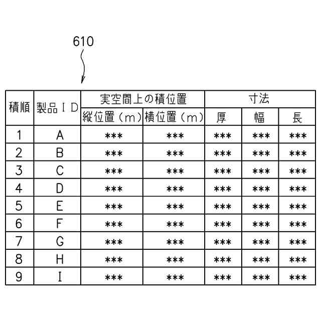
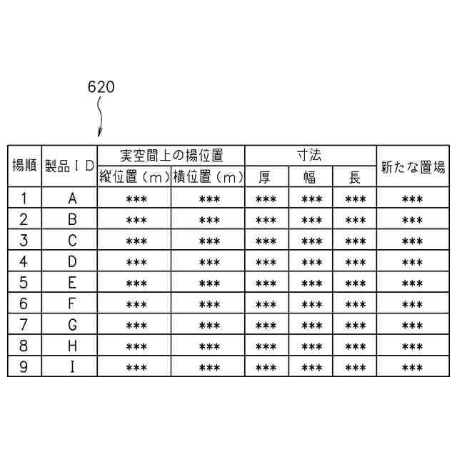
前記複数の物体の識別情報と、当該複数の物体の相互の相対的な位置関係を示す情報である相対位置特定情報と、を含むリスト情報を取得する第1取得手段と、
前記複数の物体のうちの搬出対象の物体について、基準となる物体である第1基準物体からの相対的な位置を取得する第2取得手段と、
前記第1取得手段により取得された前記リスト情報と、前記第2取得手段により取得された前記搬出対象の物体の前記第1基準物体からの相対的な位置と、に基づいて、前記搬出対象の物体の前記識別情報を特定する特定手段と、
を備える、処理システム。
続きを表示(約 1,400 文字)
【請求項2】
前記第2取得手段は、前記搬出手段の所定の部位の位置を、前記搬出対象の物体の位置と見なして、前記搬出対象の物体の前記第1基準物体からの相対的な位置を導出する、請求項1に記載の処理システム。
【請求項3】
前記搬出手段は、前記物体を搬出するために前記物体を保持する保持部を備え、
前記第2取得手段は、前記搬出対象の物体が前記保持部で保持されてから、前記保持部の水平方向の移動が開始するまでの期間内の所定のタイミングにおける前記搬出手段の所定の部位の位置を、前記搬出対象の物体の位置と見なして、前記搬出対象の物体の前記第1基準物体からの相対的な位置を導出する、請求項2に記載の処理システム。
【請求項4】
前記第2取得手段は、前記搬出手段の所定の部位の移動量に基づき、前記搬出対象の物体の前記第1基準物体からの相対的な位置を導出する、請求項1~3のいずれか1項に記載の処理システム。
【請求項5】
前記搬出手段は、前記物体を搬出するために前記物体を保持する保持部を備え、
前記第2取得手段は、前回の前記搬出対象の物体が前記保持部で保持されてから、前記保持部の水平方向の移動が開始するまでの期間内の所定のタイミングから、今回の前記搬出対象の物体が前記保持部で保持されてから、前記保持部の水平方向の移動が開始するまでの期間内の所定のタイミングまでの、前記搬出手段の移動量に基づき、前記搬出対象の物体の前記第1基準物体からの相対的な位置を導出する、請求項4に記載の処理システム。
【請求項6】
前記第2取得手段は、測定手段の測定値を用いて、前記搬出対象の物体について、前記第1基準物体からの相対的な位置を導出し、
前記測定手段は、前記第1基準物体を含む画像を撮影する撮影装置と、前記搬出手段の所定の部位の位置と予め位置を定められた基準位置との間の距離を測定する距離計と、前記搬出手段の所定の部位の位置を測定するGNSS(Global Navigation Satellite System)と、のうちの少なくとも一つを含む、請求項1~3のいずれか1項に記載の処理システム。
【請求項7】
前記第1基準物体は、所定の位置に配置された目印または前記搬出対象の物体のうち最初に搬出される物体である、請求項1~3のいずれか1項に記載の処理システム。
【請求項8】
前記特定手段は、
前記複数の物体の中から指定された物体に割り当てられている識別情報から前記相対位置特定情報において特定される前記相対的な位置と、前記第2取得手段により当該指定された物体について取得された前記相対的な位置との補正量を導出し、
当該指定された物体より後の搬送対象の物体の前記識別情報を、前記補正量を用いて特定する、請求項1~3のいずれか1項に記載の処理システム。
【請求項9】
前記指定された物体は、前記第1置場から最初に搬送される前記物体を含む、請求項8に記載の処理システム。
【請求項10】
前記特定手段により特定された前記物体の識別情報と、当該物体の搬出先の置場である第2置場を特定する情報と、を相互に関連付けて記憶媒体に記憶する記憶手段、をさらに備える、請求項1~3のいずれか1項に記載の処理システム。
(【請求項11】以降は省略されています)
発明の詳細な説明
【技術分野】
【0001】
本発明は、処理システム、処理方法、およびプログラムに関し、特に、物体の位置を管理するために用いて好適なものである。
続きを表示(約 1,700 文字)
【背景技術】
【0002】
置場に置かれている物体を搬出する際に、どの物体を搬出したのかを特定していないと、搬出後に物体を確認しなければならない。そこで、置場に置かれている搬出対象の物体を確認する技術が求められる。
【0003】
特許文献1には、物体に表示されている表示情報を含む領域の撮像画像に基づいて、当該表示情報が表示されている三次元位置を導出することと、当該物体の識別情報を認識することと、を行い、当該三次元位置を当該物体の識別情報と関連付けて記憶することが開示されている。特許文献1に記載の技術を用いれば、置場における搬出対象の物体の三次元位置と識別情報とを特定することができる。
【先行技術文献】
【特許文献】
【0004】
特許第7288231号公報
【発明の概要】
【発明が解決しようとする課題】
【0005】
しかしながら、特許文献1に記載の技術では、搬出対象の個々の物体について置場内のどの位置にあるのかを、世界座標系で表される座標等で具体的に特定する必要がある。したがって、個々の物体にラベル等の表示情報を付す必要がある。また、搬出対象の全ての物体の表示情報を撮影する必要がある。以上のことから特許文献1に記載の技術では、搬出対象の物体を搬出する際の作業負担を低減することと、搬出対象の物体の見逃しや誤りを低減することと、を十分に実現することができない。
【0006】
本発明は、以上のような問題点に鑑みてなされたものであり、搬出対象の物体を搬出する際の作業負担を低減することと、搬出対象の物体の確認の見逃しや誤りを低減することと、の双方を実現することを目的とする。
【課題を解決するための手段】
【0007】
本発明の処理装置は、搬出手段を用いて第1置場から搬出される複数の物体を特定するための処理を行う処理システムであって、前記複数の物体の識別情報と、当該複数の物体の相互の相対的な位置関係を示す情報である相対位置特定情報と、を含むリスト情報を取得する第1取得手段と、前記複数の物体のうちの搬出対象の物体について、基準となる物体である第1基準物体からの相対的な位置を取得する第2取得手段と、前記第1取得手段により取得された前記リスト情報と、前記第2取得手段により取得された前記搬出対象の物体の前記第1基準物体からの相対的な位置と、に基づいて、前記搬出対象の物体の前記識別情報を特定する特定手段と、を備える。
【0008】
本発明の処理方法は、搬出手段を用いて第1置場から搬出される複数の物体を特定するための処理を行う処理方法であって、前記複数の物体の識別情報と、当該複数の物体の相互の相対的な位置関係を示す情報である相対位置特定情報と、を含むリスト情報を取得する第1取得工程と、前記複数の物体のうちの搬出対象の物体について、基準となる物体である第1基準物体からの相対的な位置を取得する第2取得工程と、前記第1取得工程により取得された前記リスト情報と、前記第2取得工程により取得された前記搬出対象の物体の前記第1基準物体からの相対的な位置と、に基づいて、前記搬出対象の物体の前記識別情報を特定する特定工程と、を備える。
【0009】
本発明のプログラムは、前記処理システムの各手段としてコンピュータを機能させる。
【発明の効果】
【0010】
本発明によれば、置場から搬出される個々の物体について、基準物体からの相対的な位置を用いて、当該物体の識別情報を特定する。したがって、搬出対象の個々の物体が置場内のどの位置にあるのかを具体的に特定しなくても、搬出対象の個々の物体の識別情報を特定することができる。よって、搬出対象の物体を搬出する際の作業負担を低減することと、搬出対象の物体の確認の見逃しや誤りを低減することと、の双方を実現することができる。
【図面の簡単な説明】
(【0011】以降は省略されています)
この特許をJ-PlatPat(特許庁公式サイト)で参照する
関連特許
日本製鉄株式会社
剪断機
10日前
日本製鉄株式会社
床構造
10日前
日本製鉄株式会社
ボルト
1か月前
日本製鉄株式会社
ボルト
10日前
日本製鉄株式会社
床構造
10日前
日本製鉄株式会社
鋼部品
1日前
日本製鉄株式会社
鋼部品
1日前
日本製鉄株式会社
構造部材
20日前
日本製鉄株式会社
管理装置
1か月前
日本製鉄株式会社
リクレーマ
1か月前
日本製鉄株式会社
耐火構造物
22日前
日本製鉄株式会社
鍛鋼ロール
今日
日本製鉄株式会社
鍛鋼ロール
今日
日本製鉄株式会社
耐火構造物
22日前
日本製鉄株式会社
耐火構造物
22日前
日本製鉄株式会社
高Ni合金板
1か月前
日本製鉄株式会社
学習システム
2日前
日本製鉄株式会社
転炉精錬方法
20日前
日本製鉄株式会社
溶鉄の製造方法
1日前
日本製鉄株式会社
高炉の冷却構造
1か月前
日本製鉄株式会社
高炉の操業方法
28日前
日本製鉄株式会社
高炉の操業方法
1か月前
日本製鉄株式会社
溶鉄の製造方法
1か月前
日本製鉄株式会社
高炉の操業方法
1日前
日本製鉄株式会社
スラグの処理方法
今日
日本製鉄株式会社
金属材の製造方法
6日前
日本製鉄株式会社
鉄道車両用の台車
2日前
日本製鉄株式会社
鋼矢板の製造方法
今日
日本製鉄株式会社
鋼の連続鋳造方法
今日
日本製鉄株式会社
焼結鉱の製造方法
今日
日本製鉄株式会社
スポット溶接継手
28日前
日本製鉄株式会社
合成梁及び床構造
20日前
日本製鉄株式会社
焼結鉱の製造方法
28日前
日本製鉄株式会社
モールドパウダー
今日
日本製鉄株式会社
鋼の連続鋳造方法
6日前
日本製鉄株式会社
金属材の製造方法
1日前
続きを見る
他の特許を見る