TOP
|
特許
|
意匠
|
商標
特許ウォッチ
Twitter
他の特許を見る
10個以上の画像は省略されています。
公開番号
2025148549
公報種別
公開特許公報(A)
公開日
2025-10-07
出願番号
2025120521,2021185660
出願日
2025-07-17,2021-11-15
発明の名称
データ処理装置及びデータ処理方法
出願人
東芝テック株式会社
代理人
弁理士法人鈴榮特許綜合事務所
主分類
G06Q
20/20 20120101AFI20250930BHJP(計算;計数)
要約
【課題】一意の情報を使用せずに集合データの構築を可能にするデータ処理装置を提供する。
【解決手段】データ処理装置は、比較部としての検索部と、集合データ処理部と、を備える。比較部は、店舗での取引に使用する取引端末が取得した第1の取引情報と、取引端末以外が取得した第2の取引情報とを、第1の取引情報と第2の取引情報とで対応し、且つ、個々では一意ではない非一意情報により比較する。集合データ処理部は、第1の取引情報を集合データとして集合データベースに登録する。また、集合データ処理部は、比較部による比較の結果、第2の取引情報が第1の取引情報に対応しないとき、第2の取引情報を集合データとして集合データベースに登録し、比較部による比較の結果、第2の取引情報が第1の取引情報に対応するときは、第2の取引情報の内、集合データベースに登録されている第1の取引情報による集合データとの差分を、集合データに登録する。
【選択図】図1
特許請求の範囲
【請求項1】
店舗での取引に使用する取引端末から取得された第1の取引情報と、前記取引端末以外から取得された第2の取引情報とを、前記第1の取引情報と前記第2の取引情報とで対応し且つ個々では一意ではない非一意情報により比較する比較部と、
同一の取引に関する前記第1の取引情報と前記第2の取引情報とを含む集合データを集合データベースに蓄積する集合データ処理部であって、
前記第1の取引情報を前記集合データとして前記集合データベースに登録すると共に、
前記比較部による比較の結果、前記第2の取引情報が前記第1の取引情報に対応しないとき、前記第2の取引情報を前記集合データとして前記集合データベースに登録し、
前記比較部による比較の結果、前記第2の取引情報が前記第1の取引情報に対応するとき、前記第2の取引情報の内、前記集合データベースに既に登録されている前記第1の取引情報による前記集合データとの差分データを、前記集合データに登録する、
集合データ処理部と、
を備える、データ処理装置。
続きを表示(約 1,200 文字)
【請求項2】
前記非一意情報は、前記店舗を示す店舗情報、前記取引の取引時点を示す日時情報、前記取引端末を示す端末情報、及び、前記取引における取引合計金額を示す金額情報を含み、
前記比較部は、前記第2の取引情報における前記店舗情報、前記日時情報、前記端末情報及び前記金額情報を、各店舗の前記取引端末から取得された前記第1の取引情報それぞれと比較する、請求項1に記載のデータ処理装置。
【請求項3】
前記集合データ処理部は、さらに、問い合わせ元から指定された指定情報を検索キーにした問い合わせを受けて、前記集合データベースを検索し、検索された前記集合データにおける特定の情報を前記問い合わせ元に返還する、請求項1または2に記載のデータ処理装置。
【請求項4】
前記集合データ処理部は、さらに、前記問い合わせについて、前記問い合わせ元、問い合わせ日時及び検索成功不成功結果を少なくとも含む、問い合わせ履歴を前記集合データベースに蓄積する、請求項3に記載のデータ処理装置。
【請求項5】
前記差分データは、少なくとも、前記店舗での前記取引を行った顧客を一意に識別する識別情報を含む、請求項1乃至4の何れかに記載のデータ処理装置。
【請求項6】
店舗での取引に使用する取引端末から取得された第1の取引情報と、前記取引端末以外から取得された、前記第1の取引情報と同一の取引に関する第2の取引情報と、を含む集合データを蓄積する集合データベースと、
前記第1の取引情報を、前記第1の取引情報と前記第2の取引情報とで対応し且つ個々では一意ではない非一意情報により、前記第2の取引情報と比較する第1の比較部と、
前記第2の取引情報を、前記非一意情報により、前記第1の取引情報と比較する第2の比較部と、
前記第1の比較部による比較の結果、前記第1の取引情報が前記第2の取引情報に対応しないとき、前記第1の取引情報を前記集合データとして前記集合データベースに登録する第1のデータ処理部と、
前記第2の比較部による比較の結果、前記第2の取引情報が前記第1の取引情報に対応しないとき、前記第2の取引情報を前記集合データとして前記集合データベースに登録する第2のデータ処理部と、
前記第1の比較部による比較の結果、前記第1の取引情報が前記第2の取引情報に対応するとき、前記第2の取引情報の内、前記集合データベースに既に登録されている前記第1の取引情報による前記集合データとの差分データを、前記集合データに追加登録し、前記第2の比較部による比較の結果、前記第2の取引情報が前記第1の取引情報に対応するとき、前記第1の取引情報の内、前記集合データベースに既に登録されている前記第2の取引情報による前記集合データとの差分データを、前記集合データに登録する、第3のデータ処理部と、
を備える、データ処理装置。
発明の詳細な説明
【技術分野】
【0001】
本発明の実施形態は、データ処理装置に関する。
続きを表示(約 1,900 文字)
【背景技術】
【0002】
従来、同業種または異業種の複数のアライアンス店舗における取引情報であるPOS(Point Of Sales)データを統合し、その統合した取引情報を用いて購買動向分析する分析システムが提案されている。
【0003】
また近年、パーソナルコンピュータやスマートフォン等の情報処理端末用のアプリケーションにより、顧客が店舗で購入した商品についての情報を収集し、その収集した情報を用いた分析結果を提供するサービスも展開され始めている。このようなサービスで利用されるアプリケーションには、店舗で発行されたレシートの画像から文字認識機能により商品名や金額を読み取って自動入力する家計簿アプリケーション、レシートの画像のアップロードに対して報酬を付与するレシート買取アプリケーション、等が有る。
【先行技術文献】
【特許文献】
【0004】
特開2013-182538号公報
【発明の概要】
【発明が解決しようとする課題】
【0005】
取引情報とレシートの画像から取得されるレシート情報とを紐づけることで、複合的に使うことを想定した集合データを構築することができる。例えば、集合データを使用することで、分析の種類を広げたり、顧客からの問い合わせに対する応答時間を短縮したりすることが期待できる。
【0006】
レシート情報を特定する際、多くは、会員識別情報等の何かしら特定の一意の情報を使用する。しかしながら、そういった情報の取り扱いは法令の要請から取り扱いが厳格に求められる場合が多い。特に、システム外部へ情報を提供して連携する場合には、より厳しい要請が有る。
【0007】
本発明の実施形態が解決しようとする課題は、一意の情報を使用せずに集合データの構築を可能にする技術を提供しようとするものである。
【課題を解決するための手段】
【0008】
一実施形態において、データ処理装置は、比較部と、集合データ処理部と、を備える。比較部は、店舗での取引に使用する取引端末から取得された第1の取引情報と、取引端末以外から取得された第2の取引情報とを、第1の取引情報と第2の取引情報とで対応し且つ個々では一意ではない非一意情報により比較する。集合データ処理部は、第1の取引情報を集合データとして集合データベースに登録する。また、集合データ処理部は、比較部による比較の結果、第2の取引情報が第1の取引情報に対応しないとき、第2の取引情報を集合データとして集合データベースに登録する。さらに、集合データ処理部は、比較部による比較の結果、第2の取引情報が第1の取引情報に対応するとき、第2の取引情報の内、集合データベースに既に登録されている第1の取引情報による集合データとの差分データを、集合データに登録する。
【図面の簡単な説明】
【0009】
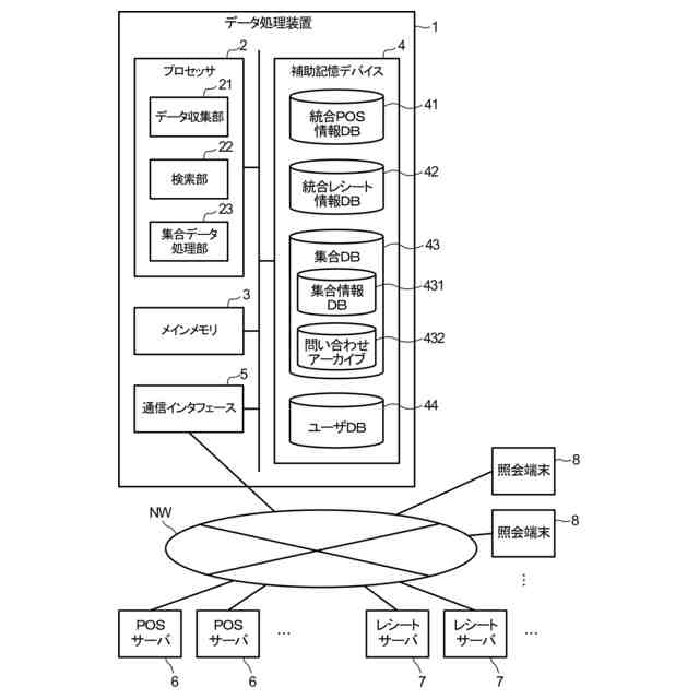
図1は、実施形態に係るデータ処理装置を含むデータ処理システムを例示するブロック図である。
図2は、実施形態に係るデータ処理装置の統合POS情報データベースにおけるPOS情報レコードのレコード内容を例示する図である。
図3は、実施形態に係るデータ処理装置の統合レシート情報データベースにおけるレシート情報レコードのレコード内容を例示する図である。
図4は、店舗での取引時に顧客に対して発行されるレシートを例示する図である。
図5は、実施形態に係るデータ処理装置におけるPOS情報とレシート情報の対応関係及び照会項目を例示する図である。
図6は、実施形態に係るデータ処理装置の集合情報データベースにおける集合データレコードのレコード内容を例示する図である。
図7は、実施形態に係るデータ処理装置の問い合わせアーカイブにおける問い合わせ履歴レコードのレコード内容を例示する図である。
図8は、実施形態に係るデータ処理装置のプロセッサが実行するデータ処理手順を例示する流れ図である。
図9は、POS情報とレシート情報の紐づけを説明するための模式図である。
図10は、照会端末における照会画面を例示する模式図である。
図11は、集合情報データベースにおける集合データレコードのレコード内容の別の例を示す図である。
図12は、データ処理手順の別の例を示す流れ図である。
【発明を実施するための形態】
【0010】
以下、図面を用いて実施形態について説明する。
(【0011】以降は省略されています)
この特許をJ-PlatPat(特許庁公式サイト)で参照する
関連特許
東芝テック株式会社
会計装置
12日前
東芝テック株式会社
プリンタ
11日前
東芝テック株式会社
プリンタ
11日前
東芝テック株式会社
プリンタ装置
16日前
東芝テック株式会社
プリンタ装置
16日前
東芝テック株式会社
プリンタ装置
11日前
東芝テック株式会社
プリンタ装置
11日前
東芝テック株式会社
画像形成装置
4日前
東芝テック株式会社
プリンタ及びプログラム
10日前
東芝テック株式会社
チェックアウトシステム
11日前
東芝テック株式会社
販売時点における行動検出
11日前
東芝テック株式会社
プリンタ装置及びプログラム
11日前
東芝テック株式会社
情報処理装置及びプログラム
16日前
東芝テック株式会社
取引処理装置及びプログラム
12日前
東芝テック株式会社
取引処理装置及びプログラム
12日前
東芝テック株式会社
インターロックおよびプリンタ
4日前
東芝テック株式会社
情報処理装置およびプログラム
5日前
東芝テック株式会社
商品登録装置およびプログラム
5日前
東芝テック株式会社
販売時点における物体分類および識別
11日前
東芝テック株式会社
収納代行処理装置及びそのプログラム
12日前
東芝テック株式会社
商品登録機器及び情報処理プログラム
11日前
東芝テック株式会社
商品登録装置、及び情報処理プログラム
16日前
東芝テック株式会社
販売時点情報管理アイテム予測及び検証
12日前
東芝テック株式会社
デバイス管理装置及び情報処理プログラム
2日前
東芝テック株式会社
デバイス管理装置及び情報処理プログラム
2日前
東芝テック株式会社
システム、情報処理装置、およびプログラム
4日前
東芝テック株式会社
文章校正装置、文章校正方法及びプログラム
5日前
東芝テック株式会社
レシート管理サーバ及びレシート管理システム
10日前
東芝テック株式会社
情報処理装置、情報処理システム及び端末装置
5日前
東芝テック株式会社
レシート管理サーバ及びレシート管理システム
10日前
東芝テック株式会社
情報処理装置、情報処理方法、およびプログラム
2日前
東芝テック株式会社
情報処理装置、情報処理システム及びプログラム
2日前
東芝テック株式会社
取引処理システム、取引処理装置及びそのプログラム
11日前
東芝テック株式会社
情報処理装置、情報処理プログラム及び情報処理システム
16日前
東芝テック株式会社
セルフチェックアウトシステムのためのスケールゼロイング
5日前
東芝テック株式会社
ゲート装置、情報処理プログラム及びチェックアウトシステム
11日前
続きを見る
他の特許を見る