TOP
|
特許
|
意匠
|
商標
特許ウォッチ
Twitter
他の特許を見る
10個以上の画像は省略されています。
公開番号
2025150101
公報種別
公開特許公報(A)
公開日
2025-10-09
出願番号
2024050806
出願日
2024-03-27
発明の名称
プリンタ及びプログラム
出願人
東芝テック株式会社
代理人
弁理士法人酒井国際特許事務所
主分類
B41J
29/38 20060101AFI20251002BHJP(印刷;線画機;タイプライター;スタンプ)
要約
【課題】複数の処理要求を並列で処理する場合であっても、各々の処理を確実に実行することが可能なプリンタ及びプログラムを提供する。
【解決手段】実施形態のプリンタは、外部装置と通信可能に接続されるプリンタであって、前記外部装置から処理要求を受け付ける受付手段と、前記処理要求で要求された処理を実行する実行手段と、前記実行手段が複数の前記処理を実行する場合、前記処理の実行に係る所定のパラメータの調整を行う調整手段と、を備える。
【選択図】図11
特許請求の範囲
【請求項1】
外部装置と通信可能に接続されるプリンタであって、
前記外部装置から処理要求を受け付ける受付手段と、
前記処理要求で要求された処理を実行する実行手段と、
前記実行手段が複数の前記処理を実行する場合、前記処理の実行に係る所定のパラメータの調整を行う調整手段と、
を備えるプリンタ。
続きを表示(約 590 文字)
【請求項2】
前記所定のパラメータは、前記処理要求で要求された処理のタイムアウトに係るパラメータを含む、
請求項1に記載のプリンタ。
【請求項3】
前記外部装置は、第1の接続形態で自装置に接続される第1外部装置と、前記第1の接続形態とは異なる第2の接続形態で自装置に接続される第2外部装置とを含み、
前記実行手段は、前記第1外部装置及び前記第2外部装置から処理要求を受け付ける、
請求項1に記載のプリンタ。
【請求項4】
前記第1の接続形態は、前記第1外部装置と自装置とが直接接続する接続形態である、
請求項3に記載のプリンタ。
【請求項5】
複数の前記処理要求が実行中の場合、前記処理要求で要求された処理の実行に時間を要する可能性があることを知らせる通知を表示部に出力する出力手段を更に備える、
請求項1に記載のプリンタ。
【請求項6】
外部装置と通信可能に接続されるプリンタであって、
前記外部装置から処理要求を受け付ける受付手段と、
前記処理要求で要求された処理を実行する実行手段と、
前記実行手段が複数の前記処理を実行する場合、前記処理の実行に係る所定のパラメータの調整を行う調整手段と、
として機能させるためのプログラム。
発明の詳細な説明
【技術分野】
【0001】
本発明の実施形態は、プリンタ及びプログラムに関する。
続きを表示(約 1,500 文字)
【背景技術】
【0002】
従来、携帯端末等の通信端末をネットワークに接続するためのルータ機能又はアクセスポイント機能(以下、総称してアクセスポイント機能ともいう)を備えるプリンタが存在する。
【0003】
このようなプリンタでは、前記通信端末をネットワークに接続するアクセスポイント機能の処理負荷が大きくなると、元来プリンタが有する印刷機能のパフォーマンスが低下するという問題がある。そのため、従来、装置間の接続制御をより適切に行い、印刷機能のパフォーマンスの低下を抑止する技術が提案されている(例えば、特許文献1)。
【0004】
しかしながら、従来の技術では、接続制御の際にプリンタの持つ接続リソースの割り当て、すなわち、処理における優先度を設定しているため、優先度の低い処理は、処理の続行が不可の状態(以下、タイムアウトともいう)が発生する可能性がある。
【発明の概要】
【発明が解決しようとする課題】
【0005】
本発明が解決しようとする課題は、複数の処理要求を並列で処理する場合であっても、各々の処理を確実に実行することが可能なプリンタ及びプログラムを提供することである。
【課題を解決するための手段】
【0006】
実施形態のプリンタは、外部装置と通信可能に接続されるプリンタであって、前記外部装置から処理要求を受け付ける受付手段と、前記処理要求で要求された処理を実行する実行手段と、前記実行手段が複数の前記処理を実行する場合、前記処理の実行に係る所定のパラメータの調整を行う調整手段と、を備える。
【図面の簡単な説明】
【0007】
図1は、実施形態に係るプリンタシステムの概略構成を示す模式図である。
図2は、実施形態に係るプリンタのハードウェア構成の一例を示すブロック図である。
図3は、実施形態に係るテザリングテーブルのデータ構成の一例を示す図である。
図4は、実施形態に係るジョブテーブルのデータ構成の一例を示す図である。
図5は、実施形態に係るジョブ属性特定テーブルのデータ構成の一例を示す図である。
図6は、実施形態に係るパラメータテーブルのデータ構成の一例を示す図である。
図7は、実施形態に係る店員端末のハードウェア構成の一例を示すブロック図である。
図8は、実施形態に係るPOS端末のハードウェア構成の一例を示すブロック図である。
図9は、実施形態に係るプリンタ、店員端末及びPOS端末の機能構成の一例を示すブロック図である。
図10は、実施形態に係るプリンタシステムの制御処理の一例を示すシーケンス図である。
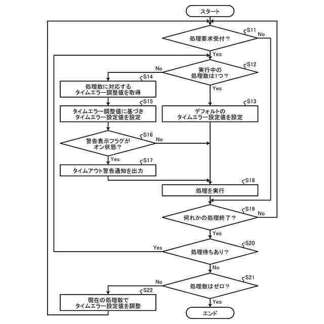
図11は、実施形態に係るプリンタ2の制御部200が行う処理の流れの一例を示すフローチャートである。
【発明を実施するための形態】
【0008】
以下、図面を参照して、プリンタシステム1の実施形態について説明する。なお、以下の実施形態によって本発明が限定されるものではない。
【0009】
図1は、実施形態に係るプリンタシステム1の概略構成を示す模式図である。図1に示すように、プリンタシステム1は、プリンタ2と、店員端末3と、POS端末4とを有する。
【0010】
プリンタ2と店員端末3とPOS端末4とは、例えば、店舗等に設けられる。プリンタ2及び店員端末3は、例えば、店舗内の精算エリア等に設置される。
(【0011】以降は省略されています)
この特許をJ-PlatPat(特許庁公式サイト)で参照する
関連特許
東芝テック株式会社
プリンタ
2日前
東芝テック株式会社
プリンタ
2日前
東芝テック株式会社
プリンタ装置
2日前
東芝テック株式会社
プリンタ装置
2日前
東芝テック株式会社
プリンタ及びプログラム
1日前
東芝テック株式会社
チェックアウトシステム
2日前
東芝テック株式会社
販売時点における行動検出
2日前
東芝テック株式会社
プリンタ装置及びプログラム
2日前
東芝テック株式会社
販売時点における物体分類および識別
2日前
東芝テック株式会社
商品登録機器及び情報処理プログラム
2日前
東芝テック株式会社
販売時点情報管理アイテム予測及び検証
3日前
東芝テック株式会社
レシート管理サーバ及びレシート管理システム
1日前
東芝テック株式会社
レシート管理サーバ及びレシート管理システム
1日前
東芝テック株式会社
取引処理システム、取引処理装置及びそのプログラム
2日前
東芝テック株式会社
ゲート装置、情報処理プログラム及びチェックアウトシステム
2日前
東芝テック株式会社
データ処理装置及びデータ処理方法
3日前
個人
箔熱転写装置
1か月前
シヤチハタ株式会社
印判
4か月前
キヤノン株式会社
記録装置
23日前
独立行政法人 国立印刷局
印刷物
7か月前
三光株式会社
感熱記録材料
6か月前
株式会社リコー
画像形成装置
1か月前
株式会社リコー
液体吐出装置
4か月前
株式会社リコー
画像形成装置
11日前
独立行政法人 国立印刷局
貼付機構
1か月前
株式会社リコー
画像形成装置
7日前
株式会社リコー
液体吐出装置
5か月前
株式会社リコー
液体吐出装置
4か月前
独立行政法人 国立印刷局
貼付装置
1か月前
株式会社リコー
印刷システム
11日前
株式会社リコー
液体吐出装置
1か月前
株式会社リコー
液体吐出装置
5か月前
株式会社リコー
液体吐出装置
7か月前
日本製紙株式会社
感熱記録体
7か月前
株式会社リコー
液体吐出装置
7か月前
キヤノン株式会社
画像記録装置
23日前
続きを見る
他の特許を見る