TOP
|
特許
|
意匠
|
商標
特許ウォッチ
Twitter
他の特許を見る
10個以上の画像は省略されています。
公開番号
2025148223
公報種別
公開特許公報(A)
公開日
2025-10-07
出願番号
2024193147
出願日
2024-11-01
発明の名称
販売時点情報管理アイテム予測及び検証
出願人
東芝テック株式会社
代理人
弁理士法人鈴榮特許綜合事務所
主分類
G07G
1/00 20060101AFI20250930BHJP(チェック装置)
要約
【課題】販売時点情報管理(POS)システムにおいて購入用アイテムを予測するための技法を提供する。
【解決手段】POSシステムにおいてキャプチャされた、1つ以上の購入用アイテムの1つ以上の画像を特定し、更に、1つ以上の購入用アイテムの測定された特性を特定する。測定された特性は、(i)POSシステムに関連付けられた重量センサを使用して測定された第1の重量、又は(ii)POSシステムに関連付けられた1つ以上の圧力若しくは重量センサを使用して測定されたフットプリント、のうちの少なくとも1つを含む。これら技法は、機械学習(ML)モデルを使用して1つ以上の画像を分析することに基づいて、購入用アイテムを予測することと、測定された特性を使用して、予測された購入用アイテムを検証することと、を含む。
【選択図】図1B
特許請求の範囲
【請求項1】
販売時点情報管理(POS)システムにおいてキャプチャされた、購入用アイテムの画像を特定することと、
前記購入用アイテムの特性であって、(i)前記POSシステムに関連付けられた重量センサを使用して測定された第1の重量、又は(ii)前記POSシステムに関連付けられた1つ以上の圧力若しくは重量センサを使用して測定されたフットプリント、のうちの少なくとも1つを含む特性を特定することと、
前記画像に基づいて、前記購入用アイテムを予測することと、
前記特性を使用して、前記予測された購入用アイテムを検証することと、
を備える方法。
続きを表示(約 1,200 文字)
【請求項2】
前記特性は、前記第1の重量を含み、
前記方法は、前記予測された購入用アイテムの第2の重量を予測する、
請求項1に記載の方法。
【請求項3】
前記特性を使用して、前記予測された購入用アイテムを検証することは、
前記購入用アイテムについての第1の重量と、前記予測された第2の重量との間の重量偏差を計算することである、
請求項2に記載の方法。
【請求項4】
前記特性を使用して、前記予測された購入用アイテムを検証することは、
前記重量偏差が偏差閾値内にあると決定することである、
請求項3に記載の方法。
【請求項5】
前記重量偏差は、下記の式:
|(測定された重量-予測された重量)|÷(予想重量)÷予測されたアイテム数
に従って計算される、請求項4に記載の方法。
【請求項6】
前記特性は、前記POSシステムに関連付けられた1つ以上の圧力又は重量センサを使用して測定された前記フットプリントを含み、
前記方法は、前記特定された1つ以上の画像に基づいて、前記購入用アイテムの上から見下ろした形状を特定することと、
前記上から見下ろした形状を、前記アイテムについての前記フットプリントと比較することと、
を更に備える、請求項1に記載の方法。
【請求項7】
前記上から見下ろした形状を、前記アイテムについての前記フットプリントと比較することは、前記アイテムについての前記フットプリントと比較した前記上から見下ろした形状についてのIoU(Intersection Over Union)を決定することである、請求項6に記載の方法。
【請求項8】
前記特性は、前記POSシステムに関連付けられた重量センサを使用して測定された前記第1の重量と、前記POSシステムに関連付けられた1つ以上の圧力又は重量センサを使用して測定された前記フットプリントとの両方を含み、
前記特性を使用して、前記予測された購入用アイテムを検証することは、前記第1の重量と前記フットプリントとの両方に基づいて検証することである、
請求項1に記載の方法。
【請求項9】
前記購入用アイテムの前記予測を検証することは、
前記アイテムを購入するための取引が有効にされるべきではないと決定することと、
前記取引に介入することと、
を備える、請求項1に記載の方法。
【請求項10】
前記取引に介入することは、
アイテムが前記POSシステムにおいて移動されるべきことを示すために、前記POSシステムに関連付けられたユーザインターフェースを修正することである、
請求項9に記載の方法。
(【請求項11】以降は省略されています)
発明の詳細な説明
【背景技術】
【0001】
[0001]販売時点情報管理(POS)端末は、販売用アイテムを購入するために、購入者によって使用され得る。例えば、小売店は、購入者がアイテムを購入することを可能にするために、1つ以上のセルフチェックアウトキオスクを含み得る。これらのセルフチェックアウトキオスクは、POS端末として機能し得、購入者のためにアイテムを特定し、購入者が特定されたアイテムを購入することを可能にするために使用され得る。
続きを表示(約 3,600 文字)
【図面の簡単な説明】
【0002】
[0002]図1Aは、一実施形態に係る、POSアイテム予測を備えた例となるチェックアウトエリアを例示する。
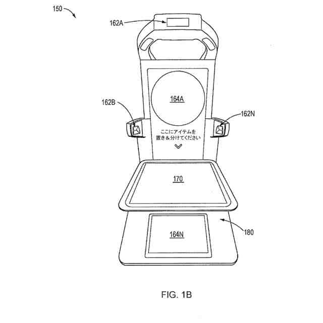
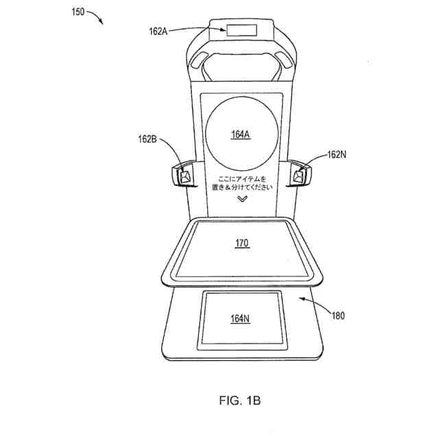
[0003]図1Bは、一実施形態に係る、アイテム予測のための例となるPOSキオスクを例示する。
[0004]図2は、一実施形態に係る、POSアイテム予測のためのコントローラを例示するブロック図である。
[0005]図3は、一実施形態に係る、重量検出を使用したPOSアイテム予測を例示するフローチャートである。
[0006]図4は、一実施形態に係る、重量検出を使用したPOSアイテム予測のためのキオスクの使用を例示する。
[0007]図5は、一実施形態に係る、POSアイテム予測のための重量検証を例示するフローチャートである。
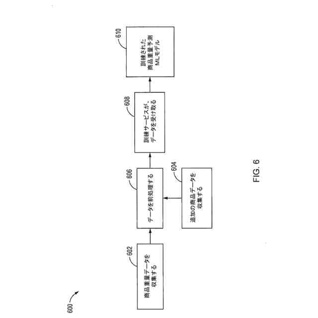
[0008]図6は、一実施形態に係る、商品重量予測機械学習(ML)モデルを訓練することを例示するフローチャートである。
[0009]図7は、一実施形態に係る、MLモデルを使用して商品重量を推測することを例示するフローチャートである。
[0010]図8は、一実施形態に係る、重量及びアイテムフットプリントを使用したPOSアイテム予測を例示するフローチャートである。
[0011]図9は、一実施形態に係る、重量及びアイテムフットプリントを使用したPOSアイテム予測のためのキオスクの使用を例示する。
【発明を実施するための形態】
【0003】
[0012]POS端末でのアイテムの特定は、困難な問題である。例えば、POSシステムは、購入されているアイテムの画像をキャプチャするための1つ以上の画像キャプチャデバイス(例えば、カメラ)を含み得る。コンピュータビジョン技法(例えば、好適なMLモデル)が、カメラに可視であるアイテムを検出するために使用され得る。しかし、コンピュータビジョンは、カメラに可視でないアイテム(例えば、互いに重なり合ったアイテム)又は視覚的には同様に見えるが、実際には異なるアイテム(例えば、異なるサイズで入手可能なアイテム)を特定することに関して大きな問題がある。
【0004】
[0013]例えば、購入者は、POS端末において、大きい方のアイテムの下に小さい方のアイテムを置き得、その結果、大きい方のアイテムは、POS端末に関連付けられたカメラに可視であるが、小さい方のアイテムは可視でない。カメラのみに依拠するコンピュータビジョンは、カメラに可視でないアイテムを特定しないことになり、購入されているアイテムの誤った予測につながる。更に、コンピュータビジョンは、異なるサイズの同一の商品を誤認し得る。例えば、購入者は、同じブランドであるが、異なるサイズの2本のソーダ缶を購入するように試み得る。コンピュータビジョンシステムは、これら2本の缶を同一アイテムとして誤って特定し得るか、又はこれら缶同士を区別することができず、したがって、(例えば、実際に購入されている缶を正しく予測することの代わりに)缶の入手可能なサイズのリストを購入者に提示し得る。
【0005】
[0014]以下に説明する1つ以上の技法は、これらの問題のうちの1つ以上を軽減し得る。例えば、重量検証が、(例えば、視覚的アイテム認識に加えて、又はその代わりに)アイテム認識のために用いられ得る。一実施形態では、POSシステムが秤を含み得、重量偏差が、購入用アイテムの実際に記録された重量と、(例えば、好適なMLモデルを使用して予測される)予測された重量との間で特定され得る。この重量偏差は、アイテム予測における誤りを特定するために使用され得るか、(例えば、視覚的アイテム認識と一緒に)アイテム予測を向上させるために使用され得るか、又はその他任意の好適な技法のために使用され得る。これについては、図3~図7に関して、以下で更に説明する。
【0006】
[0015]別の例として、アイテムフットプリントが、アイテム認識のために用いられ得る。一実施形態では、POS端末が、購入用アイテムの圧力点を特定する重量又は圧力センサを含み得る。これは、アイテムについてのフットプリント(例えば、POS端末上に載置されているときのアイテムについてのフットプリント)を生成するために使用され得る。このフットプリントは、(例えば、購入用アイテムの上方からキャプチャされる)キャプチャされた画像から特定された形状と比較され得、購入用アイテムを予測するため、購入取引を検証するため、又は両方のために使用され得る。これについては、図8~図9に関して、以下で更に説明する。例えば、購入者は、異なるサイズで入手可能なアイテム(例えば、ソーダ缶)を購入している場合がある。コンピュータビジョン技法は、アイテムのカテゴリ(例えば、ソーダのブランド及びタイプ)を特定するために使用され得るが、サイズを予測することが可能でない場合がある。アイテムのフットプリント、アイテムの重量、又は両方が、予測を改良し、オプションの中から(例えば、入手可能なサイズの中から)選択するために使用され得る。
【0007】
[予測検証の利点]
[0016]上述したように、一実施形態では、重量、フットプリント、又は両方が、POS端末でのアイテムについての予測を検証又は向上させるために使用され得る。これは、多数の技術的利点を有する。例えば、コンピュータビジョン技法は、購入用アイテムを正確に予測するのに不十分であり得る。これは、いくつかのアイテムがキャプチャされた画像において可視でない(例えば、小さい方のアイテムが大きい方のアイテムの下に置かれ得る)ためか、アイテムが視覚的に同様であるが異なるバリエーション(例えば、所要の商品についての異なるサイズ)で入手可能であり得るためか、又は様々な他のオプションのためであり得る。重量、フットプリント、又は両方を使用してアイテム予測を検証することは、著しくより正確な予測をもたらし得る。これは、コンピュータビジョン分析を補うための追加のデータ(例えば、重量、フットプリント、又は両方)を使用することによって、コンピュータビジョン技法に固有の技術的問題を解決する。
【0008】
[0017]更に、以下で説明する1つ以上の技法は、コンピュータビジョン予測のために使用されるリソースを低減することによって、予測のために使用される計算リソースを低減し得る。例えば、コンピュータビジョンMLモデルが、代わりにフットプリント、重量、又は両方に基づいて区別され得るアイテム同士を区別しないので、より少ない訓練リソースが、コンピュータビジョンMLモデルを訓練するために使用され得る。別の例として、コンピュータビジョンMLモデルを使用した推測は、フットプリント、重量、又は両方を使用することによって提供される向上した予測により、より計算集約的でなくなり得る。
【0009】
[0018]図1Aは、一実施形態に係る、POSアイテム予測を備えた例となるチェックアウトエリア100を例示する。一実施形態では、チェックアウトエリア100は、小売店環境(例えば、食料品店)に関連する。これは単なる一例にすぎず、チェックアウトエリア100は、任意の好適な環境に関連し得る。
【0010】
[0019]1人以上の購入者102が、(例えば、購入品の代金を支払うために)チェックアウトエリア110を使用する。一実施形態では、チェックアウトエリア110は、複数の販売時点情報管理(POS)システム120A~Nを含む。例えば、購入者102のうちの1人は、アイテムを購入するために、セルフチェックアウト用のPOSシステム120A~Nのうちの1つを使用し得る。チェックアウトエリア110は、従業員ステーション126を更に含む。例えば、従業員(例えば、小売店の従業員)が、購入者102及びPOSシステム120A~Nを監視するために、従業員ステーション126を使用し得る。セルフチェックアウトは、単なる一例にすぎず、POSシステム120A~Nは、任意の好適なシステムであり得る。例えば、POSシステム120Aは、従業員が購入者のチェックアウトを補助する補助付きチェックアウトキオスクであり得るか、又はチェックアウトエリア110は、完全に購入者中心(fully purchaser focused)であり、従業員による補助を含まない場合がある。
(【0011】以降は省略されています)
この特許をJ-PlatPat(特許庁公式サイト)で参照する
関連特許
株式会社イシダ
商品処理装置
10日前
株式会社バンダイ
物品供給装置
3か月前
株式会社バンダイ
物品供給装置
3か月前
株式会社バンダイ
物品供給装置
3か月前
株式会社バンダイ
物品供給装置
3か月前
富士電機株式会社
通貨識別装置
2か月前
沖電気工業株式会社
施錠開閉装置
3日前
沖電気工業株式会社
媒体処理装置
1か月前
沖電気工業株式会社
媒体処理装置
1か月前
沖電気工業株式会社
紙幣処理装置
1か月前
沖電気工業株式会社
媒体処理装置
1か月前
株式会社ライト
情報処理装置
2か月前
株式会社ライト
情報処理装置
1か月前
株式会社ライト
情報処理装置
1か月前
富士電機株式会社
自動販売機
1か月前
株式会社デンソー
車載器
8日前
富士電機株式会社
金銭処理装置
2か月前
グローリー株式会社
物品投出装置
1か月前
日本金銭機械株式会社
硬貨処理装置
12日前
株式会社トイスピリッツ
景品提供システム
1か月前
日本金銭機械株式会社
硬貨処理装置
12日前
ユニティガードシステム株式会社
入館監視システム
1か月前
旭精工株式会社
紙葉類処理装置および紙葉類処理方法
22日前
沖電気工業株式会社
現金処理装置
1か月前
沖電気工業株式会社
媒体処理装置
1か月前
沖電気工業株式会社
棒金収納装置
1か月前
沖電気工業株式会社
棒金収納装置
9日前
沖電気工業株式会社
現金処理装置及び印字装置
22日前
株式会社東芝
ドア構造
1か月前
中井銘鈑株式会社
商品見本取付け構造
2か月前
沖電気工業株式会社
硬貨処理装置及び貨幣取扱装置
1か月前
独立行政法人 国立印刷局
画像観察装置及び画像観察方法
1か月前
沖電気工業株式会社
媒体識別装置及び媒体処理装置
1か月前
株式会社バンダイ
物品供給装置、及び物品供給装置セット
3日前
グローリー株式会社
取引システム及び取引方法
1日前
グローリー株式会社
紙幣処理方法
2か月前
続きを見る
他の特許を見る