TOP
|
特許
|
意匠
|
商標
特許ウォッチ
Twitter
他の特許を見る
公開番号
2025148846
公報種別
公開特許公報(A)
公開日
2025-10-08
出願番号
2024049171
出願日
2024-03-26
発明の名称
速度異常検出装置、乗客コンベア及び速度異常検出方法
出願人
株式会社日立製作所
代理人
弁理士法人信友国際特許事務所
主分類
B66B
29/00 20060101AFI20251001BHJP(巻上装置;揚重装置;牽引装置)
要約
【課題】移動手すりに加工をしなくても、移動手すりの速度異常を検出できる速度異常検出装置、乗客コンベア及び速度異常検出方法を提供する。
【解決手段】速度異常検出装置は、カメラ102(手すり表面検出部)と、機械学習部115と、速度異常検出部116とを備える。カメラ102は、移動する移動手すりの表面の状態を検出する。機械学習部115は、カメラ102の検出結果を学習して移動手すりの特徴部の情報を含む比較用特徴データを生成する。速度異常検出部116は、比較用特徴データが生成された後のカメラ102の検出結果と、比較用特徴データとを比較して、移動手すりの速度異常を検出する。
【選択図】図3
特許請求の範囲
【請求項1】
乗客コンベアにおける移動手すりの速度異常を検出する速度異常検出装置であって、
移動する前記移動手すりの表面の状態を検出する手すり表面検出部と、
前記手すり表面検出部の検出結果を学習して前記移動手すりの特徴部の情報を含む比較用特徴データを生成する機械学習部と、
前記比較用特徴データが生成された後の前記手すり表面検出部の検出結果と、前記比較用特徴データとを比較して、前記移動手すりの速度異常を検出する速度異常検出部と、を備える
速度異常検出装置。
続きを表示(約 1,200 文字)
【請求項2】
前記機械学習部は、前記移動手すりの表面に生じた1つ以上の特徴部と、当該特徴部の位置を抽出して学習し、前記比較用特徴データを生成する
請求項1に記載の速度異常検出装置。
【請求項3】
前記特徴部が複数である場合に、前記機械学習部は、前記特徴部の順序を学習し、前記比較用特徴データを生成する
請求項2に記載の速度異常検出装置。
【請求項4】
前記機械学習部は、前記手すり表面検出部の検出結果に応じて、前記比較用特徴データを更新する
請求項1に記載の速度異常検出装置。
【請求項5】
前記手すり表面検出部は、前記移動手すりの表面を撮影するカメラであり、
前記特徴部は、前記移動手すりの表面に生じた傷及び汚れの少なくとも一方を含む
請求項1に記載の速度異常検出装置。
【請求項6】
前記手すり表面検出部は、前記移動手すりの表面までの距離を検出する距離センサであり、
前記特徴部は、前記移動手すりの表面に生じた凹凸である
請求項1に記載の速度異常検出装置。
【請求項7】
前記手すり表面検出部と、前記機械学習部と、前記速度異常検出部は、1つのユニットを構成している
請求項1に記載の速度異常検出装置。
【請求項8】
前記手すり表面検出部は、前記移動手すりの表面を下方から検出する位置に配置されている
請求項1に記載の速度異常検出装置。
【請求項9】
循環移動する複数の踏段と、前記複数の踏段と同期して移動する移動手すりと、前記移動手すりの速度異常を検出する速度異常検出装置とを備える乗客コンベアであって、
前記速度異常検出装置は、
移動する前記移動手すりの表面の状態を検出する手すり表面検出部と、
前記手すり表面検出部の検出結果を学習して前記移動手すりの特徴部の情報を含む比較用特徴データを生成する機械学習部と、
前記比較用特徴データが生成された後の前記手すり表面検出部の検出結果と、前記比較用特徴データとを比較して、前記移動手すりの速度異常検出部と、を有する
乗客コンベア。
【請求項10】
乗客コンベアにおける移動手すりの速度異常を検出する速度異常検出方法であって、
手すり表面検出部が、移動する前記移動手すりの表面の状態を検出し、
機械学習部が、前記手すり表面検出部の検出結果を学習して前記移動手すりの特徴部の情報を含む比較用特徴データを生成し、
速度異常検出部が、前記比較用特徴データが生成された後の前記手すり表面検出部の検出結果と、前記比較用特徴データとを比較して、前記移動手すりの速度異常を検出する
速度異常検出方法。
発明の詳細な説明
【技術分野】
【0001】
本発明は、速度異常検出装置、乗客コンベア及び速度異常検出方法に関する。
続きを表示(約 1,700 文字)
【背景技術】
【0002】
乗客コンベアは、循環移動する複数のステップと、複数のステップと同期して移動する移動手すり(ハンドレール)とを備えている。ハンドレールの移動速度が、複数のステップの移動速度と異なる場合は、乗客コンベアの運転を停止して、乗客の安全を確保する必要がある。
【0003】
特許文献1には、ハンドレールの移動速度を検出するコンベアが開示されている。特許文献1に開示されたコンベアは、ハンドレールと、ハンドレールに形成された縞模様の走行コードと、走行コードを検出する光センサを備えている。このコンベアは、光センサの単位時間当りの出力パルス数からハンドレールの移動速度を検出する。
【先行技術文献】
【特許文献】
【0004】
特開昭63-176289号公報
【発明の概要】
【発明が解決しようとする課題】
【0005】
しかし、特許文献1に記載されたコンベアは、ハンドレールを加工して、走行コード形成する必要がある。そのため、既設の乗客コンベアにおけるハンドレールの速度を検出する場合には、ハンドレールを交換することになる。したがって、大掛かりな工事が必要になってしまう。
【0006】
本目的は、上記の問題点を考慮し、移動手すりに加工をしなくても、移動手すりの速度異常を検出できる速度異常検出装置、乗客コンベア及び速度異常検出方法を提供することにある。
【課題を解決するための手段】
【0007】
上記課題を解決し、目的を達成するため、本発明の一側面を反映した速度異常検出装置は、乗客コンベアにおける移動手すりの速度異常を検出する。速度異常検出装置は、手すり表面検出部と、機械学習部と、速度異常検出部とを備える。手すり表面検出部は、移動する移動手すりの表面の状態を検出する。機械学習部は、手すり表面検出部の検出結果を学習して移動手すりの特徴部の情報を含む比較用特徴データを生成する。速度異常検出部は、比較用特徴データが生成された後の手すり表面検出部の検出結果と、比較用特徴データとを比較して、移動手すりの速度異常を検出する。
また、本発明の一側面を反映した乗客コンベアは、循環移動する複数のステップと、複数のステップと同期して移動する移動手すりと、移動手すりの速度異常を検出する上述の速度異常検出装置とを備える。
【0008】
本発明の一側面を反映した速度異常検出方法は、乗客コンベアにおける移動手すりの速度異常を検出する。速度異常検出方法は、乗客コンベアにおける移動手すりの速度異常を検出する。次に、機械学習部が、手すり表面検出部の検出結果を学習して移動手すりの特徴を示す比較用特徴データを生成する。そして、異常検出部が、比較用特徴データが生成された後の手すり表面検出部の検出結果と、比較用特徴データとを比較して、移動手すりの速度異常を検出する。
【発明の効果】
【0009】
上記構成の速度異常検出装置、乗客コンベア及び速度異常検出方法によれば、移動手すりに加工をしなくても、移動手すりの速度異常を検出できる。
なお、上述した以外の課題、構成および効果は、以下の実施形態の説明により明らかにされる。
【図面の簡単な説明】
【0010】
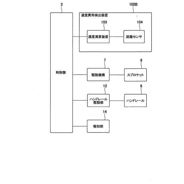
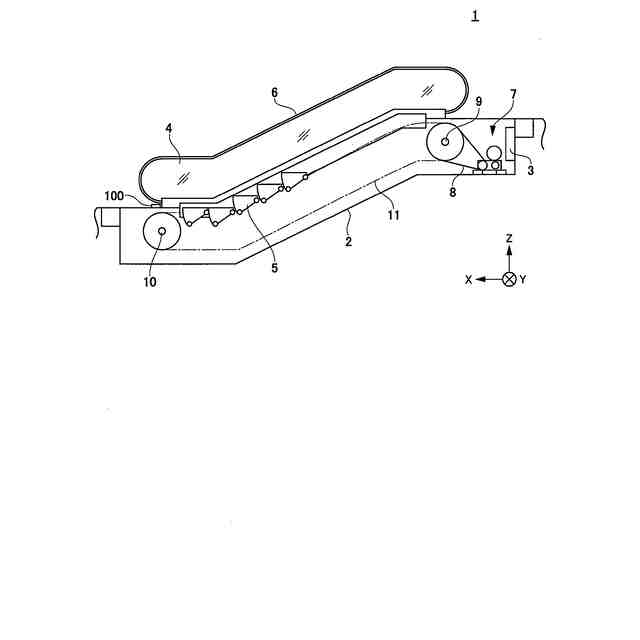
第1実施形態にかかる乗客コンベアの構成例を示す概略構成図である。
第1実施形態にかかる乗客コンベアの構成例を示すブロック図である。
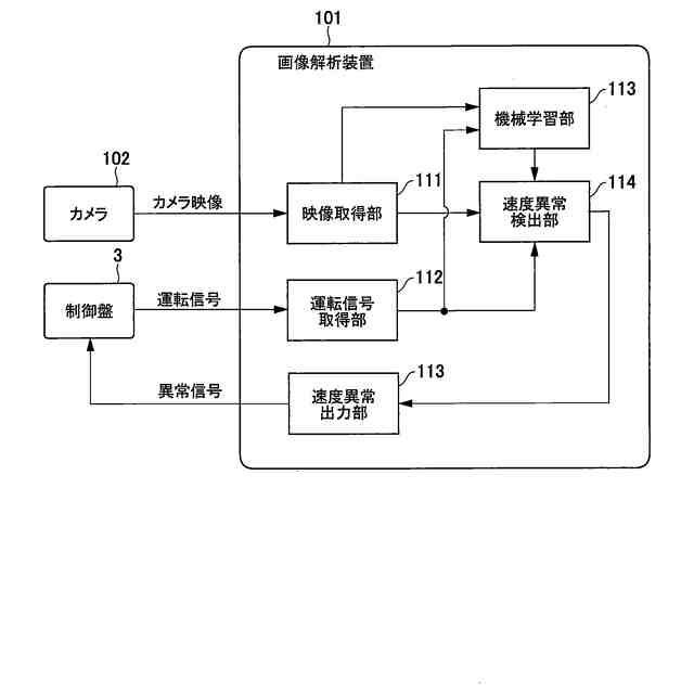
第1実施形態にかかる速度異常検出装置における画像解析装置の機能構成を示すブロック図である。
第1実施形態にかかる機械学習部が行う比較用特徴データ生成処理を示すフローチャートである。
第1実施形態にかかる速度異常検出部が行う速度異常検出処理を示すフローチャートである。
第2実施形態にかかる乗客コンベアの構成例を示すブロック図である。
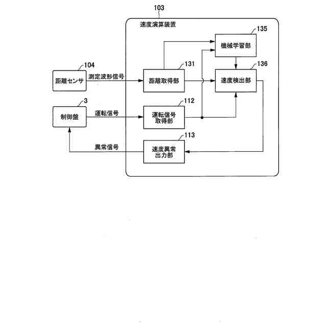
第2実施形態にかかる速度異常検出装置における速度演算装置の機能構成を示すブロック図である。
【発明を実施するための形態】
(【0011】以降は省略されています)
この特許をJ-PlatPat(特許庁公式サイト)で参照する
関連特許
個人
自走手摺
3か月前
ユニパルス株式会社
吊具
4か月前
個人
海上コンテナ昇降装置
10か月前
ユニパルス株式会社
吊具装置
10か月前
ユニパルス株式会社
荷役装置
9か月前
株式会社いうら
車椅子用昇降機
2か月前
水戸工業株式会社
吊り具
6か月前
株式会社豊田自動織機
産業車両
1か月前
株式会社豊田自動織機
荷役車両
9か月前
株式会社豊田自動織機
産業車両
11か月前
株式会社豊田自動織機
荷役車両
8か月前
ユニパルス株式会社
リフト装置
4か月前
ユニパルス株式会社
荷役助力装置
4か月前
個人
垂直自動搬送機
1か月前
個人
エアバック式レスキュー用品
10日前
愛知製鋼株式会社
受け架台
1か月前
ユニパルス株式会社
荷役助力装置
3か月前
白山工業株式会社
バランサ
7か月前
ユニパルス株式会社
荷役助力装置
5か月前
株式会社大林組
安全支援システム
1か月前
大栄産業株式会社
クランプ
5か月前
株式会社伊藤
滑り止め装置
2か月前
株式会社キトー
タイヤ用吊具
5か月前
株式会社ユピテル
システム等
6か月前
フジテック株式会社
エレベータ
9か月前
株式会社豊田自動織機
フォークリフト
29日前
新英運輸株式会社
自動車用台車
5か月前
中国計量大学
電子安全クランプ
18日前
株式会社豊田自動織機
フォークリフト
7か月前
大和ハウス工業株式会社
吊上具
2か月前
株式会社五十鈴製作所
搬送装置
4か月前
フジテック株式会社
エスカレータ
6か月前
有限会社サエキ
玉掛用器具
10か月前
中坪造園有限会社
吊り荷降ろし具
4か月前
山崎産業株式会社
手摺り拭用器具
1か月前
大和ハウス工業株式会社
パネル吊具
3か月前
続きを見る
他の特許を見る