TOP
|
特許
|
意匠
|
商標
特許ウォッチ
Twitter
他の特許を見る
公開番号
2025149630
公報種別
公開特許公報(A)
公開日
2025-10-08
出願番号
2024050384
出願日
2024-03-26
発明の名称
電力変換装置、インバータ制御装置
出願人
株式会社日立産機システム
代理人
弁理士法人サンネクスト国際特許事務所
主分類
H02M
7/48 20070101AFI20251001BHJP(電力の発電,変換,配電)
要約
【課題】電力変換装置を複数個並列に接続して使用する場合における単独運転検出機能の可用性の向上を図る。
【解決手段】電力変換装置100において、角周波数指令生成部15は、外部より入力される有効電力指令P0に基づいて、電力変換装置100が出力する交流電力に対する角周波数指令ω*を生成する。電流指令生成部20は、角周波数指令ω*から生成される位相指令θ*と予め定められた定格電圧V0から生成される第1電圧指令とに基づいて、電流指令I*を生成する。高調波電流指令生成部19は、交流電力に重畳される高調波に対する高調波電流指令Im*を生成する。電流制御部23は、電流指令I*と高調波電流指令Im*に基づいて、交流電力に対する電圧指令V*を生成する。高調波電流指令生成部19は、電力系統2と同期した基準情報を取得し、この基準情報に基づいて高調波電流指令Im*の位相を決定する。
【選択図】図1
特許請求の範囲
【請求項1】
電力系統と接続可能であり、直流電源から供給される直流電力を、前記電力系統の基本周波数に対して高調波が重畳された交流電力に変換して前記電力系統に出力する電力変換装置であって、
予め定められた定格電圧に基づいて第1電圧指令を生成する第1電圧指令生成部と、
外部より入力される有効電力指令に基づいて、前記交流電力に対する角周波数指令を生成する角周波数指令生成部と、
前記角周波数指令に基づいて位相指令を生成する位相指令生成部と、
前記位相指令と、前記第1電圧指令に基づいて前記交流電力に対する電流指令を生成する電流指令生成部と、
前記高調波に対する高調波電流指令を生成する高調波電流指令生成部と、
前記電流指令生成部により生成された前記電流指令と、前記高調波電流指令生成部により生成された前記高調波電流指令とに基づいて、前記交流電力に対する電圧指令を生成する電流制御部と、を備え、
前記高調波電流指令生成部は、前記電力系統と同期した基準情報、または絶対的な時刻情報を取得し、前記基準情報または前記時刻情報に基づいて前記高調波電流指令の位相を決定する電力変換装置。
続きを表示(約 1,700 文字)
【請求項2】
請求項1に記載の電力変換装置において、
前記電力系統の位相に基づいて、前記高調波電流指令に用いられる電流位相を決定する高調波電流指令用位相生成部を備え、
前記高調波電流指令生成部は、前記高調波電流指令用位相生成部により決定された前記電流位相を前記基準情報として取得する電力変換装置。
【請求項3】
請求項2に記載の電力変換装置において、
前記交流電力の電圧測定値から前記電力系統の位相を検出する位相検出器を備え、
前記高調波電流指令用位相生成部は、前記位相検出器により検出された前記電力系統の位相に基づいて前記電流位相を決定する電力変換装置。
【請求項4】
請求項2に記載の電力変換装置において、
前記高調波電流指令用位相生成部は、前記交流電力の有効電力をP、前記電力変換装置と前記電力系統の間に接続されているフィルタ回路のインピーダンスをX、前記交流電力の電圧測定値をVout、前記電力変換装置の出力電圧指令である第1電圧指令をE*として、以下の式(1)により、前記高調波電流指令に用いられる位相差δを求め、前記(角周波数指令から得られる)位相指令から前記位相差δを減算した値に基づいて、前記電流位相を決定する電力変換装置。
P=(Vout・E*/X)sinδ ・・・(1)
【請求項5】
請求項1に記載の電力変換装置において、
標準時刻情報を取得する時刻情報取得部を備え、
前記高調波電流指令生成部は、前記時刻情報取得部により取得された前記標準時刻情報を、前記時刻情報として取得する電力変換装置。
【請求項6】
請求項1から請求項5のいずれか一項に記載の電力変換装置において、
前記電流指令に前記高調波電流指令を加算した高調波加算電流指令を演算する電流指令加算部を備え、
前記電流制御部は、前記電流指令加算部により求められた前記高調波加算電流指令に基づいて、前記電圧指令を生成する電力変換装置。
【請求項7】
請求項1から請求項5のいずれか一項に記載の電力変換装置において、
前記電流制御部は、前記電流指令に基づいて前記高調波電流を重畳する前の前記交流電力に対する高調波重畳前電圧指令を演算するとともに、前記高調波電流指令に基づいて前記高調波電流に対する高調波電圧指令を演算し、前記高調波重畳前電圧指令と前記高調波電圧指令との合計値に基づいて、前記電圧指令を生成する電力変換装置。
【請求項8】
請求項1から請求項5のいずれか一項に記載の電力変換装置において、
前記電力系統における交流電圧の測定結果と、前記電力変換装置から前記電力系統に出力される交流電流の測定結果とに基づいて、前記電力変換装置が単独運転状態であることを検出する単独運転検出部を備える電力変換装置。
【請求項9】
電力系統と接続可能であり、直流電源から供給される直流電力を、前記電力系統の基本周波数に対して高調波電流が重畳された交流電力に変換して前記電力系統に出力するインバータの制御を行う装置であって、
予め定められた定格電圧に基づいて第1電圧指令を生成する第1電圧指令生成部と、
外部より入力される有効電力指令に基づいて、前記交流電力に対する角周波数指令を生成する角周波数指令生成部と、
前記角周波数指令に基づいて位相指令を生成する位相指令生成部と、
前記位相指令と、前記第1電圧指令に基づいて前記交流電力に対する電流指令を生成する電流指令生成部と、
前記高調波電流に対する高調波電流指令を生成する高調波電流指令生成部と、
前記電流指令生成部により生成された前記電流指令と、前記高調波電流指令生成部により生成された前記高調波電流指令とに基づいて、前記交流電力に対する電圧指令を生成する電流制御部と、を備え、
前記高調波電流指令生成部は、前記電力系統と同期した基準情報、または絶対的な時刻情報を取得し、前記基準情報または前記時刻情報に基づいて前記高調波電流指令の位相を決定するインバータ制御装置。
発明の詳細な説明
【技術分野】
【0001】
本発明は、電力変換装置およびインバータ制御装置に関する。
続きを表示(約 2,600 文字)
【背景技術】
【0002】
従来、ソーラーパネルや蓄電池等の直流電源と電力系統の間に接続され、直流電源から出力される直流電力を電力系統の周波数および位相と整合する交流電力に変換して電力系統に入力する電力変換装置が知られている。こうした電力変換装置において、電力系統の基本波の非整数倍の周波数を有する次数間高調波電流を電力系統に注入し、この次数間高調波電流に応じた電圧の計測結果から電力系統のインピーダンスをモニタすることで、電力系統の給電が停止された際にはこれを検出し、電力系統との接続を遮断して電力系統での事故等の発生を防止するものが知られている(特許文献1)。
【0003】
上記のような機能を有する電力変換装置を複数個並列に接続した場合には、各電力変換装置間での次数間高調波電流が相互に干渉しないようにする必要がある。そこで、こうした課題を解決するものとして、特許文献2に記載の技術が知られている。特許文献2には、電力系統に連系するマスター用分散電源部とスレーブ用分散電源部とを備え、マスター用分散電源部から電力系統に基準信号を注入し、マスター用分散電源部とスレーブ用分散電源部は、同一の周波数を有する次数間高調波信号であって、電力系統に注入された基準信号に同期した次数間高調波信号をそれぞれ生成する分散電源装置が記載されている。この分散電源装置によれば、同期のための通信線等を設けることなく、マスター用分散電源部とスレーブ用分散電源部でそれぞれの次数間高調波信号を同期することができる。
【先行技術文献】
【特許文献】
【0004】
特開平10-248168号公報
特開2015-154604号公報
【発明の概要】
【発明が解決しようとする課題】
【0005】
特許文献2に記載の分散電源装置では、マスター用分散電源部が故障等によって基準信号を正常に生成できない場合に、残りのスレーブ用分散電源部間で同期を取ることが困難になる。したがって、各電力変換装置間での次数間高調波電流の相互干渉を防止できず電力系統の給電停止の検出が困難になるという課題がある。
【0006】
本発明は、上記課題に鑑みて、電力変換装置を複数個並列に接続して使用する場合における電力系統の給電停止の検出機能の可用性の向上を目的とする。
【課題を解決するための手段】
【0007】
本発明による電力変換装置は、電力系統と接続可能であり、直流電源から供給される直流電力を、前記電力系統の基本周波数に対して高調波が重畳された交流電力に変換して前記電力系統に出力するものであって、予め定められた定格電圧に基づいて第1電圧指令を生成する第1電圧指令生成部と、外部より入力される有効電力指令に基づいて、前記交流電力に対する角周波数指令を生成する角周波数指令生成部と、前記角周波数指令に基づいて位相指令を生成する位相指令生成部と、前記位相指令と前記第1電圧指令に基づいて前記交流電力に対する電流指令を生成する電流指令生成部と、前記高調波に対する高調波電流指令を生成する高調波電流指令生成部と、前記電流指令生成部により生成された前記電流指令と、前記高調波電流指令生成部により生成された前記高調波電流指令とに基づいて、前記交流電力に対する電圧指令を生成する電流制御部と、を備え、前記高調波電流指令生成部は、前記電力系統と同期した基準情報、または絶対的な時刻情報を取得し、前記基準情報または前記時刻情報に基づいて前記高調波電流指令の位相を決定する。
本発明によるインバータ制御装置は、電力系統と接続可能であり、直流電源から供給される直流電力を、前記電力系統の基本周波数に対して高調波電流が重畳された交流電力に変換して前記電力系統に出力するインバータの制御を行う装置であって、予め定められた定格電圧に基づいて第1電圧指令を生成する第1電圧指令生成部と、外部より入力される有効電力指令に基づいて、前記交流電力に対する角周波数指令を生成する角周波数指令生成部と、前記角周波数指令に基づいて位相指令を生成する位相指令生成部と、前記位相指令と前記第1電圧指令に基づいて前記交流電力に対する電流指令を生成する電流指令生成部と、前記高調波電流に対する高調波電流指令を生成する高調波電流指令生成部と、前記電流指令生成部により生成された前記電流指令と、前記高調波電流指令生成部により生成された前記高調波電流指令とに基づいて、前記交流電力に対する電圧指令を生成する電流制御部と、を備え、前記高調波電流指令生成部は、前記電力系統と同期した基準情報、または絶対的な時刻情報を取得し、前記基準情報または前記時刻情報に基づいて前記高調波電流指令の位相を決定する。
【発明の効果】
【0008】
本発明によれば、電力変換装置を複数個並列に接続して使用する場合における電力系統の給電停止の検出機能の可用性の向上を図ることができる。
【図面の簡単な説明】
【0009】
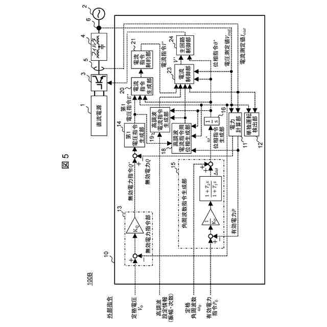
本発明の第1の実施形態に係る電力変換装置の構成例を示す図。
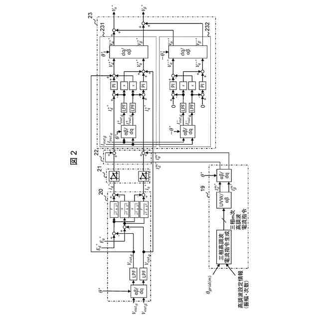
本発明の第1の実施形態に係る電力変換装置における電流制御の詳細を示す制御ブロック図。
本発明の第2の実施形態に係る電力変換装置の構成例を示す図。
本発明の第2の実施形態に係る電力変換装置における電流制御の詳細を示す制御ブロック図。
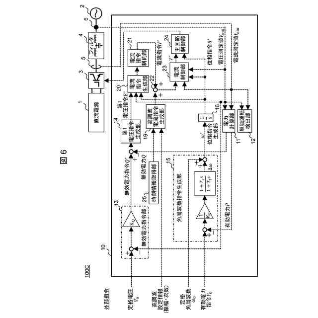
本発明の第3の実施形態に係る電力変換装置の構成例を示す図。
本発明の第4の実施形態に係る電力変換装置の構成例を示す図。
【発明を実施するための形態】
【0010】
(第1の実施形態)
図1は、本発明の第1の実施形態に係る電力変換装置の構成例を示す図である。本実施形態の電力変換装置100は、直流電源1から供給される直流電力を交流電力に変換して電力系統2に出力することで、直流電源1から電力系統2への電力供給を実現するものであり、インバータ3、フィルタ4、電流センサ5、電圧センサ6およびインバータ制御装置10を有する。
(【0011】以降は省略されています)
この特許をJ-PlatPat(特許庁公式サイト)で参照する
関連特許
個人
単極モータ
5日前
株式会社アイシン
ロータ
5日前
株式会社アイシン
ロータ
9日前
西部電機株式会社
充電装置
12日前
西部電機株式会社
充電装置
12日前
日本精機株式会社
サージ保護回路
12日前
トヨタ自動車株式会社
回転子
16日前
トヨタ自動車株式会社
固定子
10日前
個人
連続ガウス加速器形磁力増幅装置
12日前
株式会社デンソー
回転機
3日前
トヨタ自動車株式会社
製造装置
10日前
株式会社アイシン
ステータ
9日前
株式会社ダイヘン
充電装置
9日前
株式会社アイシン
ステータ
9日前
個人
太陽エネルギー収集システム
10日前
株式会社ミツバ
ブラシレスモータ
11日前
カヤバ株式会社
筒型リニアモータ
11日前
株式会社アイシン
ステータ
9日前
東京瓦斯株式会社
通信装置
11日前
株式会社アイシン
ステータ
9日前
株式会社ダイヘン
充電装置
9日前
株式会社ダイヘン
充電装置
9日前
株式会社ダイヘン
充電装置
9日前
ニチコン株式会社
AC入力検出回路
16日前
トヨタ自動車株式会社
ロータ
18日前
トヨタ自動車株式会社
被膜形成装置
10日前
ユタカ電業株式会社
ケーブルダクト
20日前
株式会社kaisei
発電システム
5日前
日産自動車株式会社
ステータ
17日前
株式会社デンソー
電力変換装置
4日前
ASTI株式会社
電力変換装置
10日前
株式会社大林組
可搬式充電設備
17日前
株式会社ミツバ
回転電機
2日前
東京瓦斯株式会社
給電システム
11日前
株式会社ミツバ
回転電機
9日前
株式会社デンソー
電力変換装置
16日前
続きを見る
他の特許を見る