TOP
|
特許
|
意匠
|
商標
特許ウォッチ
Twitter
他の特許を見る
10個以上の画像は省略されています。
公開番号
2025149877
公報種別
公開特許公報(A)
公開日
2025-10-08
出願番号
2025004009
出願日
2025-01-10
発明の名称
端末及び無線通信方法
出願人
株式会社NTTドコモ
代理人
インフォート弁理士法人
主分類
H04W
8/24 20090101AFI20251001BHJP(電気通信技術)
要約
【課題】ポジショニングの精度を向上すること。
【解決手段】本開示の一態様に係る端末は、人工知能(AI)ベースドポジショニングについて端末側でサポートされる機能の報告に対する要求を受信する受信部と、前記サポートされる機能としてUE能力を報告するように制御する制御部と、を有し、UE能力は、測位方法、モデル、前記AIベースドポジショニングのユースケースごと、あるいは、単一の測位方法として規定される。
【選択図】図6
特許請求の範囲
【請求項1】
人工知能(AI)ベースドポジショニングについて端末側でサポートされる機能の報告に対する要求を受信する受信部と、
前記サポートされる機能としてUE能力を報告するように制御する制御部と、を有し、
UE能力は、測位方法、モデル、前記AIベースドポジショニングのユースケースごと、あるいは、単一の測位方法として規定される端末。
続きを表示(約 560 文字)
【請求項2】
前記制御部は、特定のタイミングにおいて前記サポートされる機能又はUE能力を報告もしくは更新する、請求項1に記載の端末。
【請求項3】
前記制御部は、アシスタンスデータの送信を位置管理機能(LMF)に要求する、又は前記LMFからアシスタンスデータが送信されることを想定する、請求項1に記載の端末。
【請求項4】
前記制御部は、前記サポートされる機能について適用可能性を報告するようにLMFから要求される、あるいは前記適用可能性を報告するように制御する、請求項1に記載の端末。
【請求項5】
前記制御部は、前記サポートされる機能について適用可能性を示すインディケーター、フラグ、フィールドの少なくとも1つを含む情報要素を報告するように制御する、請求項1に記載の端末。
【請求項6】
人工知能(AI)ベースドポジショニングについて端末側でサポートされる機能の報告に対する要求を受信するステップと、
前記サポートされる機能としてUE能力を報告するように制御するステップと、を有し、
UE能力は、測位方法、モデル、前記AIベースドポジショニングのユースケースごと、あるいは、単一の測位方法として規定される端末の無線通信方法。
発明の詳細な説明
【技術分野】
【0001】
本開示は、次世代移動通信システムにおける端末及び無線通信方法に関する。
続きを表示(約 2,400 文字)
【背景技術】
【0002】
Universal Mobile Telecommunications System(UMTS)ネットワークにおいて、更なる高速データレート、低遅延などを目的としてLong Term Evolution(LTE)が仕様化された(非特許文献1)。また、LTE(Third Generation Partnership Project(3GPP(登録商標)) Release(Rel.)8、9)の更なる大容量、高度化などを目的として、LTE-Advanced(3GPP Rel.10-14)が仕様化された。
【0003】
LTEの後継システム(例えば、5th generation mobile communication system(5G)、5G+(plus)、6th generation mobile communication system(6G)、New Radio(NR)、3GPP Rel.15以降などともいう)も検討されている。
【先行技術文献】
【非特許文献】
【0004】
3GPP TS 36.300 V8.12.0 “Evolved Universal Terrestrial Radio Access (E-UTRA) and Evolved Universal Terrestrial Radio Access Network (E-UTRAN); Overall description; Stage 2 (Release 8)”、2010年4月
【発明の概要】
【発明が解決しようとする課題】
【0005】
無線通信システムにおいて、Artificial Intelligence/Machine Learning(AI/ML)技術を利用した端末の測位(ポジショニング)が検討されている。
【0006】
ところで、AI技術を利用したポジショニング(AIベースドポジショニングと呼ばれてもよい)向けの規定について、検討が十分でないケースが存在し得る。これらが明確でないと、AIベースドポジショニングの手順が適切に実行されず、測位精度に影響を与えるおそれがある。その結果、通信のスループット/品質に影響を与えるおそれがある。
【0007】
そこで、本開示は、ポジショニングの精度を向上することができる端末及び無線通信方法を提供することを目的の1つとする。
【課題を解決するための手段】
【0008】
本開示の一態様に係る端末は、人工知能(AI)ベースドポジショニングについて端末側でサポートされる機能の報告に対する要求を受信する受信部と、前記サポートされる機能としてUE能力を報告するように制御する制御部と、を有し、UE能力は、測位方法、モデル、前記AIベースドポジショニングのユースケースごと、あるいは、単一の測位方法として規定される。
【発明の効果】
【0009】
本開示の一態様によれば、ポジショニングの精度を向上することができる。
【図面の簡単な説明】
【0010】
図1は、AIモデルを用いた処理の例を示す図である。
図2は、AIモデル(AI/MLモデル)の一例を示す図である。
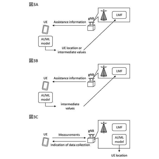
図3Aから図3Cは、DL信号を利用したポジショニングのバリエーションを示す図である。
図4A及び図4Bは、UL信号を利用したポジショニングのバリエーションを示す図である。
図5は、AIベースドポジショニング向けのLCM手順の一例を示す図である。
図6は、第1の実施形態に係るUE能力に関するパラメータの記載例を示す図である。
図7は、第1の実施形態に係るUE能力に関するパラメータの記載例を示す図である。
図8は、第1の実施形態に係るUE能力に関するパラメータの記載例を示す図である。
図9は、第1の実施形態に係るUE能力に関するパラメータの記載例を示す図である。
図10は、第1の実施形態に係るUE能力に関するパラメータの記載例を示す図である。
図11は、第1の実施形態に係るUE能力に関するパラメータの記載例を示す図である。
図12は、第1の実施形態に係るUE能力に関するパラメータの記載例を示す図である。
図13は、第1の実施形態に係るUE能力に関するパラメータの記載例を示す図である。
図14は、第3の実施形態に係る適用可能な機能に関するパラメータの記載例を示す図である。
図15は、第3の実施形態に係る適用可能な機能に関するパラメータの記載例を示す図である。
図16は、第3の実施形態に係る適用可能な機能に関するパラメータの記載例を示す図である。
図17は、第3の実施形態に係る適用可能な機能に関するパラメータの記載例を示す図である。
図18は、第3の実施形態に係る適用可能な機能に関するパラメータの記載例を示す図である。
図19は、一実施形態に係る無線通信システムの概略構成の一例を示す図である。
図20は、一実施形態に係る基地局の構成の一例を示す図である。
図21は、一実施形態に係るユーザ端末の構成の一例を示す図である。
図22は、一実施形態に係る基地局及びユーザ端末のハードウェア構成の一例を示す図である。
図23は、一実施形態に係る車両の一例を示す図である。
【発明を実施するための形態】
(【0011】以降は省略されています)
この特許をJ-PlatPat(特許庁公式サイト)で参照する
関連特許
株式会社NTTドコモ
端末
9日前
株式会社NTTドコモ
端末
10日前
株式会社NTTドコモ
端末
10日前
株式会社NTTドコモ
端末
10日前
株式会社NTTドコモ
端末
9日前
株式会社NTTドコモ
端末
9日前
株式会社NTTドコモ
端末
9日前
株式会社NTTドコモ
端末
9日前
株式会社NTTドコモ
端末
10日前
株式会社NTTドコモ
基地局
9日前
株式会社NTTドコモ
デバイス
9日前
株式会社NTTドコモ
デバイス
10日前
株式会社NTTドコモ
デバイス
10日前
株式会社NTTドコモ
デバイス
10日前
株式会社NTTドコモ
デバイス
10日前
株式会社NTTドコモ
デバイス
9日前
株式会社NTTドコモ
デバイス
9日前
株式会社NTTドコモ
情報処理装置
2日前
株式会社NTTドコモ
装置及び方法
7日前
株式会社NTTドコモ
端末及び基地局
9日前
株式会社NTTドコモ
端末及び基地局
9日前
株式会社NTTドコモ
端末及び基地局
9日前
株式会社NTTドコモ
基地局及び端末
9日前
株式会社NTTドコモ
基地局及び端末
9日前
株式会社NTTドコモ
端末及び通信方法
9日前
株式会社NTTドコモ
端末及び通信方法
9日前
株式会社NTTドコモ
端末及び通信方法
10日前
株式会社NTTドコモ
端末及び通信方法
10日前
株式会社NTTドコモ
端末及び通信方法
10日前
株式会社NTTドコモ
端末及び通信方法
9日前
株式会社NTTドコモ
端末及び通信方法
9日前
株式会社NTTドコモ
端末及び通信方法
10日前
株式会社NTTドコモ
端末及び通信方法
10日前
株式会社NTTドコモ
端末及び通信方法
10日前
株式会社NTTドコモ
端末及び通信方法
10日前
株式会社NTTドコモ
端末及び通信方法
10日前
続きを見る
他の特許を見る