TOP
|
特許
|
意匠
|
商標
特許ウォッチ
Twitter
他の特許を見る
10個以上の画像は省略されています。
公開番号
2025150595
公報種別
公開特許公報(A)
公開日
2025-10-09
出願番号
2024051574
出願日
2024-03-27
発明の名称
生体認証装置、生体認証システム、生体認証方法、及びプログラム
出願人
日本電気株式会社
代理人
個人
,
個人
主分類
G06F
21/32 20130101AFI20251002BHJP(計算;計数)
要約
【課題】特定のユーザに向けて提供されるサービスをユーザが受けやすい生体認証装置、生体認証システム、生体認証方法、及びプログラムを提供する。
【解決手段】生体認証装置は、サービス提供装置と通信可能に接続し、ユーザ情報読取部と、情報遅延送信部と、生体情報取得部と、生体情報照合部と、を備える。
【選択図】図9
特許請求の範囲
【請求項1】
ユーザに対してサービスを提供するサービス提供装置と通信可能に接続し、
記録媒体に記録された前記ユーザの身元情報及び生体情報を読み取るユーザ情報読取部と、
前記ユーザ情報読取部が読み取った前記ユーザの身元情報を保管する情報遅延送信部と、
前記ユーザの生体情報を前記ユーザから取得する生体情報取得部と、
前記生体情報取得部が取得した前記ユーザの生体情報と前記ユーザ情報読取部が読み取った前記ユーザの生体情報とを照合する生体情報照合部と、
を備え、
前記情報遅延送信部は、前記生体情報照合部が前記ユーザの生体情報を照合した後に、前記ユーザの身元情報を前記サービス提供装置に送信し、
前記サービス提供装置は、前記ユーザの身元情報を確認した後に、前記ユーザに対して前記サービスを提供する、
生体認証装置。
続きを表示(約 1,900 文字)
【請求項2】
第1制御部を備え、
前記第1制御部は、前記ユーザ情報読取部が読み取った前記ユーザの身元情報を暗号化し、
前記情報遅延送信部は、前記第1制御部が暗号化した前記ユーザの身元情報を保管して送信する、
請求項1に記載の生体認証装置。
【請求項3】
前記サービス提供装置は、前記ユーザの身元情報を暗号化する第1の鍵と、暗号化された前記ユーザの身元情報を復号する第2の鍵と、を発行し、
前記第1制御部は、前記第1の鍵を前記サービス提供装置から受信し、
前記第1制御部は、前記第1の鍵を用いて、前記ユーザ情報読取部が読み取った前記ユーザの身元情報を暗号化する、
請求項2に記載の生体認証装置。
【請求項4】
前記第1の鍵、前記第2の鍵は各々、公開鍵暗号方式の公開鍵、秘密鍵である、
請求項3に記載の生体認証装置。
【請求項5】
前記生体認証装置は、前記ユーザが入力した予約情報を参照して、前記ユーザに対して前記サービスを提供する日時を確認する前記サービス提供装置に前記予約情報を送信する、
請求項1に記載の生体認証装置。
【請求項6】
前記ユーザに対して前記サービスを提供する日時を確認した後に、前記日時が所定の時間内に到来するか否かを確認した前記サービス提供装置から、前記日時が所定の時間内に到来するか否かの情報を取得する、
請求項5に記載の生体認証装置。
【請求項7】
前記日時が所定の時間内に到来する場合に、前記生体情報照合部は、前記ユーザの生体情報の照合を開始する、
請求項6に記載の生体認証装置。
【請求項8】
ユーザに対してサービスを提供するサービス提供装置と、
前記サービス提供装置と通信可能に接続された生体認証装置と、
を備え、
前記生体認証装置は、
記録媒体に記録された前記ユーザの身元情報及び生体情報を読み取るユーザ情報読取部と、
前記ユーザ情報読取部が読み取った前記ユーザの身元情報を保管する情報遅延送信部と、
前記ユーザの生体情報を前記ユーザから取得する生体情報取得部と、
前記生体情報取得部が取得した前記ユーザの生体情報と前記ユーザ情報読取部が読み取った前記ユーザの生体情報とを照合する生体情報照合部と、
を備え、
前記情報遅延送信部は、前記生体情報照合部が前記ユーザの生体情報を照合した後に、前記ユーザの身元情報を前記サービス提供装置に送信し、
前記サービス提供装置は、前記ユーザの身元情報を確認した後に、前記ユーザに対して前記サービスを提供する、
生体認証システム。
【請求項9】
記録媒体に記録されたユーザの身元情報を読み取る第1のステップと、
前記記録媒体に記録された前記ユーザの生体情報を読み取る第2のステップと、
読み取った前記ユーザの身元情報を保管する第3のステップと、
前記ユーザの生体情報を前記ユーザから取得する第4のステップと、
前記第4のステップで取得した前記ユーザの生体情報と前記第2のステップで読み取った前記ユーザの生体情報とを照合する第5のステップと、
前記第5のステップで前記ユーザの生体情報を照合した後に、前記ユーザの身元情報を送信する第6のステップと、
前記ユーザの身元情報を確認した後に、前記ユーザに対してサービスを提供する、第7のステップと、
を備える、
生体認証方法。
【請求項10】
記録媒体に記録されたユーザの身元情報を読み取る第1のステップと、
前記記録媒体に記録された前記ユーザの生体情報を読み取る第2のステップと、
読み取った前記ユーザの身元情報を保管する第3のステップと、
前記ユーザの生体情報を前記ユーザから取得する第4のステップと、
前記第4のステップで取得した前記ユーザの生体情報と前記第2のステップで読み取った前記ユーザの生体情報とを照合する第5のステップと、
前記第5のステップで前記ユーザの生体情報を照合した後に、前記ユーザの身元情報を送信する第6のステップと、
前記ユーザの身元情報を確認した後に、前記ユーザに対してサービスを提供する、第7のステップと、
を、コンピュータに実行させるためのプログラム。
発明の詳細な説明
【技術分野】
【0001】
本開示は、生体認証装置、生体認証システム、生体認証方法、及びプログラムに関する。
続きを表示(約 2,400 文字)
【背景技術】
【0002】
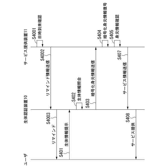
特定のユーザに向けて提供されるサービスにおいて、ユーザに固有の生体情報(例えば、ユーザの顔画像、指紋画像)を用いてユーザの個人認証を行う、生体認証が知られている。例えば、特許文献1には、ユーザの生体情報を照合する認証端末を含むシステムにより、生体認証を行うことが記載されている。
【先行技術文献】
【特許文献】
【0003】
国際公開第2023/053268号
【0004】
特定のユーザに向けて提供されるサービスには、例えば、官公庁が提供する公的サービス、医療機関が提供する医療サービスがある。そのようなサービスでは、公的証明書に記録された、ユーザを特定する情報(典型的には、氏名、住所等の身元情報)を照合することにより、ユーザが特定され、サービスが提供される。公的証明書は、例えば、マイナンバーカード、運転免許証、パスポートである。公的証明書はICチップを有しており、そこにユーザを特定する情報が記録されている。このICチップに、ユーザの生体情報を記録することにより、公的サービス、医療サービスその他の特定のユーザに向けて提供されるサービスにおいて、生体認証が可能となる(以下、身元情報、生体情報を、「ユーザ特定情報」と総称し、単に「ユーザ情報」と称することもある。)。公的証明書のICチップは、ユーザを特定する情報が記録された、ユーザ固有の記録媒体である。
【発明の概要】
【発明が解決しようとする課題】
【0005】
多くのサービスでは、サービスの予約が完了したタイミングと、当該サービスが提供されるタイミングとが異なる。この2つのタイミングのスパンが長くなるほど、ユーザ情報が漏洩するリスクが高くなる。このことは、ユーザ情報漏洩の可能性があるユーザにとっても、ユーザ情報漏洩の責任を問われるサービス提供者にとっても、不安を感じさせる要因となる。
【0006】
本開示の目的は、上述の課題を解決する生体認証装置、生体認証システム、生体認証方法、及びプログラムを提供することにある。
【課題を解決するための手段】
【0007】
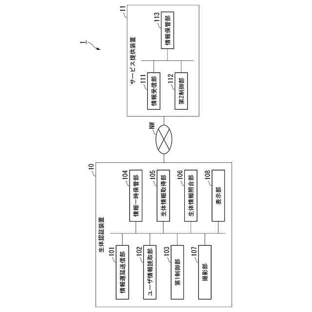
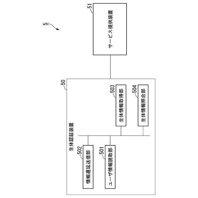
本開示の一態様に係る生体認証装置は、ユーザに対してサービスを提供するサービス提供装置と通信可能に接続し、記録媒体に記録された前記ユーザの身元情報及び生体情報を読み取るユーザ情報読取部と、前記ユーザ情報読取部が読み取った前記ユーザの身元情報を保管する情報遅延送信部と、前記ユーザの生体情報を前記ユーザから取得する生体情報取得部と、前記生体情報取得部が取得した前記ユーザの生体情報と前記ユーザ情報読取部が読み取った前記ユーザの生体情報とを照合する生体情報照合部と、を備え、前記情報遅延送信部は、前記生体情報照合部が前記ユーザの生体情報を照合した後に、前記ユーザの身元情報を前記サービス提供装置に送信し、前記サービス提供装置は、前記ユーザの身元情報を確認した後に、前記ユーザに対して前記サービスを提供する。
【0008】
本開示の一態様に係る生体認証システムは、ユーザに対してサービスを提供するサービス提供装置と、前記サービス提供装置と通信可能に接続された生体認証装置と、を備え、前記生体認証装置は、記録媒体に記録された前記ユーザの身元情報及び生体情報を読み取るユーザ情報読取部と、前記ユーザ情報読取部が読み取った前記ユーザの身元情報を保管する情報遅延送信部と、前記ユーザの生体情報を前記ユーザから取得する生体情報取得部と、前記生体情報取得部が取得した前記ユーザの生体情報と前記ユーザ情報読取部が読み取った前記ユーザの生体情報とを照合する生体情報照合部と、を備え、前記情報遅延送信部は、前記生体情報照合部が前記ユーザの生体情報を照合した後に、前記ユーザの身元情報を前記サービス提供装置に送信し、前記サービス提供装置は、前記ユーザの身元情報を確認した後に、前記ユーザに対して前記サービスを提供する。
【0009】
本開示の一態様に係る生体認証方法は、記録媒体に記録されたユーザの身元情報を読み取る第1のステップと、前記記録媒体に記録された前記ユーザの生体情報を読み取る第2のステップと、読み取った前記ユーザの身元情報を保管する第3のステップと、前記ユーザの生体情報を前記ユーザから取得する第4のステップと、前記第4のステップで取得した前記ユーザの生体情報と前記第2のステップで読み取った前記ユーザの生体情報とを照合する第5のステップと、前記第5のステップで前記ユーザの生体情報を照合した後に、前記ユーザの身元情報を送信する第6のステップと、前記ユーザの身元情報を確認した後に、前記ユーザに対してサービスを提供する、第7のステップと、を備える。
【0010】
本開示の一態様に係るプログラムは、記録媒体に記録されたユーザの身元情報を読み取る第1のステップと、前記記録媒体に記録された前記ユーザの生体情報を読み取る第2のステップと、読み取った前記ユーザの身元情報を保管する第3のステップと、前記ユーザの生体情報を前記ユーザから取得する第4のステップと、前記第4のステップで取得した前記ユーザの生体情報と前記第2のステップで読み取った前記ユーザの生体情報とを照合する第5のステップと、前記第5のステップで前記ユーザの生体情報を照合した後に、前記ユーザの身元情報を送信する第6のステップと、前記ユーザの身元情報を確認した後に、前記ユーザに対してサービスを提供する、第7のステップと、を、コンピュータに実行させるためのプログラムである。
【図面の簡単な説明】
(【0011】以降は省略されています)
この特許をJ-PlatPat(特許庁公式サイト)で参照する
関連特許
日本電気株式会社
監視装置
今日
日本電気株式会社
管理装置
今日
日本電気株式会社
監視装置
今日
日本電気株式会社
海底分岐装置
1日前
日本電気株式会社
安否確認支援装置、方法及びプログラム
1日前
日本電気株式会社
追跡支援装置、追跡支援方法及びプログラム
5日前
日本電気株式会社
セルロース系樹脂組成物及びこれを用いた成形体
5日前
日本電気株式会社
繊維状カーボンナノホーン集合体の接着分離方法
1日前
日本電気株式会社
画像処理装置、点検システム、方法およびプログラム
1日前
日本電気株式会社
情報管理装置、情報管理方法、及び、制御プログラム
1日前
日本電気株式会社
健康改善支援装置、健康改善支援方法及びプログラム
5日前
日本電気株式会社
システム
1日前
日本電気株式会社
処理装置
1日前
日本電気株式会社
改善提案装置、改善提案方法およびコンピュータプログラム
1日前
日本電気株式会社
衣服情報管理装置、衣服情報管理装置方法、およびプログラム
今日
日本電気株式会社
見直し提案装置、見直し提案方法およびコンピュータプログラム
1日前
日本電気株式会社
フレーム転送装置、フレーム転送方法およびフレーム転送プログラム
1日前
日本電気株式会社
情報処理装置、情報管理システム、情報処理方法、およびプログラム
5日前
日本電気株式会社
ナノカーボン複合体、これを用いたボロメータ、およびこれらの製造方法
1日前
日本電気株式会社
コンテンツ生成装置、コンテンツ生成方法、及びコンテンツ生成プログラム
5日前
日本電気株式会社
地図情報提供装置、地図情報提供システム、地図情報提供方法及び地図情報提供プログラム
1日前
日本電気株式会社
三次元スキャナの設置位置設定支援装置、三次元スキャナの設置位置設定支援方法、及び、三次元スキャナの設置位置設定支援プログラム
1日前
個人
詐欺保険
1日前
個人
縁伊達ポイン
1日前
個人
QRコードの彩色
5日前
個人
地球保全システム
14日前
個人
表変換編集支援システム
1か月前
個人
残土処理システム
7日前
個人
農作物用途分配システム
今日
個人
知的財産出願支援システム
8日前
個人
パスワード管理支援システム
1か月前
個人
海外支援型農作物活用システム
26日前
個人
システム及びプログラム
27日前
個人
食品レシピ生成システム
13日前
株式会社キーエンス
受発注システム
13日前
株式会社キーエンス
受発注システム
13日前
続きを見る
他の特許を見る