TOP
|
特許
|
意匠
|
商標
特許ウォッチ
Twitter
他の特許を見る
10個以上の画像は省略されています。
公開番号
2025156993
公報種別
公開特許公報(A)
公開日
2025-10-15
出願番号
2024059791
出願日
2024-04-02
発明の名称
監視装置
出願人
日本電気株式会社
代理人
個人
,
個人
,
個人
,
個人
主分類
H04N
7/18 20060101AFI20251007BHJP(電気通信技術)
要約
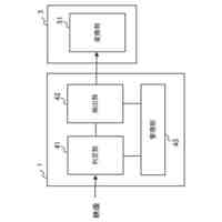
【課題】物体の種類を推定する際の精度を向上させることが難しい。
【解決手段】監視装置は、画像データに応じて、物体を落とした対象人物周辺の状況を示す周辺状況を検出する検出部と、前記検出部による検出結果に応じて、前記物体の種類を推定する際の推定の確からしさに応じた値である推定確度を修正する修正部と、を有する。
【選択図】図11
特許請求の範囲
【請求項1】
画像データに応じて、物体を落とした対象人物周辺の状況を示す周辺状況を検出する検出部と、
前記検出部による検出結果に応じて、前記物体の種類を推定する際の推定の確からしさに応じた値である推定確度を修正する修正部と、
を有する
監視装置。
続きを表示(約 920 文字)
【請求項2】
前記検出部は、前記周辺状況として、前記対象人物周辺に存在する周辺人物が起こす所定の行動を検出する
請求項1に記載の監視装置。
【請求項3】
前記検出部は、前記周辺状況として、前記物体がゴミである場合に前記周辺人物が起こすと想定される行動を検出する
請求項2に記載の監視装置。
【請求項4】
前記検出部は、前記画像データにおいて、前記対象人物または前記物体からの距離が所定の範囲内に存在する前記周辺人物の行動を検出する
請求項2に記載の監視装置。
【請求項5】
前記検出部は、前記周辺人物の行動のうち、予め定められた所定時間を超えて継続される行動を検出対象となる行動として検出する
請求項2に記載の監視装置。
【請求項6】
前記修正部は、前記検出部が検出した行動を起こすと想定される状況に応じた行動の種類に応じて、行動の種類に応じた推定確度の修正を行う
請求項2に記載の監視装置。
【請求項7】
前記修正部は、前記画像データにおける人物の数に応じた人口密度に応じた修正を行う
請求項1に記載の監視装置。
【請求項8】
前記画像データに応じて、ゴミ箱の検出またはゴミ箱の状況の検出のうちの少なくとも一方を行うゴミ箱検出部を有し、
前記修正部は、前記ゴミ箱検出部による検出結果に応じた修正を行う
請求項1に記載の監視装置。
【請求項9】
情報処理装置が、
画像データに応じて、物体を落とした対象人物周辺の状況を示す周辺状況を検出し、
検出結果に応じて、前記物体の種類を推定する際の推定の確からしさに応じた値である推定確度を修正する
監視方法。
【請求項10】
情報処理装置に、
画像データに応じて、物体を落とした対象人物周辺の状況を示す周辺状況を検出し、
検出結果に応じて、前記物体の種類を推定する際の推定の確からしさに応じた値である推定確度を修正する
処理を実現するためのプログラム。
発明の詳細な説明
【技術分野】
【0001】
本発明は、監視装置、監視方法、プログラムに関する。
続きを表示(約 1,300 文字)
【背景技術】
【0002】
監視カメラなどを用いて取得した画像データから、ゴミ捨てなどの問題となる状態を検出することが知られている。
【0003】
例えば、特許文献1には、対象物監視システムを用いた対象物監視方法が開示されている。特許文献1によると、システムは、第一の範囲で生じる状態を撮影した状態画像から特定の状態を検出するとともに、特定の状態が検出された状態画像を用いて、監視対象の状況を解析する。また、システムは、監視対象の状況に基づいて、第二の範囲に存在する監視対象を撮影した監視対象画像を生成する。そして、システムは、監視対象画像から監視対象の特定に用いられる特徴を抽出する。
【先行技術文献】
【特許文献】
【0004】
国際公開第2014/155958号
【発明の概要】
【発明が解決しようとする課題】
【0005】
特許文献1に記載されているようなゴミ捨て状態などを単に検出するだけでなく、ごみと貴重品などとの判別を行うなど、人が落とした物体が何であるかを推定することがある。このような推定は、カメラ性能などに推定精度が依存してしまう。そのため、監視カメラなどの性能によっては推定精度を向上させることが難しかった。このように、落下物を推定する際の精度を向上させることが難しい場合がある、という課題が生じていた。
【0006】
そこで、本発明は、上述した課題を解決することが可能な監視装置、監視方法、プログラムを提供することを目的の一つとする。
【課題を解決するための手段】
【0007】
かかる目的を達成するため本開示の一形態である監視装置は、
画像データに応じて、物体を落とした対象人物周辺の状況を示す周辺状況を検出する検出部と、
前記検出部による検出結果に応じて、前記物体の種類を推定する際の推定の確からしさに応じた値である推定確度を修正する修正部と、
を有する
という構成をとる。
【0008】
また、本開示の他の形態である監視方法は、
情報処理装置が、
画像データに応じて、物体を落とした対象人物周辺の状況を示す周辺状況を検出し、
検出結果に応じて、前記物体の種類を推定する際の推定の確からしさに応じた値である推定確度を修正する
という構成をとる。
【0009】
また、本開示の他の形態であるプログラムは、
情報処理装置に、
画像データに応じて、物体を落とした対象人物周辺の状況を示す周辺状況を検出し、
検出結果に応じて、前記物体の種類を推定する際の推定の確からしさに応じた値である推定確度を修正する
処理を実現させるためのプログラムである。
【発明の効果】
【0010】
上述したような各構成によると、落下物を推定する際の精度を向上させることができる。
【図面の簡単な説明】
(【0011】以降は省略されています)
この特許をJ-PlatPat(特許庁公式サイト)で参照する
関連特許
日本電気株式会社
管理装置
3日前
日本電気株式会社
監視装置
3日前
日本電気株式会社
監視装置
3日前
日本電気株式会社
海底分岐装置
4日前
日本電気株式会社
ラインカード及びイジェクタ
1日前
日本電気株式会社
端末、端末の制御方法及びプログラム
1日前
日本電気株式会社
安否確認支援装置、方法及びプログラム
4日前
日本電気株式会社
補聴支援装置、補聴支援方法、及び、プログラム
1日前
日本電気株式会社
蓄電制御装置、蓄電制御方法、およびプログラム
1日前
日本電気株式会社
繊維状カーボンナノホーン集合体の接着分離方法
4日前
日本電気株式会社
セルロース系樹脂組成物及びこれを用いた成形体
8日前
日本電気株式会社
健康改善支援装置、健康改善支援方法及びプログラム
8日前
日本電気株式会社
情報管理装置、情報管理方法、及び、制御プログラム
4日前
日本電気株式会社
画像処理装置、点検システム、方法およびプログラム
4日前
日本電気株式会社
情報出力装置、情報出力方法および情報出力プログラム
2日前
日本電気株式会社
処理装置
4日前
日本電気株式会社
システム
4日前
日本電気株式会社
改善提案装置、改善提案方法およびコンピュータプログラム
4日前
日本電気株式会社
衣服情報管理装置、衣服情報管理装置方法、およびプログラム
3日前
日本電気株式会社
サーバ装置、システム、サーバ装置の制御方法及びプログラム
1日前
日本電気株式会社
見直し提案装置、見直し提案方法およびコンピュータプログラム
4日前
日本電気株式会社
情報処理装置、情報処理システム、情報処理方法及びプログラム
1日前
日本電気株式会社
フレーム転送装置、フレーム転送方法およびフレーム転送プログラム
4日前
日本電気株式会社
情報処理装置、情報管理システム、情報処理方法、およびプログラム
8日前
日本電気株式会社
ナノカーボン複合体、これを用いたボロメータ、およびこれらの製造方法
4日前
日本電気株式会社
コンテンツ生成装置、コンテンツ生成方法、及びコンテンツ生成プログラム
8日前
日本電気株式会社
フライトストリップ処理システム
1日前
日本電気株式会社
地図情報提供装置、地図情報提供システム、地図情報提供方法及び地図情報提供プログラム
4日前
株式会社デンソー
画像処理装置
2日前
日本電気株式会社
三次元スキャナの設置位置設定支援装置、三次元スキャナの設置位置設定支援方法、及び、三次元スキャナの設置位置設定支援プログラム
4日前
個人
監視カメラシステム
3日前
キーコム株式会社
光伝送線路
4日前
個人
スキャン式車載用撮像装置
3日前
サクサ株式会社
中継装置
9日前
サクサ株式会社
中継装置
10日前
キヤノン電子株式会社
画像読取装置
2日前
続きを見る
他の特許を見る