TOP
|
特許
|
意匠
|
商標
特許ウォッチ
Twitter
他の特許を見る
公開番号
2025143784
公報種別
公開特許公報(A)
公開日
2025-10-02
出願番号
2024043217
出願日
2024-03-19
発明の名称
食品レシピ生成システム
出願人
個人
代理人
個人
主分類
G06Q
50/10 20120101AFI20250925BHJP(計算;計数)
要約
【課題】人間、及び人間以外の特定の動物が同じ食品を食べる場合に好適な食品のレシピを生成する食品レシピ生成システムを提供する。
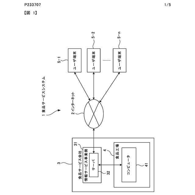
【解決手段】食品サービスシステム1は、食品のレシピを生成し、ユーザに提供する食品レシピ生成システムであって、前記食品は、人間、及び人間以外の特定の動物の両方で食用にすることが可能であり、前記レシピは、サプリメントの選択を起点とし、当該レシピにより実現する食品が前記特定の動物に必要な栄養素を全て含む様に生成され、前記食品レシピ生成システム1は、前記サプリメントをユーザに提供する。
【選択図】図1
特許請求の範囲
【請求項1】
食品のレシピを生成し、ユーザに提供する食品レシピ生成システムであって、
前記食品は、人間、及び人間以外の特定の動物の両方で食用にすることが可能であり、
前記レシピは、サプリメントの選択を起点とし、当該レシピにより実現する食品が前記特定の動物に必要な栄養素を全て含む様に生成され、
前記食品レシピ生成システムは、前記サプリメントをユーザに提供することを特徴とする食品レシピ生成システム。
続きを表示(約 360 文字)
【請求項2】
食品のレシピを生成する食品レシピ生成システムであって、
前記食品は、人間、及び人間以外の特定の動物の両方で食用にすることが可能であり、
前記レシピは、当該レシピにより実現する食品が前記特定の動物に必要な栄養素を全て含む様に生成されることを特徴とする食品レシピ生成システム。
【請求項3】
前記レシピは、前記ユーザからの前記特定の動物の情報を参考にして生成されることを特徴とする請求項2に記載の食品レシピ生成システム。
【請求項4】
前記レシピは、前記ユーザに送信され、前記ユーザからのフィードバック情報により修正された複数のオプションのレシピに変換され再度前記ユーザに送信されることを特徴とする請求項2または3に記載の食品レシピ生成システム。
発明の詳細な説明
【技術分野】
【0001】
この発明は、人間、及び人間以外の特定の動物の両方で食べることが可能な食品のレシピを生成する食品レシピ生成システムに関する。
続きを表示(約 1,200 文字)
【背景技術】
【0002】
一般的に市販されているペットフードは、含有される水含有量によっていくつかのタイプに分類できる。すなわち、水含有量が約10%以下のドライタイプ、水含有量が約20~40%のソフトドライタイプ及びセミモイストタイプ、及び、水含有量が約70%以上のウエットタイプ(例えば、缶詰類)である。この中でも、ドライタイプ、ソフトドライタイプ、セミモイストタイプのペットフードは、栄養バランスが調整しやすく、大量生産可能で、生産・流通コストも低いことから、ペットフードの主流となっている。
【0003】
このようなペットフードの一例として、特許文献1には、鹿骨スープを利用した植物性ドッグフードが記載されている。
【先行技術文献】
【特許文献】
【0004】
特開2016-42864号公報
【発明の概要】
【発明が解決しようとする課題】
【0005】
近年、人間とペットが屋内で一緒に生活する家庭が増えてきており、人間とペットが一緒に同じ食品を食べられるようにする需要が高まってきている。しかしながら従来の多くのペットフードは、人間の食品衛生基準を満たしていないものがあり、一方、人間が食べる食品は、栄養バランスや成分(例えば、塩分濃度、犬や猫に対して毒性を発揮する玉葱等)がペットに適していないものがあり、問題が多かった。
【0006】
一方、人間が生きていく上で必要とする栄養素量は、犬が生きていく上で必要とする栄養素量と大差ないのが現状で、ドッグフードをAAFCO基準で栄養素量をクリアした場合、ほぼ、栄養機能食品で求められる個々の栄養素量を満たしている。
【0007】
栄養機能食品は健康食品の1種で、「トクホ」「機能性食品」と同列視できるものである。
【0008】
愛犬の屋内飼育率が80%を超える現在、飼い主自身が安全安心して食べられるものを愛犬にも与えたいというニーズが増えてきている。そこで、人にとっては安全だが、犬にとっては有害な材料を徹底排除し、こうしたニーズを100%満たし、人も犬もでも栄養をしっかりと確保できる食生活を送ってもらいたいというのが、本発明の目指すところである。
【0009】
また、近年のペットフード市場においては、一般的な栄養ニーズに基づく製品が主流であり、これらは必ずしも高い品質基準や個別の健康要件に対応しておらず、個々のペットの具体的な健康状態や栄養要求に対応する製品は限られている。
【0010】
ペットフードの需要としては、年齢や健康状態に応じた介護食や総合栄養食の必要性が含まれる。このため、特定の健康問題を抱えるペットや特殊な食事要件を持つペットに対して適切な食品選択を行うのは、尚更難しくなっていた。
(【0011】以降は省略されています)
この特許をJ-PlatPat(特許庁公式サイト)で参照する
関連特許
個人
地球保全システム
7日前
個人
工程設計支援装置
1か月前
個人
フラワーコートA
2か月前
個人
冷凍食品輸出支援構造
1か月前
個人
為替ポイント伊達夢貯
1か月前
個人
介護情報提供システム
2か月前
個人
設計支援システム
2か月前
個人
設計支援システム
2か月前
個人
携帯情報端末装置
1か月前
個人
残土処理システム
今日
個人
表変換編集支援システム
27日前
個人
知的財産出願支援システム
1日前
個人
知財出願支援AIシステム
1か月前
個人
結婚相手紹介支援システム
1か月前
個人
行動時間管理システム
29日前
株式会社カクシン
支援装置
2か月前
個人
パスワード管理支援システム
27日前
個人
AIによる情報の売買の仲介
1か月前
株式会社アジラ
進入判定装置
1か月前
個人
海外支援型農作物活用システム
19日前
個人
食品レシピ生成システム
6日前
個人
パスポートレス入出国システム
1か月前
株式会社キーエンス
受発注システム
6日前
個人
システム及びプログラム
20日前
個人
AIキャラクター制御システム
27日前
日本精機株式会社
施工管理システム
1か月前
株式会社キーエンス
受発注システム
6日前
株式会社キーエンス
受発注システム
6日前
個人
アンケート支援システム
2か月前
大阪瓦斯株式会社
住宅設備機器
1か月前
サクサ株式会社
中継装置
2か月前
サクサ株式会社
中継装置
27日前
個人
音声・通知・再配達UX制御構造
1日前
個人
帳票自動生成型SaaSシステム
1日前
個人
社会還元・施設向け供給支援構造
27日前
個人
音声対話型帳票生成支援システム
27日前
続きを見る
他の特許を見る