TOP
|
特許
|
意匠
|
商標
特許ウォッチ
Twitter
他の特許を見る
10個以上の画像は省略されています。
公開番号
2025144533
公報種別
公開特許公報(A)
公開日
2025-10-02
出願番号
2025030806
出願日
2025-02-27
発明の名称
受発注システム
出願人
株式会社キーエンス
代理人
主分類
G06Q
30/0601 20230101AFI20250925BHJP(計算;計数)
要約
【課題】発注者から入力される図面ファイルが複数の図面ファイルである場合や、形式の異なる図面ファイルの場合であっても、製品毎に一つの発注用のレコードとして管理し、発注できる製品の受発注システムを提供する。
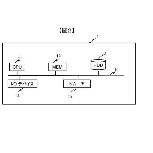
【解決手段】受発注システムにおいて、プロセッサ11は、製品の図面が描画された図面ファイルを受信するファイル受信部と、ファイル受信部が受信した図面ファイルから製品を識別する識別情報を特定する画像処理部33と、画像処理部33が特定した当該識別情報に基づいて製品毎に、当該製品のレコードを作成し、レコード毎に、ファイル受信部で受信した図面ファイルを関連付けするレコード作成部34と、レコード作成部34が作成したレコードの複数を保存可能なデータベースに格納された複数のレコードから、レコード単位で発注対象の選択を受け付ける発注受信部354と、を備える。
【選択図】図3
特許請求の範囲
【請求項1】
ユーザから製品の発注を受け付ける受発注システムであって、
製品の図面が描画された図面ファイルを受信し、画像ファイルを取得するファイル受信部と、
前記画像ファイルに基づいて、発注用のレコードを作成するレコード作成部と、
前記レコード作成部により作成された複数のレコードを保存可能なデータベースと、前記ファイル受信部により取得した前記画像ファイルとを格納する記憶部と、
前記画像ファイルから単語を読み取る画像処理部と、
複数のレコードのいずれかのレコードの指定を受け付けると、当該レコードに対応する画像ファイルから前記画像処理部により読み取られた単語が強調表示された図面領域、および、当該画像ファイルに図示された製品を識別する識別情報の入力領域を含む個別レコード編集画面を生成する問合せ処理部と、
を備え、
前記図面領域の前記単語および前記識別情報の入力領域の指定を受け付けると、前記レコード作成部は、指定された前記単語と、前記レコードの前記識別情報とを関連付ける
受発注システム。
続きを表示(約 1,600 文字)
【請求項2】
請求項1に記載の受発注システムにおいて、
前記ファイル受信部が取得する一つの画像ファイルには、複数ページが含まれており、
前記レコード作成部は、
複数ページのページ単位に、個別画像ファイルを生成すると共に、レコードを作成し、
前記問合せ処理部は、
指定されたレコードに対応した個別画像ファイルを前記個別レコード編集画面の図面領域に表示させる
受発注システム。
【請求項3】
請求項2に記載の受発注システムにおいて、
前記問合せ処理部は、前記図面領域の単語のマスク処理指定を受け付けると、当該単語にマスク処理を実行する
受発注システム。
【請求項4】
請求項3に記載の受発注システムにおいて、
前記問合せ処理部は、
マスク処理を行った単語の図面領域を含む個別レコード編集画面のマスク処理画像ファイルを生成し、
前記レコード作成部は、
前記マスク処理画像ファイルを、対応するレコードに関連付けて前記記憶部に格納し、
前記問合せ処理部は、
前記マスク処理画像ファイルを用いて、受注者端末に対して発注依頼を行う
受発注システム。
【請求項5】
請求項1に記載の受発注システムにおいて、
表示部を有し、
前記記憶部は、いずれかの入力領域と関連付けられた複数の参照単語を記憶し、
前記問合せ処理部は、
入力領域の指定を受け付けると、前記複数の参照単語のうち、当該入力領域に関連付けられた単語を選択し、選択された単語に隣接する文字列を前記表示部に強調表示するよう制御する
受発注システム。
【請求項6】
請求項1に記載の受発注システムにおいて、
前記問合せ処理部は、
製品に関するトークルームを生成し、
前記レコード作成部は、
前記レコードに対し、前記トークルームと前記記憶部に格納された画像ファイルとを関連付けて前記記憶部に格納し、
前記問合せ処理部は、
前記レコードに関連付けられたトークルームおよび画像ファイルに対応し、画像ファイルとトークルームを表示する問合せ画面を生成する
受発注システム。
【請求項7】
請求項6に記載の受発注システムにおいて、
前記問合せ処理部は、
前記個別レコード編集画面の図面領域上で単語の指定を受け付けると、当該単語にマスク処理を実行し、
前記問合せ画面には、前記マスク処理が施された前記画像ファイルを表示させる
受発注システム。
【請求項8】
請求項7に記載の受発注システムにおいて、
前記問合せ処理部は、
前記問合せ画面に表示された画像ファイルに対して、前記画像処理部により当該画像ファイルから読み取られた単語を強調表示させ、
前記問合せ画面に表示された前記画像ファイルで単語の指定を受け付けると、トークルームのメッセージ入力欄に、指定された単語を反映する
受発注システム。
【請求項9】
請求項2に記載の受発注システムにおいて、
前記画像処理部は、
前記ファイル受信部で受信した一つの図面ファイルがCADファイルの場合、CADファイルを画像ファイルに変換し、
前記レコード作成部は、
前記画像ファイルのページ毎に個別ファイルを作成し、
前記レコードごとに前記個別ファイルを関連付けする
受発注システム。
【請求項10】
請求項4に記載の受発注システムにおいて、
前記レコード作成部は、
複数レコードを統合する指示を受領すると、指示を受けた複数レコードを一つのレコードに統合する
受発注システム。
(【請求項11】以降は省略されています)
発明の詳細な説明
【技術分野】
【0001】
本発明は、製品の受発注を支援する技術に関する。
続きを表示(約 1,300 文字)
【背景技術】
【0002】
製品の発注を、紙媒体を利用してた製品の発注を行う事業者も多い。このような事業者は、通常、製品図面をFAXで送信するか、図面データを添付したメールを送信し、必要に応じて電話で確認をとるといった方法で発注を行う。FAXやメールを用いた製品の発注の場合、図面に不備や不明点があった場合に、受注者はメールや電話で発注者に対して問い合わせる必要がある。
【0003】
近年、製品の発注処理の効率を向上させるため図面ファイルを用いて、製品の見積もり、発注処理を行うシステムが開発されている。
【0004】
このような発注処理を行うシステムとして、発注情報として図面ファイルを入力して受発注を行い、発注処理後の製造工程を確認する技術が特許文献1に記載されている。特許文献1では、製品が製造される複数の製造工程を表示し、複数の製造工程の一つを選択して、質問や要望を出せる技術について記載されている。
【先行技術文献】
【特許文献】
【0005】
国際公開第2018/230693号(特許7216421号明細書)
【発明の概要】
【発明が解決しようとする課題】
【0006】
特許文献1には、製造対象の製品の仕様と数量と納期を示す発注データを受信し、製造工程の画像データを、製造工程に対応付けて表示する。また、複数の製造工程の中から対応付けられた工程に関する発注者からの要望、あるいは要望に対する返信データを、対応付けられた工程に対して表示する技術が開示されている。
【0007】
特許文献1は、図面ファイルから発注用のレコードを作成することは言及されていない。つまり、発注者の手間を省き、発注用のレコードを効率よく作成することを目的としていない。
【0008】
また、特許文献1では、図面ファイルが複数の場合について言及されていない。このことは、製品を制作する上で図面ファイルだけでは十分でない場合に、不足情報を補うためにCADファイルを追加する場合や、入力された図面ファイルが更新され、新しいバージョンの図面ファイルに更新される場合において、追加図面ファイルや更新図面ファイルを一つの発注レコードとして扱えないことを意味する。
【0009】
さらに、特許文献1では、図面ファイル名を入力することとしているが、図面ファイルの形式について、言及がなされていない。即ち、図面ファイルがPDF形式、JPEG形式、GIF形式、BMP形式であるのか、あるいはCADデータのSTEP形式、IGES形式、SAT形式等である場合の課題についても言及されていない。
【0010】
実際には、図面ファイルを入力して見積もりを取る過程において、図面ファイルにフォーマットの異なる追加図面ファイルや図面ファイルの図面や工程などについて更新された更新図面ファイルが提供されることがあり、これらは一つの製品に対する一つの発注用レコードとして管理されるべきであるが、特許文献1の技術では対応できない。
(【0011】以降は省略されています)
この特許をJ-PlatPat(特許庁公式サイト)で参照する
関連特許
株式会社キーエンス
受発注システム
1日前
株式会社キーエンス
分析装置
今日
個人
裁判のAI化
2か月前
個人
フラワーコートA
1か月前
個人
地球保全システム
2日前
個人
工程設計支援装置
1か月前
個人
介護情報提供システム
2か月前
個人
冷凍食品輸出支援構造
29日前
個人
為替ポイント伊達夢貯
29日前
個人
設計支援システム
2か月前
個人
設計支援システム
2か月前
個人
携帯情報端末装置
1か月前
個人
表変換編集支援システム
22日前
個人
知財出願支援AIシステム
29日前
個人
結婚相手紹介支援システム
1か月前
個人
行動時間管理システム
24日前
個人
AIによる情報の売買の仲介
1か月前
個人
パスワード管理支援システム
22日前
株式会社カクシン
支援装置
2か月前
株式会社キーエンス
受発注システム
1日前
個人
食品レシピ生成システム
1日前
個人
アンケート支援システム
1か月前
日本精機株式会社
施工管理システム
1か月前
株式会社アジラ
進入判定装置
1か月前
個人
パスポートレス入出国システム
1か月前
個人
システム及びプログラム
15日前
個人
AIキャラクター制御システム
22日前
個人
海外支援型農作物活用システム
14日前
株式会社キーエンス
受発注システム
1日前
株式会社キーエンス
受発注システム
1日前
サクサ株式会社
中継装置
22日前
キヤノン株式会社
表示システム
1日前
サクサ株式会社
中継装置
2か月前
個人
SaaS型勤務調整支援システム
22日前
個人
人格進化型対話応答制御システム
22日前
個人
ジェスチャーパッドのガイド部材
2か月前
続きを見る
他の特許を見る