TOP
|
特許
|
意匠
|
商標
特許ウォッチ
Twitter
他の特許を見る
公開番号
2025149544
公報種別
公開特許公報(A)
公開日
2025-10-08
出願番号
2024050263
出願日
2024-03-26
発明の名称
残土処理システム
出願人
個人
代理人
個人
主分類
G06Q
50/08 20120101AFI20251001BHJP(計算;計数)
要約
【課題】残土処理に関わる業者のマッチングに好適な残土処理システムを提供する。
【解決手段】残土処理システム1は、残土処理に関わる掘削業者と埋戻し業者とをマッチングさせる残土処理システムであって、前記掘削業者は、掘削現場において土壌を掘削する業者であり、少なくとも残土が発生する掘削の場所を登録し(ステップS5、S6)、前記埋戻し業者は、少なくとも残土を埋め戻す埋戻しの場所を登録(埋戻し業者は、アカウント登録処理において、残土を埋め戻す埋戻しの場所を登録している。)し、前記埋戻し業者または前記掘削業者は、前記掘削業者の登録した所定の採掘の場所からの残土を選択し、前記埋戻し業者または前記掘削業者により、前記掘削業者の登録した所定の採掘の場所からの残土を選択された場合に、前記掘削業者と前記埋戻し業者とのマッチングを成立させる。
【選択図】図1
特許請求の範囲
【請求項1】
残土処理に関わる掘削業者と埋戻し業者とをマッチングさせる残土処理システムであって、
前記掘削業者は、掘削現場において土壌を掘削する業者であり、少なくとも残土が発生する掘削の場所を登録し、
前記埋戻し業者は、少なくとも残土を埋め戻す埋戻しの場所を登録し、
前記埋戻し業者または前記掘削業者は、前記掘削業者の登録した所定の採掘の場所からの残土を選択し、
前記埋戻し業者または前記掘削業者により、前記掘削業者の登録した所定の採掘の場所からの残土を選択された場合に、前記掘削業者と前記埋戻し業者とのマッチングを成立させることを特徴とする残土処理システム。
続きを表示(約 1,200 文字)
【請求項2】
前記掘削業者は、前記掘削の日時を登録することを特徴とする請求項1に記載の残土処理システム。
【請求項3】
残土処理に関わる掘削業者と埋戻し業者とをマッチングさせる残土処理システムであって、
前記掘削業者は、掘削現場において土壌を掘削する業者であり、少なくとも残土が発生する掘削の場所を登録し、
前記埋戻し業者は、少なくとも残土を埋め戻す埋戻しの場所を登録し、
前記残土処理システムは、前記掘削の場所と前記埋戻し業者が登録した埋戻しの場所との距離関係、及び、前記掘削の場所と通常であれば使用する残土廃棄場の距離関係、並びに、埋戻す残土の量から当該残土処理により排出する二酸化炭素の削減量を計算することを特徴とする残土処理システム。
【請求項4】
二酸化炭素の前記削減量に基づくエコポイントの申請、取得、付与のいずれかを行う請求項3に記載の残土処理システム。
【請求項5】
二酸化炭素の前記削減量に基づいて、二酸化炭素排出権取引所への二酸化炭素排出権の申請、販売のいずれかを行う請求項3に記載の残土処理システム。
【請求項6】
残土処理に関わる掘削業者と埋戻し業者とをマッチングさせる残土処理システムであって、
前記掘削業者は、掘削現場において土壌を掘削する業者であり、少なくとも残土が発生する掘削の場所を登録し、
前記埋戻し業者は、少なくとも残土を埋め戻す埋戻しの場所を登録し、
前記残土処理システムは、前記掘削業者にチケットの販売を行い、当該チケットから手数料を取り、当該手数料を取った後のチケットの金銭の対価を前記埋戻し業者に支払い、前記残土処理における二酸化炭素の削減量を計算し、この二酸化炭素の削減量の計算に基づいて、前記掘削業者にキャッシュバックを行うことを特徴とする残土処理システム。
【請求項7】
埋戻し案件と掘削案件のマッチング度に応じて掘削案件リストが表示されることを特徴とする請求項1に記載の残土処理システム。
【請求項8】
前記マッチング度は、前記埋戻し案件のスケジュールと前記掘削案件のスケジュールの一致度、前記埋戻しの場所と前記掘削の場所の距離、及び前記掘削の場所の土質のランクのうち、少なくともいずれかによって定められることを特徴とする請求項7に記載の残土処理システム。
【請求項9】
前記掘削案件リストは、前記埋戻し業者の端末のみに表示されることを特徴とする請求項7に記載の残土処理システム。
【請求項10】
前記掘削案件が地図上に前記掘削の場所ごとに表示され、かつ前記掘削案件の表示に操作を加えると、前記掘削案件の詳細が表示されることを特徴とする請求項7に記載の残土処理システム。
発明の詳細な説明
【技術分野】
【0001】
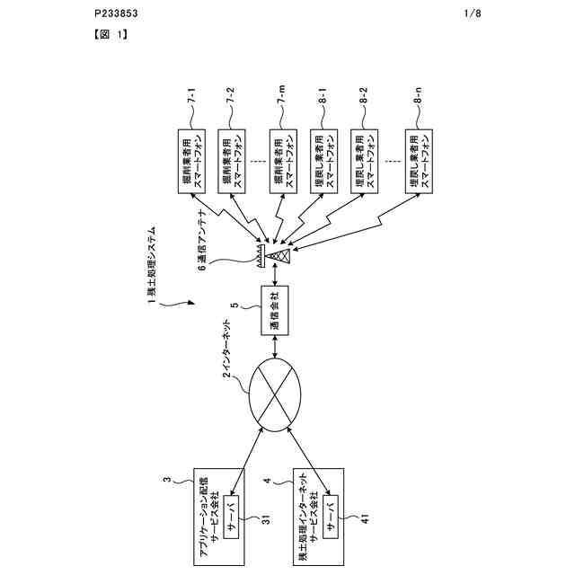
この発明は、残土処理に関わる業者のマッチングを行う残土処理システムに関する。
続きを表示(約 1,500 文字)
【背景技術】
【0002】
従来、土壌を掘削する工事現場において、パワーショベル等の重機、又は人手によって土壌を掘削し、この掘削した土壌は、現場で再利用できる土壌と、廃棄するものとに分別する(特許文献1参照)。そして、廃棄するものは埋戻し業者がトラック等で搬出する。搬出された土壌は、残土として工事現場から離れた埋戻し現場に埋め戻される。
【先行技術文献】
【特許文献】
【0003】
特開2007-239378号公報
【発明の概要】
【発明が解決しようとする課題】
【0004】
従来、工事現場において土壌の掘削により発生した残土を工事現場から離れた埋戻し現場に埋め戻す場合、掘削業者が埋戻し業者と直接契約し、掘削業者が掘削した残土を埋戻し業者がトラックで搬出し、輸送し、埋戻し現場に埋め戻すことになるが、工事現場(掘削現場)と埋戻し現場の距離がかなり離れていたり、掘削業者と埋戻し業者が希望する期限や手数料が合わなかったりする等の問題を発生していた。
【0005】
本発明は、これらの問題点に鑑み、残土処理に関わる業者のマッチングに好適な残土処理システムを提供することを目的とする。
【課題を解決するための手段】
【0006】
本発明の第1の観点における残土処理システムは、残土処理に関わる掘削業者と埋戻し業者とをマッチングさせる残土処理システムであって、前記掘削業者は、掘削現場において土壌を掘削する業者であり、少なくとも残土が発生する掘削の場所を登録し、前記埋戻し業者は、少なくとも残土を埋め戻す埋戻しの場所を登録し、前記埋戻し業者または前記掘削業者は、前記掘削業者の登録した所定の採掘の場所からの残土を選択し、前記埋戻し業者または前記掘削業者により、前記掘削業者の登録した所定の採掘の場所からの残土を選択された場合に、前記掘削業者と前記埋戻し業者とのマッチングを成立させる。
【0007】
好適には、前記掘削業者は、前記掘削の日時を登録する。
好適には、埋戻し案件と掘削案件のマッチング度に応じて掘削案件リストが表示される。
【0008】
好適には、前記マッチング度は、前記埋戻し案件のスケジュールと前記掘削案件のスケジュールの一致度、前記埋戻しの場所と前記掘削の場所の距離、及び前記掘削の場所の土質のランクのうち、少なくともいずれかによって定められることを特徴とする。
【0009】
好適には、前記掘削案件リストは、前記埋戻し業者の端末のみに表示される。
好適には、前記掘削案件が地図上に前記掘削の場所ごとに表示され、かつ前記掘削案件の表示に操作を加えると、前記掘削案件の詳細が表示される。
【0010】
本発明の第2の観点における残土処理システムは、残土処理に関わる掘削業者と埋戻し業者とをマッチングさせる残土処理システムであって、前記掘削業者は、掘削現場において土壌を掘削する業者であり、少なくとも残土が発生する掘削の場所を登録し、前記埋戻し業者は、少なくとも残土を埋め戻す埋戻しの場所を登録し、前記残土処理システムは、前記掘削の場所と前記埋戻し業者が登録した埋戻しの場所との距離関係、及び、前記掘削の場所と通常であれば使用する残土廃棄場の距離関係、並びに、埋戻す残土の量から当該残土処理により排出する二酸化炭素の削減量を計算することを特徴とする。
(【0011】以降は省略されています)
この特許をJ-PlatPat(特許庁公式サイト)で参照する
関連特許
個人
裁判のAI化
2か月前
個人
フラワーコートA
2か月前
個人
工程設計支援装置
1か月前
個人
情報処理システム
3か月前
個人
地球保全システム
8日前
個人
冷凍食品輸出支援構造
1か月前
個人
為替ポイント伊達夢貯
1か月前
個人
介護情報提供システム
2か月前
個人
表変換編集支援システム
28日前
個人
残土処理システム
1日前
個人
携帯情報端末装置
1か月前
個人
設計支援システム
2か月前
個人
設計支援システム
2か月前
個人
結婚相手紹介支援システム
1か月前
個人
知的財産出願支援システム
2日前
個人
知財出願支援AIシステム
1か月前
個人
行動時間管理システム
1か月前
個人
パスワード管理支援システム
28日前
株式会社カクシン
支援装置
2か月前
個人
AIによる情報の売買の仲介
1か月前
個人
AIキャラクター制御システム
28日前
個人
パスポートレス入出国システム
1か月前
日本精機株式会社
施工管理システム
1か月前
個人
システム及びプログラム
21日前
個人
食品レシピ生成システム
7日前
株式会社キーエンス
受発注システム
7日前
株式会社アジラ
進入判定装置
1か月前
株式会社キーエンス
受発注システム
7日前
個人
アンケート支援システム
2か月前
株式会社キーエンス
受発注システム
7日前
個人
海外支援型農作物活用システム
20日前
個人
社会還元・施設向け供給支援構造
28日前
キヤノン株式会社
表示システム
7日前
個人
音声・通知・再配達UX制御構造
2日前
個人
帳票自動生成型SaaSシステム
2日前
個人
未来型家系図構築システム
20日前
続きを見る
他の特許を見る