TOP
|
特許
|
意匠
|
商標
特許ウォッチ
Twitter
他の特許を見る
公開番号
2025150787
公報種別
公開特許公報(A)
公開日
2025-10-09
出願番号
2024051856
出願日
2024-03-27
発明の名称
距離補正装置
出願人
株式会社NIPPO
代理人
個人
主分類
E01C
19/48 20060101AFI20251002BHJP(道路,鉄道または橋りょうの建設)
要約
【課題】距離計のリセットボタン(アックボタン)の押し忘れやタイミングのずれ等のヒューマンエラーを防止し、距離計による測定距離を測点の距離に合わせる作業(アック作業)の精度が向上し、設計通りの精度の高い波形の路面を形成することができる距離補正装置を提供すること。
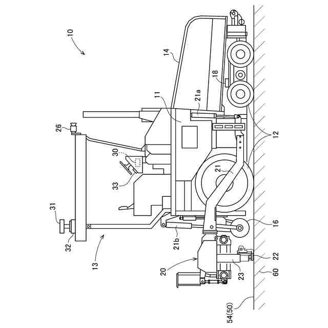
【解決手段】距離補正装置10は、施工機械11を走行させる走行機構12と、走行距離を計測する距離計18と、アスファルト混合物60を波形状の路面54に沿って敷き均す複数に分割されたスクリードプレート22と各々のスクリードプレート22を昇降させる昇降部23とを含むスクリード機構20と、測点の画像を撮影するカメラ26と、を備えている。制御部30は、カメラ26で撮影された画像から測点を割り出して距離補正装置10が測点に一致したときに距離計18による測定距離を測点Pnの距離に合わせる。
【選択図】図2
特許請求の範囲
【請求項1】
路面を施工する施工機械に使用する距離補正装置であって、
前記路面は、進行方向に沿った所定の距離毎に測点が設けられており、
本体となる施工機械と、前記施工機械に設けられ前記施工機械を走行させる走行機構と、前記走行機構に設けられ走行距離を計測する距離計と、前記施工機械に設けられ前記路面を施工する施工装置と、前記施工機械に設けられ前記測点を検知する検知手段と、前記検知手段で検知された情報から前記測点を割り出して前記距離補正装置が前記測点に一致したときに前記距離計による測定距離を前記測点の距離に合わせる制御部と、を備えていることを特徴とする距離補正装置。
続きを表示(約 990 文字)
【請求項2】
請求項1記載の距離補正装置であって、
前記距離補正装置は、波形状の路面のアスファルト混合物を敷き均すものであり、
前記施工装置は、前記施工機械に設けられ前記アスファルト混合物を波形状の前記路面に沿って敷き均す複数に分割されたスクリードプレートと各々の前記スクリードプレートを昇降させる昇降部とを含むスクリード機構であり、
前記検知手段は、前記施工機械に設けられ前記測点の画像を撮影するカメラであり、
前記制御部は、前記カメラで撮影された前記画像から前記測点を割り出して前記距離補正装置が前記測点に一致したときに前記距離計による測定距離を前記測点の距離に合わせることを特徴とする距離補正装置。
【請求項3】
請求項1記載の距離補正装置であって、
前記距離補正装置は、波形状の路面のアスファルト混合物を敷き均すものであり、
前記施工装置は、前記施工機械に設けられ前記アスファルト混合物を波形状の前記路面に沿って敷き均す複数に分割されたスクリードプレートと各々の前記スクリードプレートを昇降させる昇降部とを含むスクリード機構であり、
前記検知手段は、レーザー光を発光するレーザー発光器を備え、
前記制御部は、前記路面と前記測点が記録されたマップ情報を有し、前記路面の外に配置された基準位置となるステーションに前記レーザー光を当てることで前記距離補正装置の位置を割り出すとともに前記マップ情報の前記測点の位置と前記距離補正装置の位置が一致したときに前記距離計による測定距離を前記測点の距離に合わせることを特徴とする距離補正装置。
【請求項4】
請求項2又は請求項3記載の距離補正装置であって、
前記制御部は、前記距離計で計測した走行距離に基づいて前記スクリード機構を作動させて前記スクリードプレートの高さ調整をすることを特徴とする距離補正装置。
【請求項5】
請求項2又は請求項3記載の距離補正装置であって、
前記制御部は、前記距離計で計測した走行距離による前記測点の位置が、前記カメラ又は前記レーザー発光器を用いて割り出した前記測点の位置と一致しない場合に、前記距離補正装置のオペレータに通知装置により知らせることを特徴とする距離補正装置
発明の詳細な説明
【技術分野】
【0001】
本発明は、路面のアスファルト混合物を敷き均す距離補正装置に関するものである。
続きを表示(約 2,200 文字)
【背景技術】
【0002】
従来、特殊な波形状の路面を連続的に舗装するカントリーフィニッシャ(アスファルトフィニッシャの一種)と呼ばれる敷き均し装置が知られている。カントリーフィニッシャのスクリード装置は、車幅方向に複数に分割されたスクリードプレートが連結ピンで接続され、隣接するスクリードプレートが連結ピンを中心にして回動することで、走路に間隔を空けて設けられた測点毎に設計された波形形状に変形する。カントリーフィニッシャのスクリード装置のスクリードプレートの形状を連続的に変形させながらアスファルト混合物を舗設することで、特殊な波形の路面が形成される。このようなスクリード装置を備えたカントリーフィニッシャが知られている(特許文献1)。
【0003】
特許文献1のカントリーフィニッシャは、ホッパ装置と、送り出し装置と、敷き拡げ装置と、が備えられた走行車両と、スクリード装置を所定高さに保持するアウトリガ装置と、複数のスクリードプレート装置と、突き固め装置と、これらの各装置を保持するための主フレームと、を含んで構成されたスクリード装置と、を備えている。さらに、アウトリガ装置の高さの自動制御装置と、スクリード装置全体を下層路面進行方向に対して所定の適正角度を持たせるためのアタック角調整装置と、各スクリードプレート装置と突き固め装置を制御する制御装置と、を備えている。
【0004】
通常、カントリーフィニッシャには距離計(ロータリーエンコーダ)が備えられており、距離計で計測した距離に対応する測点における設計形状となるようにスクリードプレートの形状を変形させる。距離計で計測した距離には誤差が生じるため、カントリーフィニッシャのスクリード装置が測点を通過する度に距離計のリセットボタン(アックボタン、承認ボタン)を押して距離計による測定距離を測点の距離に合わせる作業(アック作業)を行い、計測した距離を補正する。
【0005】
しかし、特許文献1のカントリーフィニッシャに距離計を設けただけでは、リセットボタンを押して距離計による測定距離を測点の距離に合わせる作業(アック作業)をオペレータが手動で行うため、押し忘れやタイミングのずれ等のヒューマンエラーが生じるリスクがあり、設計通りに波形路面を再現することが難しい。
【先行技術文献】
【特許文献】
【0006】
特開平11-269816号公報
【発明の概要】
【発明が解決しようとする課題】
【0007】
本発明は、以上の点に鑑み、距離計のリセットボタン(アックボタン)の押し忘れやタイミングのずれ等のヒューマンエラーを防止し、距離計による測定距離を測点の距離に合わせる作業(アック作業)の精度が向上し、設計通りの精度の高い波形の路面を形成することができる距離補正装置を提供することを課題とする。
【課題を解決するための手段】
【0008】
本発明の実施例によれば、路面を施工する施工機械に使用する距離補正装置であって、
前記路面は、進行方向に沿った所定の距離毎に測点が設けられており、
本体となる施工機械と、前記施工機械に設けられ前記施工機械を走行させる走行機構と、前記走行機構に設けられ走行距離を計測する距離計と、前記施工機械に設けられ前記路面を施工する施工装置と、前記施工機械に設けられ前記測点を検知する検知手段と、前記検知手段で検知された情報から前記測点を割り出して前記距離補正装置が前記測点に一致したときに前記距離計による測定距離を前記測点の距離に合わせる制御部と、を備えていることを特徴とする。
【0009】
かかる構成によれば、距離補正装置は、本体となる施工機械と、施工機械に設けられ施工機械を走行させる走行機構と、走行機構に設けられ走行距離を計測する距離計と、施工機械に設けられ路面を施工する施工装置と、制御部と、を備えている。制御部は、施工機械に設けられ測点を検知する検知手段と、検知手段で検知された情報から測点を割り出して距離補正装置が測点に一致したときに距離計による測定距離を測点の距離に合わせるので、押し忘れやタイミングのずれ等のヒューマンエラーを防止し、距離計による測定距離を測点の距離に合わせる作業(アック作業)の精度が向上し、設計通りの精度の高い波形の路面を形成することができる。
【0010】
好ましくは、波形状の路面のアスファルト混合物を敷き均す距離補正装置であって、
前記路面は、進行方向に沿った所定の距離毎に測点が設けられており、
本体となる施工機械と、前記施工機械に設けられ前記施工機械を走行させる走行機構と、前記走行機構に設けられ走行距離を計測する距離計と、前記施工機械に設けられ前記アスファルト混合物を波形状の前記路面に沿って敷き均す複数に分割されたスクリードプレートと各々の前記スクリードプレートを昇降させる昇降部とを含むスクリード機構と、前記施工機械に設けられ前記測点の画像を撮影するカメラと、前記カメラで撮影された前記画像から前記測点を割り出して前記距離補正装置が前記測点に一致したときに前記距離計による測定距離を前記測点の距離に合わせる制御部と、を備えていることを特徴とする。
(【0011】以降は省略されています)
この特許をJ-PlatPat(特許庁公式サイト)で参照する
関連特許
株式会社NIPPO
手押し車
2日前
株式会社NIPPO
距離補正装置
3日前
株式会社NIPPO
スコップ加熱器
2日前
株式会社NIPPO
切削用制御装置
3日前
株式会社NIPPO
コンクリートフィニッシャ
3日前
株式会社NIPPO
土壌改質材及びそれを含む土壌
3日前
株式会社NIPPO
アスファルト混合物の製造方法
3日前
株式会社NIPPO
アスファルトスタッカ制御装置
4日前
株式会社熊谷組
床版
3日前
株式会社熊谷組
床版
3日前
個人
折り畳み式標識具
10日前
GX株式会社
仮設防護体
1か月前
株式会社熊谷組
床版接合構造
13日前
白出商事株式会社
縁石銘板(名板)
5日前
北越消雪機械工業株式会社
消雪装置
10日前
GX株式会社
昇降式仮設防護体
23日前
株式会社ササキコーポレーション
作業機
2日前
株式会社NIPPO
距離補正装置
3日前
株式会社NIPPO
斜面用ローラ
4日前
株式会社NIPPO
斜面用ローラ
4日前
株式会社NIPPO
切削用制御装置
3日前
前田工繊株式会社
防護柵
25日前
三信工業株式会社
床版架設装置
2日前
株式会社熊谷組
床版継手装置、及び、床版
13日前
桑名金属工業株式会社
融雪マットおよび融雪方法
2日前
東亜グラウト工業株式会社
防護柵の支柱構造
3日前
浅香工業株式会社
レーキ
20日前
中井商工株式会社
橋梁の桁端止水工法
13日前
株式会社幸和道路
自走式道路路面標示文字描画車両
1か月前
日鉄神鋼建材株式会社
補強金具、及び支柱取付構造
3日前
株式会社NIPPO
アスファルトスタッカ制御装置
4日前
株式会社NIPPO
バンク用建設機械サポータ装置
4日前
日立建機株式会社
転圧機械
3日前
日鉄建材株式会社
吊り材で支持された足場用床パネル
2日前
株式会社三共
足場用移動屋根装置及び橋梁用足場
1か月前
株式会社日本コンポジット工業
壁用構造体
2日前
続きを見る
他の特許を見る