TOP
|
特許
|
意匠
|
商標
特許ウォッチ
Twitter
他の特許を見る
公開番号
2025150809
公報種別
公開特許公報(A)
公開日
2025-10-09
出願番号
2024051910
出願日
2024-03-27
発明の名称
ミスト発生装置
出願人
TOTO株式会社
代理人
個人
,
個人
,
個人
,
個人
,
個人
,
個人
,
個人
主分類
B05B
17/06 20060101AFI20251002BHJP(霧化または噴霧一般;液体または他の流動性材料の表面への適用一般)
要約
【課題】清掃が容易で、メンテナンス性の高いミスト発生装置を提供する。
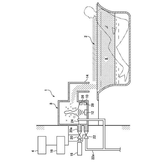
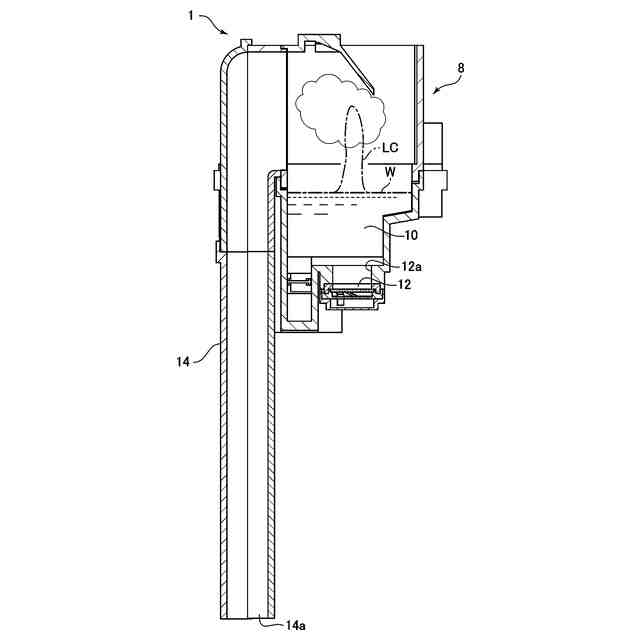
【解決手段】本発明は、水回り機器のミスト滞留空間にミストを供給するミスト発生装置(1)であって、ミスト発生装置本体(8)と、このミスト発生装置本体内に設けられ、ミストにすべき湯を貯留する貯留部(10)と、この貯留部に貯留された湯に超音波を照射して、ミストを生成する超音波振動子(12)と、この超音波振動子によって生成されたミストをミスト滞留空間に吐出させるミスト吐出部(14)と、ミスト発生装置本体外で生成された湯の、貯留部への供給、停止を制御する制御部(16)と、を有することを特徴としている。
【選択図】図2
特許請求の範囲
【請求項1】
水回り機器のミスト滞留空間にミストを供給するミスト発生装置であって、
ミスト発生装置本体と、
このミスト発生装置本体内に設けられ、ミストにすべき湯を貯留する貯留部と、
この貯留部に貯留された湯に超音波を照射して、ミストを生成する超音波振動子と、
この超音波振動子によって生成されたミストをミスト滞留空間に吐出させるミスト吐出部と、
上記ミスト発生装置本体外で生成された湯の、上記貯留部への供給、停止を制御する制御部と、
を有することを特徴とするミスト発生装置。
続きを表示(約 930 文字)
【請求項2】
上記ミスト発生装置本体は、上記ミスト発生装置本体内に外気を取り込むための外気流入口を備えている請求項1記載のミスト発生装置。
【請求項3】
上記貯留部は、上記貯留部内に貯留された湯の水位が所定の高さを超えたとき、上記貯留部内の湯を排出するオーバーフロー部を備えている請求項1記載のミスト発生装置。
【請求項4】
さらに、上記貯留部内に貯留された湯の水位を検出する水位検出部を有し、ミスト生成中において、上記水位検出部によって検出された水位が所定の下限水位と所定の上限水位の間である場合には、上記制御部は、上記貯留部内への湯の供給、停止を繰り返すことにより、上記貯留部内に貯留された湯の温度を所定の温度範囲内に維持する請求項1乃至3の何れか1項に記載のミスト発生装置。
【請求項5】
さらに、上記貯留部内に貯留された湯の水位を検出する水位検出部を有し、ミスト生成中において、上記水位検出部によって検出された水位が所定の下限水位よりも低い場合には、上記制御部は、上記貯留部内に貯留された湯の温度に関わらず、上記貯留部内へ湯を所定時間供給する請求項1乃至3の何れか1項に記載のミスト発生装置。
【請求項6】
さらに、上記貯留部内に貯留された湯の水位を検出する水位検出部を有し、ミスト生成中において、上記水位検出部によって検出された水位が所定の上限水位よりも高い場合には、上記制御部は、上記貯留部内に貯留された湯の温度に関わらず、上記貯留部内への湯の供給を所定時間停止する請求項1乃至3の何れか1項に記載のミスト発生装置。
【請求項7】
さらに、上記ミスト発生装置本体外に別体で設けられ、所定温度の湯を上記貯留部へ供給する湯生成装置を有する請求項1乃至3の何れか1項に記載のミスト発生装置。
【請求項8】
上記湯生成装置は、電気加熱によって湯を生成するように構成されている請求項7記載のミスト発生装置。
【請求項9】
上記湯生成装置は、上記湯生成装置の内部に貯留された湯を電気加熱するように構成されている請求項8記載のミスト発生装置。
発明の詳細な説明
【技術分野】
【0001】
本発明は、ミスト発生装置に関し、特に、水回り機器のミスト滞留空間にミストを供給するミスト発生装置に関する。
続きを表示(約 1,500 文字)
【背景技術】
【0002】
特開2023-50491号公報(特許文献1)には、ミスト装置、及びこれを備えた水回り機器が記載されている。このミスト装置においては、ミストにすべき水が貯水部の中に貯留され、この水を貯水部の中に配置されたヒータによって加熱して、貯水部内の湯の温度を所定の温度範囲内に維持している。そして、貯水部の中に貯留された湯に、超音波振動子によって超音波を照射することにより、適温のミストを生成している。
【先行技術文献】
【特許文献】
【0003】
特開2023-50491号公報
【発明の概要】
【発明が解決しようとする課題】
【0004】
しかしながら、特許文献1記載のミスト装置においては、貯水部内に水を加熱するためのヒータが配置されているので、メンテナンス性が悪いという問題がある。即ち、清浄なミストを生成するために、湯を貯留するための貯水部の中は定期的に清掃する必要がある。しかしながら、貯水部内にヒータが設けられていると、ヒータの裏側等に汚れが堆積したり、ヒータの陰になって清掃しにくい領域ができ、清掃性が悪くなる。また、洗剤等の薬品を使用して貯水部内を清掃する場合には、薬品によってヒータが劣化したり、損傷させたりする恐れがある。また、ミスト装置内にヒータを設けておくと、ミストの生成中に使用者がミスト装置内に手指を挿入し、加熱中のヒータに触れてしまう可能性を完全に排除することができないという問題もある。
【0005】
従って、本発明は、清掃が容易で、メンテナンス性の高いミスト発生装置を提供することを目的としている。
【課題を解決するための手段】
【0006】
上述した課題を解決するために、本発明は、水回り機器のミスト滞留空間にミストを供給するミスト発生装置であって、ミスト発生装置本体と、このミスト発生装置本体内に設けられ、ミストにすべき湯を貯留する貯留部と、この貯留部に貯留された湯に超音波を照射して、ミストを生成する超音波振動子と、この超音波振動子によって生成されたミストをミスト滞留空間に吐出させるミスト吐出部と、ミスト発生装置本体外で生成された湯の、貯留部への供給、停止を制御する制御部と、を有することを特徴としている。
【0007】
このように構成された本発明によれば、ミスト発生装置本体外で生成された湯が貯留部へ供給されるので、ミスト発生装置本体内にヒータを設ける必要がなく、貯留部内等の清掃性を向上させることができる。また、ミスト発生装置本体内にヒータを設ける必要がないため、ミストの生成中において、使用者がミスト発生装置本体内に手指を挿入して加熱中のヒータに触れてしまうリスクを確実に排除することができる。
【0008】
本発明において、好ましくは、ミスト発生装置本体は、ミスト発生装置本体内に外気を取り込むための外気流入口を備えている。
【0009】
このように構成された本発明によれば、ミスト発生装置本体が、外気を取り込むための外気流入口を備えているので、貯留部への湯の供給を停止した状態では、貯留部内の湯の温度を比較的速く低下させることができる。このため、ミスト発生装置本体外で生成された湯の貯留部への供給、停止を、制御部によって制御するだけで、貯留部内に貯留されている湯の温度を、比較的簡単に適正範囲内に維持することができる。
【0010】
本発明において、好ましくは、貯留部は、貯留部内に貯留された湯の水位が所定の高さを超えたとき、貯留部内の湯を排出するオーバーフロー部を備えている。
(【0011】以降は省略されています)
この特許をJ-PlatPat(特許庁公式サイト)で参照する
関連特許
TOTO株式会社
洗面器
12日前
TOTO株式会社
洗面器
12日前
TOTO株式会社
吐水装置
6日前
TOTO株式会社
構造部材
6日前
TOTO株式会社
構造部材
6日前
TOTO株式会社
構造部材
1日前
TOTO株式会社
吐水装置
6日前
TOTO株式会社
吐水装置
6日前
TOTO株式会社
構造部材
1日前
TOTO株式会社
水洗大便器
5日前
TOTO株式会社
トイレ装置
12日前
TOTO株式会社
水洗大便器
5日前
TOTO株式会社
水洗大便器
5日前
TOTO株式会社
水洗大便器
5日前
TOTO株式会社
トイレ装置
8日前
TOTO株式会社
静電チャック
12日前
TOTO株式会社
静電チャック
12日前
TOTO株式会社
静電チャック
16日前
TOTO株式会社
静電チャック
16日前
TOTO株式会社
水まわり部材
6日前
TOTO株式会社
水まわり部材
6日前
TOTO株式会社
静電チャック
16日前
TOTO株式会社
静電チャック
16日前
TOTO株式会社
静電チャック
16日前
TOTO株式会社
静電チャック
16日前
TOTO株式会社
浴室システム
16日前
TOTO株式会社
静電チャック
16日前
TOTO株式会社
浴室システム
16日前
TOTO株式会社
排水システム
6日前
TOTO株式会社
排水システム
6日前
TOTO株式会社
静電チャック
16日前
TOTO株式会社
水洗大便器装置
5日前
TOTO株式会社
水洗大便器装置
5日前
TOTO株式会社
水洗大便器装置
5日前
TOTO株式会社
水洗大便器装置
5日前
TOTO株式会社
水洗大便器装置
5日前
続きを見る
他の特許を見る