TOP
|
特許
|
意匠
|
商標
特許ウォッチ
Twitter
他の特許を見る
公開番号
2025154262
公報種別
公開特許公報(A)
公開日
2025-10-10
出願番号
2024057167
出願日
2024-03-29
発明の名称
水洗大便器
出願人
TOTO株式会社
代理人
個人
,
個人
,
個人
,
個人
,
個人
,
個人
,
個人
主分類
E03D
11/08 20060101AFI20251002BHJP(上水;下水)
要約
【課題】本発明は、リム吐水口から洗浄水を早期に吐水し、ボウル部を十分に洗浄することができる水洗大便器を提供することを目的としている。
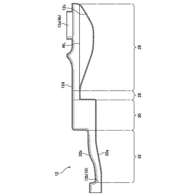
【解決手段】本発明は、汚物受け面18とリム部20を有するボウル部6と、汚物を排出するための排水トラップ管路8と、を備えた便器本体2と、便器本体2を洗浄するための洗浄水を貯水すると共に、貯水された洗浄水を便器本体2に排出するための排水口が形成された洗浄水タンク4と、リム部20に設けられボウル部6に向けて洗浄水を吐水するリム吐水口10と、洗浄水タンク4の排水口とリム吐水口10とを接続するリム導水路12と、を有し、リム導水路12には、洗浄水タンク4のリム用排水口4bの開口断面積よりも小さな流路断面積を有する絞り部28が設けられ、この絞り部28の上流側に、洗浄水が溜まる溜水部26が設けられている。
【選択図】図7
特許請求の範囲
【請求項1】
洗浄水により洗浄されて汚物を排出する水洗大便器であって、
ボウル形状の汚物受け面と、この汚物受け面の上方に形成されたリム部と、を有するボウル部と、上記ボウル部の下方に設けられ、汚物を排出するための排水トラップ管路と、を備えた便器本体と、
上記便器本体を洗浄するための洗浄水を貯水すると共に、貯水された洗浄水を上記便器本体に排出するための排水口が形成された洗浄水タンクと、
上記リム部に設けられ上記ボウル部に向けて洗浄水を吐水するリム吐水口と、
上記洗浄水タンクの排水口と上記リム吐水口とを接続するリム導水路と、
を有し、
上記リム導水路には、上記洗浄水タンクの排水口の開口断面積よりも小さな流路断面積を有する絞り部が設けられ、この絞り部の上流側に、洗浄水が溜まる溜水部が設けられていることを特徴とする水洗大便器。
続きを表示(約 730 文字)
【請求項2】
上記溜水部は、その下流側に、上記絞り部に向かって上方へ傾斜する上昇底面を有する、請求項1に記載の水洗大便器。
【請求項3】
上記溜水部は、その最下端が上記洗浄水タンクの排水口の中心よりも前方に配置されている、請求項2に記載の水洗大便器。
【請求項4】
上記溜水部は、上記洗浄水タンクの排水口の鉛直方向下方に配置されている、請求項3に記載の水洗大便器。
【請求項5】
上記溜水部は、その上流側に、下流に向かって下方へ傾斜する下降底面を有し、この下降底面が上記洗浄水タンクの排水口の鉛直方向下方に配置されている、請求項4に記載の水洗大便器。
【請求項6】
上記溜水部は、その最下端が上記排水トラップ管路よりも上方に配置されている、請求項5に記載の水洗大便器。
【請求項7】
上記リム導水路の上面は、ほぼ水平に形成されている、請求項1乃至6の何れか1項に記載の水洗大便器。
【請求項8】
上記ボウル部の下方に設けられ上記排水トラップ管路の入口に向けて洗浄水を吐水するジェット吐水口と、上記洗浄水タンクのジェット用排水口と上記ジェット吐水口とを接続するジェット導水路と、を更に有し、
上記洗浄水タンクの排水口は、上記リム導水路と接続するリム用排水口と、上記ジェット導水路と接続するジェット用排水口から構成され、
上記リム用排水口は、上記ジェット用排水口よりも前方に配置されている、請求項1に記載の水洗大便器。
【請求項9】
上記絞り部の下流端は、上記リム吐水口と直接的に接続している、請求項1に記載の水洗大便器。
発明の詳細な説明
【技術分野】
【0001】
本発明は、水洗大便器に関し、特に、洗浄水により洗浄されて汚物を排出する水洗大便器に関する。
続きを表示(約 1,400 文字)
【背景技術】
【0002】
従来から、特許文献1に記載されているように、洗浄水を貯水する洗浄水タンクと、洗浄水タンクの排水口と接続する主導水路と、この主導水路の下流端から分岐してリム吐水口と接続するリム導水路と、主導水路の下流端から分岐してジェット吐水口と接続するジェット導水路を備えた水洗大便器が知られている。このような水洗大便器は、洗浄水が洗浄水タンクから主導水路に供給されると、ジェット導水路へ流れた後に、リム導水路に流れるようになっている。このため、洗浄水がリム吐水口から吐水される前にジェット吐水口から吐水される。
【先行技術文献】
【特許文献】
【0003】
特開2015-168994号公報
【発明の概要】
【発明が解決しようとする課題】
【0004】
しかしながら、上述した特許文献1に記載された水洗大便器においては、洗浄水がリム吐水口から吐水される前にジェット吐水口から吐水されるので、リム吐水口から吐水された洗浄水によりボウル部を洗浄する時間が比較的に短くなる。このようにボウル部を洗浄する時間が短いと、ボウル部を十分に洗浄することができない可能性がある。
【0005】
そこで、本発明は、リム吐水口から洗浄水を早期に吐水し、ボウル部を十分に洗浄することができる水洗大便器を提供することを目的としている。
【課題を解決するための手段】
【0006】
上述した課題を解決するために、本発明は、洗浄水により洗浄されて汚物を排出する水洗大便器であって、ボウル形状の汚物受け面と、この汚物受け面の上方に形成されたリム部と、を有するボウル部と、ボウル部の下方に設けられ、汚物を排出するための排水トラップ管路と、を備えた便器本体と、便器本体を洗浄するための洗浄水を貯水すると共に、貯水された洗浄水を便器本体に排出するための排水口が形成された洗浄水タンクと、リム部に設けられボウル部に向けて洗浄水を吐水するリム吐水口と、洗浄水タンクの排水口とリム吐水口とを接続するリム導水路と、を有し、リム導水路には、洗浄水タンクの排水口の開口断面積よりも小さな流路断面積を有する絞り部が設けられ、この絞り部の上流側に、洗浄水が溜まる溜水部が設けられていることを特徴としている。
【0007】
このように構成された本発明によれば、リム導水路には、洗浄水タンクの排水口の開口断面積よりも小さな流路断面積を有する絞り部が設けられ、この絞り部の上流側に、洗浄水が溜まる溜水部が設けられているので、洗浄水タンクの排水口から供給された洗浄水が溜水部に溜まっている洗浄水を下流側に押し流し、絞り部により流速を上げてリム吐水口から吐水させることができる。よって、リム吐水口から洗浄水を早期に吐水し、ボウル部を十分に洗浄することができる。
【0008】
本発明において、好ましくは、溜水部は、その下流側に、絞り部に向かって上方へ傾斜する上昇底面を有する。
【0009】
このように構成された本発明によれば、溜水部は、その下流側に、絞り部に向かって上方へ傾斜する上昇底面を有するので、溜水部に溜まっている洗浄水を絞り部に向かって滑らかに押し流すことができる。
【0010】
また、本発明において、好ましくは、溜水部は、その最下端が洗浄水タンクの排水口の中心よりも前方に配置されている。
(【0011】以降は省略されています)
この特許をJ-PlatPat(特許庁公式サイト)で参照する
関連特許
TOTO株式会社
洗面器
9日前
TOTO株式会社
洗面器
9日前
TOTO株式会社
複合材料
24日前
TOTO株式会社
水栓装置
23日前
TOTO株式会社
構造部材
3日前
TOTO株式会社
吐水装置
3日前
TOTO株式会社
吐水装置
3日前
TOTO株式会社
吐水装置
3日前
TOTO株式会社
水栓装置
23日前
TOTO株式会社
水栓装置
23日前
TOTO株式会社
水栓装置
23日前
TOTO株式会社
水栓装置
23日前
TOTO株式会社
水栓装置
23日前
TOTO株式会社
水栓装置
23日前
TOTO株式会社
水栓装置
23日前
TOTO株式会社
水栓装置
23日前
TOTO株式会社
構造部材
3日前
TOTO株式会社
水洗大便器
2日前
TOTO株式会社
トイレ装置
9日前
TOTO株式会社
トイレ装置
5日前
TOTO株式会社
水洗大便器
2日前
TOTO株式会社
水洗大便器
2日前
TOTO株式会社
水洗大便器
2日前
TOTO株式会社
静電チャック
13日前
TOTO株式会社
静電チャック
13日前
TOTO株式会社
静電チャック
13日前
TOTO株式会社
静電チャック
13日前
TOTO株式会社
静電チャック
9日前
TOTO株式会社
静電チャック
9日前
TOTO株式会社
静電チャック
13日前
TOTO株式会社
静電チャック
13日前
TOTO株式会社
排水システム
3日前
TOTO株式会社
静電チャック
13日前
TOTO株式会社
浴室システム
13日前
TOTO株式会社
静電チャック
13日前
TOTO株式会社
浴室システム
17日前
続きを見る
他の特許を見る