TOP
|
特許
|
意匠
|
商標
特許ウォッチ
Twitter
他の特許を見る
公開番号
2025154263
公報種別
公開特許公報(A)
公開日
2025-10-10
出願番号
2024057168
出願日
2024-03-29
発明の名称
水洗大便器
出願人
TOTO株式会社
代理人
個人
,
個人
,
個人
,
個人
,
個人
,
個人
,
個人
主分類
E03D
11/08 20060101AFI20251002BHJP(上水;下水)
要約
【課題】本発明は、リム吐水口から吐水される洗浄水の吐水態様を安定させて、ボウル部を十分に洗浄することができる水洗大便器を提供することを目的としている。
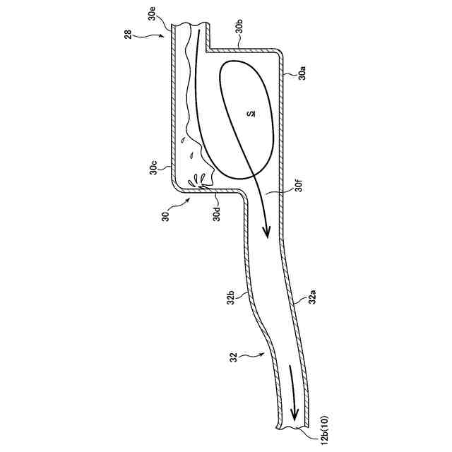
【解決手段】本発明は、汚物受け面18とリム部20を有するボウル部6と、汚物を排出するための排水トラップ管路8と、を備えた便器本体2と、貯水された洗浄水を便器本体2に排出するための排水口が形成された洗浄水タンク4と、リム部20に設けられボウル部6に向けて洗浄水を吐水するリム吐水口10と、洗浄水タンク4の排水口とリム吐水口10とを接続するリム導水路12と、を有し、リム導水路12には、流入口30e及び流出口30fを有する拡大された空間Sであって、洗浄水を攪拌させるための攪拌部30が設けられ、この攪拌部30の下流側に、流出口30fと接続し、攪拌された洗浄水を整流させるための整流部32が設けられている。
【選択図】図7
特許請求の範囲
【請求項1】
洗浄水により洗浄されて汚物を排出する水洗大便器であって、
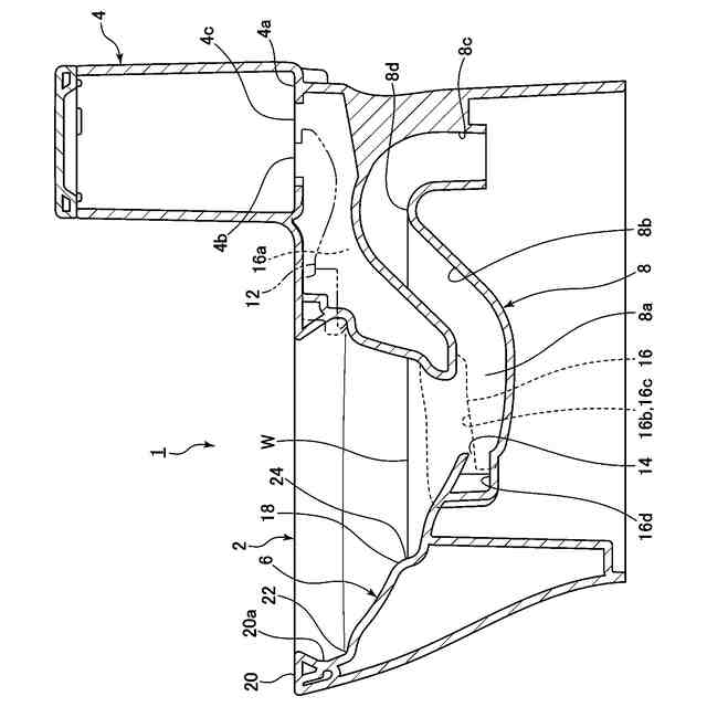
ボウル形状の汚物受け面と、この汚物受け面の上方に形成されたリム部と、を有するボウル部と、上記ボウル部の下方に設けられ、汚物を排出するための排水トラップ管路と、を備えた便器本体と、
上記便器本体を洗浄するための洗浄水を貯水すると共に、貯水された洗浄水を上記便器本体に排出するための排水口が形成された洗浄水タンクと、
上記リム部に設けられ上記ボウル部に向けて洗浄水を吐水するリム吐水口と、
上記洗浄水タンクの排水口と上記リム吐水口とを接続するリム導水路と、
を有し、
上記リム導水路には、流入口及び流出口を有する拡大された空間であって、洗浄水を攪拌させるための攪拌部が設けられ、この攪拌部の下流側に、上記流出口と接続し、攪拌された洗浄水を整流させるための整流部が設けられていることを特徴とする水洗大便器。
続きを表示(約 390 文字)
【請求項2】
上記攪拌部の流入口は、上記攪拌部の底面よりも上方に配置されている、請求項1に記載の水洗大便器。
【請求項3】
上記攪拌部の流出口は、上記流入口よりも下方に配置されている、請求項2に記載の水洗大便器。
【請求項4】
上記攪拌部内において、上記流入口の正面には、壁面が形成されている、請求項3に記載の水洗大便器。
【請求項5】
上記攪拌部の横幅は、上記流入口の横幅よりも大きくなっている、請求項4に記載の水洗大便器。
【請求項6】
上記攪拌部の底面は、上記整流部の底面とほぼ平坦な面になるように連続している、請求項1乃至5の何れか1項に記載の水洗大便器。
【請求項7】
上記リム吐水口の開口断面積は、上記リム導水路の流路断面積よりも小さくなっている、請求項1に記載の水洗大便器。
発明の詳細な説明
【技術分野】
【0001】
本発明は、水洗大便器に関し、特に、洗浄水により洗浄されて汚物を排出する水洗大便器に関する。
続きを表示(約 1,400 文字)
【背景技術】
【0002】
従来から、特許文献1に記載されているように、洗浄水を貯水する洗浄水タンクと、洗浄水タンクの排水口と接続する主導水路と、この主導水路の下流端から分岐してリム吐水口と接続するリム導水路と、主導水路の下流端から分岐してジェット吐水口と接続するジェット導水路を備えた水洗大便器が知られている。このような水洗大便器は、洗浄水が洗浄水タンクから主導水路に供給されると、ジェット導水路へ流れた後に、リム導水路に流れるようになっている。
【先行技術文献】
【特許文献】
【0003】
特開2015-168994号公報
【発明の概要】
【発明が解決しようとする課題】
【0004】
ここで、上述した特許文献1に記載された水洗大便器において、リム導水路とジェット導水路を別々に設け、洗浄水タンクからの洗浄水をリム導水路に供給し、リム吐水口から吐水させることが考えられる。この場合、リム吐水口から吐水される洗浄水の瞬間流量が大きくなるために、リム吐水口から吐水される洗浄水の吐水態様が安定せずに、ボウル部を十分に洗浄することができない可能性がある。
【0005】
そこで、本発明は、リム吐水口から吐水される洗浄水の吐水態様を安定させて、ボウル部を十分に洗浄することができる水洗大便器を提供することを目的としている。
【課題を解決するための手段】
【0006】
上述した課題を解決するために、本発明は、洗浄水により洗浄されて汚物を排出する水洗大便器であって、ボウル形状の汚物受け面と、この汚物受け面の上方に形成されたリム部と、を有するボウル部と、ボウル部の下方に設けられ、汚物を排出するための排水トラップ管路と、を備えた便器本体と、便器本体を洗浄するための洗浄水を貯水すると共に、貯水された洗浄水を便器本体に排出するための排水口が形成された洗浄水タンクと、リム部に設けられボウル部に向けて洗浄水を吐水するリム吐水口と、洗浄水タンクの排水口とリム吐水口とを接続するリム導水路と、を有し、リム導水路には、流入口及び流出口を有する拡大された空間であって、洗浄水を攪拌させるための攪拌部が設けられ、この攪拌部の下流側に、流出口と接続し、攪拌された洗浄水を整流させるための整流部が設けられていることを特徴としている。
【0007】
このように構成された本発明によれば、リム導水路には、流入口及び流出口を有する拡大された空間であって、洗浄水を攪拌させるための攪拌部が設けられ、この攪拌部の下流側に、流出口と接続し、攪拌された洗浄水を整流させるための整流部が設けられているので、洗浄水が攪拌された後に整流され、リム吐水口から吐水されるため、リム吐水口から吐水される洗浄水の吐水態様を安定させることができ、それにより、ボウル部を十分に洗浄することができる。
【0008】
本発明において、好ましくは、攪拌部の流入口は、攪拌部の底面よりも上方に配置されている。
【0009】
このように構成された本発明によれば、攪拌部の流入口は、攪拌部の底面よりも上方に配置されているので、洗浄水を攪拌部内でより攪拌することができる。
【0010】
また、本発明において、好ましくは、攪拌部の流出口は、流入口よりも下方に配置されている。
(【0011】以降は省略されています)
この特許をJ-PlatPat(特許庁公式サイト)で参照する
関連特許
TOTO株式会社
浴室
1か月前
TOTO株式会社
浴室
1か月前
TOTO株式会社
洗面器
15日前
TOTO株式会社
洗面器
15日前
TOTO株式会社
便座装置
1か月前
TOTO株式会社
水栓装置
29日前
TOTO株式会社
吐水装置
9日前
TOTO株式会社
吐水装置
9日前
TOTO株式会社
複合材料
1か月前
TOTO株式会社
水栓装置
29日前
TOTO株式会社
水栓装置
29日前
TOTO株式会社
水栓装置
29日前
TOTO株式会社
構造部材
9日前
TOTO株式会社
水栓装置
29日前
TOTO株式会社
水栓装置
29日前
TOTO株式会社
水栓装置
29日前
TOTO株式会社
水栓装置
29日前
TOTO株式会社
水栓装置
29日前
TOTO株式会社
構造部材
4日前
TOTO株式会社
構造部材
9日前
TOTO株式会社
吐水装置
9日前
TOTO株式会社
構造部材
4日前
TOTO株式会社
便器装置
1か月前
TOTO株式会社
トイレ装置
1か月前
TOTO株式会社
トイレ装置
11日前
TOTO株式会社
水洗大便器
8日前
TOTO株式会社
トイレ装置
15日前
TOTO株式会社
水洗大便器
8日前
TOTO株式会社
水洗大便器
8日前
TOTO株式会社
トイレ装置
1か月前
TOTO株式会社
水洗大便器
1か月前
TOTO株式会社
水洗大便器
1か月前
TOTO株式会社
トイレ装置
1か月前
TOTO株式会社
水洗大便器
1か月前
TOTO株式会社
水洗大便器
1か月前
TOTO株式会社
水洗大便器
8日前
続きを見る
他の特許を見る