TOP
|
特許
|
意匠
|
商標
特許ウォッチ
Twitter
他の特許を見る
公開番号
2025150739
公報種別
公開特許公報(A)
公開日
2025-10-09
出願番号
2024051788
出願日
2024-03-27
発明の名称
水まわり部材
出願人
TOTO株式会社
代理人
弁理士法人iX
主分類
C08J
5/18 20060101AFI20251002BHJP(有機高分子化合物;その製造または化学的加工;それに基づく組成物)
要約
【課題】清掃性と意匠性とを両立できる水まわり部材を提供する。
【解決手段】水まわりに配置される部材であって、表面に凹凸を有する透明層を備え、前記透明層の表面のRa値は、1.0以上4.0以下であり、前記透明層の表面のRsk値は、0.0以上1.4以下であり、前記透明層の表面のRku値は、3.0以上である、水まわり部材。
【選択図】図2
特許請求の範囲
【請求項1】
水まわりに配置される部材であって、
表面に凹凸を有する透明層を備え、
前記透明層の表面のRa値は、1.0以上4.0以下であり、
前記透明層の表面のRsk値は、0.0以上1.4以下であり、
前記透明層の表面のRku値は、3.0以上である、水まわり部材。
続きを表示(約 370 文字)
【請求項2】
前記透明層は、アクリル樹脂、ポリエチレンテレフタレート、ポリカーボネート、透明塩化ビニル、及びエポキシ樹脂の少なくともいずれかを含む、請求項1に記載の水まわり部材。
【請求項3】
前記透明層は、前記凹凸を有する表面層と、前記表面層の裏面側に位置する基部層と、を有し、
前記表面層は、樹脂を含む塗膜と、前記塗膜の内部に分散された粒子と、を含み、
前記凹凸は、前記粒子により形成される、請求項1または2に記載の水まわり部材。
【請求項4】
前記表面層の鉛筆硬度は、1H以上である、請求項3に記載の水まわり部材。
【請求項5】
前記表面層は、アニオン性官能基及び双性イオン官能基の少なくともいずれかを含む親水性化合物を含む、請求項3に記載の水まわり部材。
発明の詳細な説明
【技術分野】
【0001】
本発明の態様は、一般的に、水まわり部材に関する。
続きを表示(約 1,700 文字)
【背景技術】
【0002】
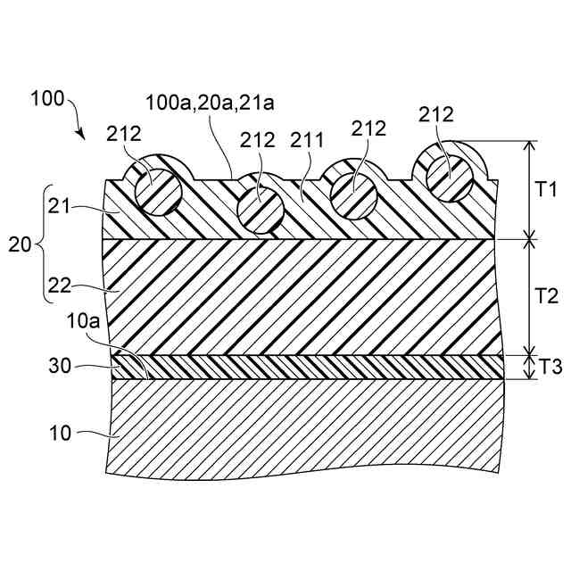
水まわり部材において、艶消しでありつつ、奥行き感があるフロスト調の外観にすることで、意匠性を向上させることができる。フロスト調の外観を達成する手段として、例えば、透明層を形成し、透明層の表面を研磨して表面に凹凸を形成する方法がある。しかし、透明層の表面を研磨すると、研磨により形成された凹凸に汚れが入り込み、清掃性が悪くなる場合がある。また、研磨において、汚れが入りこまない程度の浅い凹凸を形成すると、フロスト調の外観を得ることができなくなる場合がある。水まわり部材において、清掃性とフロスト調の外観による意匠性とを両立することが望ましい。
【先行技術文献】
【特許文献】
【0003】
特許第7082313号公報
【発明の概要】
【発明が解決しようとする課題】
【0004】
本発明の態様は、かかる課題の認識に基づいてなされたものであり、清掃性と意匠性とを両立できる水まわり部材を提供することを目的とする。
【課題を解決するための手段】
【0005】
第1の発明は、水まわりに配置される部材であって、表面に凹凸を有する透明層を備え、前記透明層の表面のRa値は、1.0以上4.0以下であり、前記透明層の表面のRsk値は、0.0以上1.4以下であり、前記透明層の表面のRku値は、3.0以上である、水まわり部材である。
【0006】
この水まわり部材によれば、透明層を設けることで、奥行き感を得ることができる。また、透明層の表面のRa値が1.0以上4.0以下であり、透明層の表面のRsk値が0.0以上1.4以下であり、透明層の表面のRku値が3.0以上であることで、フロスト調の外観に必要な艶消しのための凹凸を形成しつつ、凹凸に汚れが入り込みすぎることを抑制できるため、清掃性を向上させることができる。したがって、清掃性と意匠性とを両立できる。
【0007】
第2の発明は、第1の発明において、前記透明層は、アクリル樹脂、ポリエチレンテレフタレート、ポリカーボネート、透明塩化ビニル、ポリプロピレン、及びエポキシ樹脂の少なくともいずれかを含む、水まわり部材である。
【0008】
この水まわり部材によれば、透明層がアクリル樹脂、ポリエチレンテレフタレート、ポリカーボネート、透明塩化ビニル、ポリプロピレン、及びエポキシ樹脂の少なくともいずれかを含むことで、透明層の耐久性を高めることができる。これにより、傷や汚れが付きにくいため、長期間使用しても美しい状態を保つことができる。また、透明層がこれらの樹脂を含むことで、水や湿気にも強く、湿気による変形や腐食を抑制できる。
【0009】
第3の発明は、第1または第2の発明において、前記透明層は、前記凹凸を有する表面層と、前記表面層の裏面側に位置する基部層と、を有し、前記表面層は、樹脂を含む塗膜と、前記塗膜の内部に分散された粒子と、を含み、前記凹凸は、前記粒子により形成される水まわり部材である。
【0010】
この水まわり部材によれば、透明層が表面層と基部層とを有することで、奥行き感が得られやすく、フロスト調の外観が得られやすい。また、表面層に含まれる粒子により凹凸が形成されることで、研磨や研削により表面を粗面化処理して凹凸を形成する場合に比べて、透明層の表面(表面層の表面)に所望のRa値、Rsk値、及びRku値をもたせやすい。また、表面層に含まれる粒子により凹凸が形成されることで、研磨や研削により表面を粗面化処理して凹凸を形成する場合に比べて、安定的に均一な凹凸形状を形成することができ、歩留まりを向上させることができる。さらに、樹脂を含む塗膜と、塗膜の内部に分散された粒子と、で凹凸を形成する場合には、金型転写や、研削によって表面を粗面化処理して凹凸を形成する場合に比べて、塗膜量や分散された粒子の大きさによって、容易に凹凸形状を制御することができる。
(【0011】以降は省略されています)
この特許をJ-PlatPat(特許庁公式サイト)で参照する
関連特許
TOTO株式会社
浴室
1か月前
TOTO株式会社
浴室
1か月前
TOTO株式会社
洗面器
7日前
TOTO株式会社
洗面器
7日前
TOTO株式会社
浴室床
2か月前
TOTO株式会社
便器装置
1か月前
TOTO株式会社
便座装置
1か月前
TOTO株式会社
水栓装置
21日前
TOTO株式会社
吐水装置
1日前
TOTO株式会社
吐水装置
1日前
TOTO株式会社
吐水装置
1日前
TOTO株式会社
構造部材
1日前
TOTO株式会社
構造部材
1日前
TOTO株式会社
複合材料
22日前
TOTO株式会社
水栓装置
21日前
TOTO株式会社
水栓装置
21日前
TOTO株式会社
衛生陶器
1か月前
TOTO株式会社
衛生陶器
1か月前
TOTO株式会社
浴槽装置
2か月前
TOTO株式会社
浴槽装置
2か月前
TOTO株式会社
浴槽装置
2か月前
TOTO株式会社
水栓装置
21日前
TOTO株式会社
水栓装置
21日前
TOTO株式会社
水栓装置
21日前
TOTO株式会社
水栓装置
21日前
TOTO株式会社
水栓装置
21日前
TOTO株式会社
パッキン
2か月前
TOTO株式会社
洗い場床
2か月前
TOTO株式会社
水栓装置
21日前
TOTO株式会社
水洗大便器
1か月前
TOTO株式会社
水洗大便器
1か月前
TOTO株式会社
水洗大便器
今日
TOTO株式会社
水洗大便器
今日
TOTO株式会社
水洗大便器
1か月前
TOTO株式会社
水洗大便器
1か月前
TOTO株式会社
トイレ装置
1か月前
続きを見る
他の特許を見る