TOP
|
特許
|
意匠
|
商標
特許ウォッチ
Twitter
他の特許を見る
公開番号
2025151765
公報種別
公開特許公報(A)
公開日
2025-10-09
出願番号
2024053349
出願日
2024-03-28
発明の名称
構造部材
出願人
TOTO株式会社
代理人
個人
,
個人
,
個人
,
個人
主分類
C23C
14/08 20060101AFI20251002BHJP(金属質材料への被覆;金属質材料による材料への被覆;化学的表面処理;金属質材料の拡散処理;真空蒸着,スパッタリング,イオン注入法,または化学蒸着による被覆一般;金属質材料の防食または鉱皮の抑制一般)
要約
【課題】プラズマに対する保護膜の耐久性を長期間に亘り維持することのできる構造部材、を提供する。
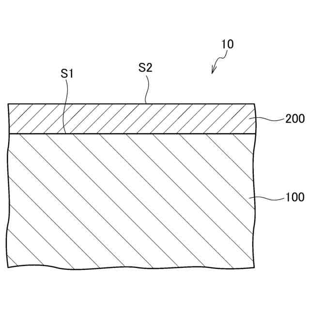
【解決手段】構造部材10は、基材100と、基材100の表面S1を覆う保護膜200と、を備える。保護膜200は酸化イットリウムを主成分として含む膜であって、保護膜200のインデンテーション硬度が10GPa以上である。
【選択図】図1
特許請求の範囲
【請求項1】
基材と、
前記基材の表面を覆う保護膜と、を備え、
前記保護膜は酸化イットリウムを主成分として含む膜であって、
前記保護膜のインデンテーション硬度が10GPa以上であることを特徴とする、構造部材。
続きを表示(約 150 文字)
【請求項2】
前記保護膜が物理蒸着法により形成された膜であることを特徴とする、請求項1に記載の構造部材。
【請求項3】
前記保護膜に含まれる酸素の量が、前記酸化イットリウムが化学量論的組成となっている場合における酸素の量、よりも少ないことを特徴とする、請求項1に記載の構造部材。
発明の詳細な説明
【技術分野】
【0001】
本発明は構造部材に関する。
続きを表示(約 1,400 文字)
【背景技術】
【0002】
基材の表面に保護膜を有する構造部材は、半導体製造装置等の様々な分野で用いられる。例えば下記特許文献1に記載されているように、半導体製造装置においては、チャンバーの内壁を構成する基材の表面に、基材をプラズマから保護するための保護膜が形成されている。このような保護膜としては、例えば、酸化イットリウム(イットリア)のような酸化物セラミックス等が用いられる。
【先行技術文献】
【特許文献】
【0003】
特開2007-321183号公報
【発明の概要】
【発明が解決しようとする課題】
【0004】
保護膜は、上記のように基材をプラズマから保護するための膜であるから、当然に、プラズマに対する十分な耐久性を有していなければならない。本発明者らが行った実験等によれば、プラズマ中のハロゲン(例えばフッ素等)に対する保護膜の反応性が低い程、当該保護膜が長期間に亘ってその性能を維持し得ることが確認されている。つまり、保護膜に求められる耐久性とは、具体的には耐ハロゲン性であるということもできる。
【0005】
保護膜を、気孔率の小さな緻密な膜として形成するほど、それに伴って保護膜の耐ハロゲン性は高くなることが本発明者らによって確認されている。また、保護膜が酸化イットリウムを主成分として含む膜である場合には、保護膜のインデンテーション硬度を8GPa程度まで高めておけば、当該保護膜の気孔率は、気孔が観察できないほどに小さくなることも確認されている。
【0006】
このため、酸化イットリウムを主成分として含む保護膜については、そのビッカース硬度は8GPa程度まで高めておけば十分であり、それ以上にビッカース硬度を高くしても、保護膜の耐ハロゲン性は向上しないものと本発明者らは推測していた。しかしながら、保護膜の機能を長期間に亘り発揮させるためには、保護膜の耐ハロゲン性を更に向上させることが望ましい。
【0007】
本発明はこのような課題に鑑みてなされたものであり、その目的は、プラズマに対する保護膜の耐久性を長期間に亘り維持することのできる構造部材、を提供することにある。
【課題を解決するための手段】
【0008】
上記課題を解決するために、本発明に係る構造部材は、基材と、基材の表面を覆う保護膜と、を備える。保護膜は酸化イットリウムを主成分として含む膜であって、保護膜のインデンテーション硬度は10GPa以上である。
【0009】
保護膜の耐ハロゲン性について本発明者らが更なる研究を進めたところ、保護膜のインデンテーション硬度を8GPa程度まで高くし、気孔が観察されない程度に保護膜の気孔率が小さくなった以降も、保護膜の耐ハロゲン性を更に向上させる余地のあることが確認された。すなわち、保護膜のインデンテーション硬度を、保護膜において気孔が観察されなくなる程度のインデンテーション硬度(つまり8GPa)よりも更に高くすると、保護膜の耐ハロゲン性は更に向上するという新たな知見が得られた。
【0010】
そこで、酸化イットリウムを主成分として含む保護膜のインデンテーション硬度を、上記のように10GPa以上まで高めておくことで、保護膜の耐久性を従来よりも長期間に亘り維持することが可能となる。
【発明の効果】
(【0011】以降は省略されています)
この特許をJ-PlatPat(特許庁公式サイト)で参照する
関連特許
TOTO株式会社
浴室
1か月前
TOTO株式会社
浴室
1か月前
TOTO株式会社
洗面器
10日前
TOTO株式会社
洗面器
10日前
TOTO株式会社
水栓装置
24日前
TOTO株式会社
水栓装置
24日前
TOTO株式会社
水栓装置
24日前
TOTO株式会社
水栓装置
24日前
TOTO株式会社
水栓装置
24日前
TOTO株式会社
水栓装置
24日前
TOTO株式会社
吐水装置
4日前
TOTO株式会社
吐水装置
4日前
TOTO株式会社
吐水装置
4日前
TOTO株式会社
構造部材
4日前
TOTO株式会社
構造部材
4日前
TOTO株式会社
水栓装置
24日前
TOTO株式会社
水栓装置
24日前
TOTO株式会社
水栓装置
24日前
TOTO株式会社
複合材料
25日前
TOTO株式会社
便器装置
1か月前
TOTO株式会社
便座装置
1か月前
TOTO株式会社
水洗大便器
1か月前
TOTO株式会社
水洗大便器
1か月前
TOTO株式会社
水洗大便器
1か月前
TOTO株式会社
水洗大便器
1か月前
TOTO株式会社
水洗大便器
3日前
TOTO株式会社
トイレ装置
1か月前
TOTO株式会社
トイレ装置
1か月前
TOTO株式会社
トイレ装置
1か月前
TOTO株式会社
水洗大便器
1か月前
TOTO株式会社
トイレ装置
10日前
TOTO株式会社
水洗大便器
3日前
TOTO株式会社
排水管継手
2か月前
TOTO株式会社
水洗大便器
3日前
TOTO株式会社
水洗大便器
3日前
TOTO株式会社
トイレ装置
6日前
続きを見る
他の特許を見る