TOP
|
特許
|
意匠
|
商標
特許ウォッチ
Twitter
他の特許を見る
公開番号
2025151112
公報種別
公開特許公報(A)
公開日
2025-10-09
出願番号
2024052366
出願日
2024-03-27
発明の名称
吐水装置
出願人
TOTO株式会社
代理人
個人
主分類
A47K
3/20 20060101AFI20251002BHJP(家具;家庭用品または家庭用設備;コーヒーひき;香辛料ひき;真空掃除機一般)
要約
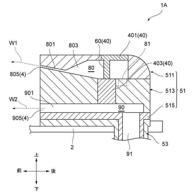
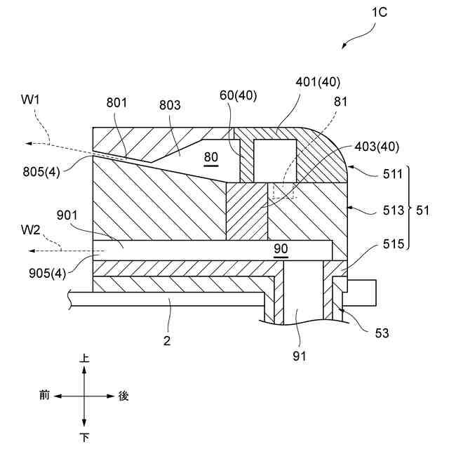
【課題】一の吐水流路だけでなく、他の吐水流路のメンテナンスを容易とする。
【解決手段】吐水装置1Aは、浴槽2に向けて水を吐水する第1吐水口805を有する第1吐水流路80の上面を形成する第1壁部511と、第1吐水流路80の下面を形成し、浴槽2に向けて水を吐水する第2吐水口905を有する第2吐水流路90の上面を形成する第2壁部513と、第1壁部511を貫通して設けられ、第1壁部511から着脱可能に構成される第1蓋部401と、第2壁部513を貫通して設けられ、第2壁部513から着脱可能に構成される第2蓋部403とを備える。
【選択図】図5
特許請求の範囲
【請求項1】
浴槽に向けて水を吐水する第1吐水口を有する第1吐水流路の上面を形成する第1壁部と、
前記第1吐水流路の下面を形成し、前記浴槽に向けて水を吐水する第2吐水口を有する第2吐水流路の上面を形成する第2壁部と、
前記第1壁部を貫通して設けられ、前記第1壁部から着脱可能に構成される第1蓋部と、
前記第2壁部を貫通して設けられ、前記第2壁部から着脱可能に構成される第2蓋部と
を備える吐水装置。
続きを表示(約 590 文字)
【請求項2】
前記第2蓋部は、前記第1吐水流路の下面の一部及び前記第2吐水流路の上面の一部を形成する、
請求項1に記載の吐水装置。
【請求項3】
前記第1蓋部の少なくとも一部は、平面視において前記第2蓋部と重なる位置に設けられる、
請求項1に記載の吐水装置。
【請求項4】
前記第2蓋部の少なくとも一部は、前記第1蓋部よりも前記第2吐水口側に設けられる、
請求項1に記載の吐水装置。
【請求項5】
平面視において前記第1蓋部の面積は、前記第2蓋部の面積よりも大きい又は前記第2蓋部の面積と同じである、
請求項1に記載の吐水装置。
【請求項6】
前記第1蓋部又は前記第2蓋部は、前記第1蓋部及び前記第2蓋部に当接して設けられる位置保持部を有する、
請求項1乃至5の何れか1項に記載の吐水装置。
【請求項7】
前記位置保持部は、流線形状である、
請求項6に記載の吐水装置。
【請求項8】
前記第2蓋部は、前記位置保持部を介して前記第1蓋部と接続されている、
請求項6に記載の吐水装置。
【請求項9】
前記第1蓋部と、前記第2蓋部と、前記位置保持部とは一体形成されている、
請求項6に記載の吐水装置。
発明の詳細な説明
【技術分野】
【0001】
本発明は、吐水装置に関する。
続きを表示(約 920 文字)
【背景技術】
【0002】
従来から、入浴者に向けて水(湯を含む)を吐水する吐水装置が知られていた。
【0003】
例えば、特許文献1には、一の吐水流路のメンテナンスのために蓋部を設けた吐水装置が提案されている。
【先行技術文献】
【特許文献】
【0004】
特開2023-134056号公報
【発明の概要】
【発明が解決しようとする課題】
【0005】
しかしながら、特許文献1に記載の技術では、一の吐水流路の他に吐水流路が設けられた場合、蓋部が設けられていない他の吐水流路のメンテナンスが容易でない。
【0006】
上記課題に鑑み、本発明は、一の吐水流路だけでなく、他の吐水流路のメンテナンスを容易とする吐水装置を提供することを目的とする。
【課題を解決するための手段】
【0007】
上記課題を解決するために、本発明の第1態様によれば、以下の吐水装置が提供される。この吐水装置は、浴槽に向けて水を吐水する第1吐水口を有する第1吐水流路の上面を形成する第1壁部と、前記第1吐水流路の下面を形成し、前記浴槽に向けて水を吐水する第2吐水口を有する第2吐水流路の上面を形成する第2壁部と、前記第1壁部を貫通して設けられ、前記第1壁部から着脱可能に構成される第1蓋部と、前記第2壁部を貫通して設けられ、前記第2壁部から着脱可能に構成される第2蓋部とを備える。
【0008】
この構成によれば、第2蓋部が設けられていない場合と比較して、第1吐水流路だけでなく、第2吐水流路のメンテナンスを容易とする。
【0009】
また、本発明の第2態様に係る吐水装置では、前記第2蓋部は、前記第1吐水流路の下面の一部及び前記第2吐水流路の上面の一部を形成する。
【0010】
この構成によれば、第2蓋部が各吐水流路の一部を形成しない場合と比較して、第2蓋部が各吐水流路内の水流を乱す凹部又は凸部を形成することを防止することができる。
(【0011】以降は省略されています)
この特許をJ-PlatPat(特許庁公式サイト)で参照する
関連特許
TOTO株式会社
浴室
1か月前
TOTO株式会社
浴室
1か月前
TOTO株式会社
洗面器
8日前
TOTO株式会社
洗面器
8日前
TOTO株式会社
水栓装置
22日前
TOTO株式会社
水栓装置
22日前
TOTO株式会社
水栓装置
22日前
TOTO株式会社
水栓装置
22日前
TOTO株式会社
水栓装置
22日前
TOTO株式会社
吐水装置
2日前
TOTO株式会社
吐水装置
2日前
TOTO株式会社
吐水装置
2日前
TOTO株式会社
構造部材
2日前
TOTO株式会社
構造部材
2日前
TOTO株式会社
水栓装置
22日前
TOTO株式会社
水栓装置
22日前
TOTO株式会社
水栓装置
22日前
TOTO株式会社
複合材料
23日前
TOTO株式会社
便器装置
1か月前
TOTO株式会社
便座装置
1か月前
TOTO株式会社
水栓装置
22日前
TOTO株式会社
水洗大便器
1か月前
TOTO株式会社
水洗大便器
1か月前
TOTO株式会社
水洗大便器
1か月前
TOTO株式会社
水洗大便器
1か月前
TOTO株式会社
トイレ装置
1か月前
TOTO株式会社
水洗大便器
1日前
TOTO株式会社
トイレ装置
1か月前
TOTO株式会社
トイレ装置
1か月前
TOTO株式会社
水洗大便器
1か月前
TOTO株式会社
トイレ装置
8日前
TOTO株式会社
水洗大便器
1日前
TOTO株式会社
水洗大便器
1日前
TOTO株式会社
水洗大便器
1日前
TOTO株式会社
トイレ装置
4日前
TOTO株式会社
静電チャック
12日前
続きを見る
他の特許を見る