TOP
|
特許
|
意匠
|
商標
特許ウォッチ
Twitter
他の特許を見る
公開番号
2025151059
公報種別
公開特許公報(A)
公開日
2025-10-09
出願番号
2024052290
出願日
2024-03-27
発明の名称
モータ及び駆動システム
出願人
株式会社安川電機
代理人
個人
,
個人
,
個人
主分類
H02K
5/04 20060101AFI20251002BHJP(電力の発電,変換,配電)
要約
【課題】センサのメンテナンスが容易なモータ及び駆動システムを提供する。
【解決手段】モータ10は、ロータ12と、モータハウジング20と、回転軸線11に沿ってロータ12からモータハウジング20外に突出して負荷2に接続される出力軸14と、モータハウジング20から離れた位置にて、出力軸14の外周に回転自在に装着されたフランジ部材50と、フランジ部材50とモータハウジング20との間の空間を回転軸線11まわりに包囲し、フランジ部材50とモータハウジング20とに着脱自在に取り付けられるカバー部材60と、上記空間に収容され、出力軸14の回転を検出するセンサ30と、を備え、カバー部材60は、フランジ部材50及びモータハウジング20から取り外された状態にて、センサ30を露出させるように、出力軸14の突出方向に向かってフランジ部材50に対しスライド可能である。
【選択図】図2
特許請求の範囲
【請求項1】
回転軸線まわりに回転するロータと、
前記ロータを収容し、前記回転軸線に沿うように保持するモータハウジングと、
前記回転軸線に沿って前記ロータから前記モータハウジング外に突出して負荷に接続される出力軸と、
前記モータハウジングから離れた位置にて、前記出力軸の外周に回転自在に装着されたフランジ部材と、
前記フランジ部材と前記モータハウジングとの間の空間を前記回転軸線まわりに包囲し、前記フランジ部材と前記モータハウジングとに着脱自在に取り付けられるカバー部材と、
前記空間に収容されるセンサと、
を備え、
前記カバー部材は、前記フランジ部材及び前記モータハウジングから取り外された状態にて、前記センサを露出させるように、前記出力軸の突出方向に向かって前記フランジ部材に対しスライド可能である、モータ。
続きを表示(約 1,000 文字)
【請求項2】
前記フランジ部材と前記モータハウジングとに取り付けられた前記カバー部材から、前記出力軸が突出する長さは、前記センサを露出させるための前記カバー部材のスライド長さよりも長い、
請求項1記載のモータ。
【請求項3】
前記カバー部材は、
前記フランジ部材の周囲から前記モータハウジングまで延びるスリーブと、
前記スリーブのうち前記モータハウジングに向かう端部から外方に広がって、前記出力軸の突出方向から前記モータハウジングに取り付けられる第1フランジと、
前記スリーブのうち前記モータハウジングから離れる方に向かう端部から内方に広がって、前記出力軸の突出方向から前記フランジ部材に取り付けられる第2フランジと、
を有する、
請求項1又は2記載のモータ。
【請求項4】
前記フランジ部材は、前記出力軸の突出方向に向かって突出した1以上のピンを有し、
前記第2フランジは、前記1以上のピンをそれぞれ通す1以上の穴を有する、
請求項3記載のモータ。
【請求項5】
前記1以上のピンのそれぞれの外周には雄ねじが形成され、
前記第2フランジは、前記雄ねじに対するナットの締め込みによって前記フランジ部材に取り付けられる、
請求項4記載のモータ。
【請求項6】
前記出力軸の突出方向とは反対方向に向かって、前記ロータから前記モータハウジング外に突出し、第2負荷に接続される第2出力軸を更に有する、
請求項1又は2記載のモータ。
【請求項7】
請求項1又は2記載のモータと、
前記負荷と、
前記出力軸の外周に装着され、前記出力軸と負荷とを連結するカップリングと、
を備え、
前記フランジ部材の外径は前記カップリングの外径よりも大きく、
前記カバー部材の内径は前記カップリングの外径よりも大きい、駆動システム。
【請求項8】
前記出力軸の突出方向において、前記フランジ部材及び前記モータハウジングに取り付けられた前記カバー部材の先端から、前記カップリングの先端までの長さは、前記センサを露出させるための前記カバー部材のスライド長さよりも長い、
請求項7記載の駆動システム。
発明の詳細な説明
【技術分野】
【0001】
本開示は、モータ及び駆動システムに関する。
続きを表示(約 1,200 文字)
【背景技術】
【0002】
特許文献1には、ロータを収容して保持するケース及びブラケットと、ブラケット内において、ロータの回転位置を検出するレゾルバと、を備えるブラシレスモータが開示されている。
【先行技術文献】
【特許文献】
【0003】
特開2004-23840号公報
【発明の概要】
【発明が解決しようとする課題】
【0004】
本開示は、センサのメンテナンスが容易なモータ及び駆動システムを提供する。
【課題を解決するための手段】
【0005】
本開示の一側面に係るモータは、回転軸線まわりに回転するロータと、ロータを収容し、回転軸線に沿うように保持するモータハウジングと、回転軸線に沿ってロータからモータハウジング外に突出して負荷に接続される出力軸と、モータハウジングから離れた位置にて、出力軸の外周に回転自在に装着されたフランジ部材と、フランジ部材とモータハウジングとの間の空間を回転軸線まわりに包囲し、フランジ部材とモータハウジングとに着脱自在に取り付けられるカバー部材と、空間に収容されるセンサと、を備え、カバー部材は、フランジ部材及びモータハウジングから取り外された状態にて、センサを露出させるように、出力軸の突出方向に向かってフランジ部材に対しスライド可能である。
【0006】
本開示の他の一側面に係る駆動システムは、上記モータと、負荷と、出力軸の外周に装着され、出力軸と負荷とを連結するカップリングと、を備え、フランジ部材の外径はカップリングの外径よりも大きく、カバー部材の内径はカップリングの外径よりも大きい。
【発明の効果】
【0007】
本開示によれば、回転センサのメンテナンスが容易なモータ及び駆動システムを提供することができる。
【図面の簡単な説明】
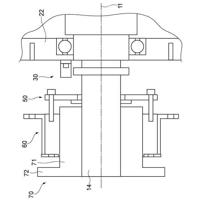
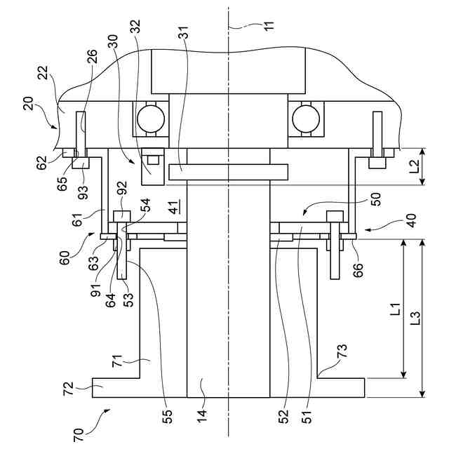
【0008】
駆動システムの構成を例示する断面図である。
図1中のセンサカバーユニットを例示する拡大図である。
図2中のカバー部材をスライドさせた状態を例示する図である。
【発明を実施するための形態】
【0009】
以下、実施形態について、図面を参照しつつ詳細に説明する。説明において、同一要素又は同一機能を有する要素には同一の符号を付し、重複する説明を省略する。
【0010】
図1に示す駆動システム1は、負荷2と、モータ10と、カップリング70と、を備える。負荷2に特に制限はなく、モータ10により回転駆動される限りいかなるものであってもよい。一例として、負荷2は、搬送対象物を乗せたバスケット又はパレットを昇降させるクレーンのウインチにおいて、昇降用のワイヤを巻き取るリールである。他の負荷2の例としては、ポンプ又はファン等の回転羽根、又は車輪等が挙げられる。
(【0011】以降は省略されています)
この特許をJ-PlatPat(特許庁公式サイト)で参照する
関連特許
株式会社安川電機
ロボット
5日前
株式会社安川電機
エンコーダ及びエンコーダシステム
19日前
個人
単極モータ
21日前
キヤノン電子株式会社
モータ
5日前
株式会社アイシン
ロータ
21日前
株式会社アイシン
ロータ
25日前
日星電気株式会社
ケーブル組立体
13日前
コーセル株式会社
電源装置
6日前
日本精機株式会社
サージ保護回路
28日前
トヨタ自動車株式会社
固定子
26日前
個人
連続ガウス加速器形磁力増幅装置
28日前
トヨタ自動車株式会社
製造装置
26日前
株式会社デンソー
回転機
19日前
株式会社ダイヘン
充電装置
25日前
株式会社ミツバ
ブラシレスモータ
27日前
カヤバ株式会社
筒型リニアモータ
27日前
株式会社ダイヘン
充電装置
25日前
東京瓦斯株式会社
通信装置
27日前
株式会社アイシン
ステータ
25日前
株式会社ダイヘン
充電装置
25日前
株式会社アイシン
ステータ
25日前
株式会社ダイヘン
充電装置
25日前
株式会社アイシン
ステータ
25日前
株式会社アイシン
ステータ
25日前
個人
太陽エネルギー収集システム
26日前
株式会社kaisei
発電システム
21日前
個人
二次電池繰返パルス放電器用印刷基板
11日前
トヨタ自動車株式会社
被膜形成装置
26日前
株式会社ミツバ
回転電機
18日前
株式会社デンソー
電力変換装置
20日前
株式会社ミツバ
回転電機
25日前
ASTI株式会社
電力変換装置
26日前
株式会社ダイヘン
電力変換装置
28日前
株式会社デンソー
電力変換装置
12日前
株式会社ダイヘン
電力システム
28日前
東京瓦斯株式会社
給電システム
27日前
続きを見る
他の特許を見る