TOP
|
特許
|
意匠
|
商標
特許ウォッチ
Twitter
他の特許を見る
公開番号
2025151328
公報種別
公開特許公報(A)
公開日
2025-10-09
出願番号
2024052690
出願日
2024-03-28
発明の名称
バッテリシステム
出願人
トヨタ自動車株式会社
代理人
弁理士法人 快友国際特許事務所
主分類
H02J
7/02 20160101AFI20251002BHJP(電力の発電,変換,配電)
要約
【課題】本明細書は、複数のバッテリと、バッテリの接続関係を切り替えるリレーを有するバッテリシステムに関し、リレーの損失も考慮した上で複数のバッテリを効率よく充電する技術を提供する。
【解決手段】バッテリシステムは、電圧コンバータと直列リレーと個別リレーを備える。直列リレーと個別リレーは、電圧コンバータに対する複数のバッテリの接続関係を切り替える。コントローラは、直列リレーを閉じて複数のバッテリを充電するときの電圧コンバータと直列リレーの損失の和である直列充電損失と、複数の個別リレーを順次に閉じて夫々のバッテリを充電するときの電圧コンバータと個別リレーの損失の和である個別充電損失を比較する。コントローラは、直列充電損失と個別充電損失の小さい方の態様で複数のバッテリを充電する。
【選択図】図1
特許請求の範囲
【請求項1】
複数のバッテリと、
入力端と出力端を有しており、前記入力端に電源が接続される電圧コンバータと、
複数の前記バッテリを前記出力端に直列に接続させる直列リレーと、
前記複数のバッテリの夫々に対応しており、夫々の前記バッテリを個別に前記出力端に接続する複数の個別リレーと、
前記直列リレーを閉じて複数の前記バッテリを充電するときの前記電圧コンバータと前記直列リレーの損失の和である直列充電損失と、前記個別リレーを順次に閉じて夫々の前記バッテリを充電するときの前記電圧コンバータと前記個別リレーの損失の和である個別充電損失を比較し、前記直列充電損失が前記個別充電損失を下回る場合は前記直列リレーを閉じて複数の前記バッテリを充電し、前記個別充電損失が前記直列充電損失を下回る場合は前記直列リレーを開き、前記個別リレーを順次に閉じつつ複数の前記バッテリを充電するコントローラと、
を備えている、バッテリシステム。
発明の詳細な説明
【技術分野】
【0001】
本明細書が開示する技術は、複数のバッテリを有するバッテリシステムに関する。
続きを表示(約 2,100 文字)
【背景技術】
【0002】
特許文献1に、複数のバッテリを有するバッテリシステムが開示されている。特許文献1のバッテリシステムでは、複数のバッテリを直列に接続して充電する直列充電と、複数のバッテリを並列に接続して充電する並列充電が選択可能である。バッテリシステムは、外部の電源の電圧を充電に適した電圧に変換する電圧コンバータを備える。直列充電と並列充電では、電圧コンバータの目標電圧比が異なる。電圧比が異なると、電圧コンバータの変換効率(入力電力と出力電力の比)が異なる。特許文献1のバッテリシステムのコントローラは、直列充電のときの電圧コンバータの変換効率と、並列充電のときの電圧コンバータの変換効率を比較し、変換効率の良い方で充電を行う。
【先行技術文献】
【特許文献】
【0003】
特許第6787271号
【発明の概要】
【発明が解決しようとする課題】
【0004】
複数のバッテリの接続状態を直列接続と並列接続に切り替えるには、いくつかのリレーが必要となる。リレーにおいても電力損失は生じ、閉じるリレーの個数によって損失の総和は異なる。特に、並列接続の場合は閉じるリレーの数が増えるため、複数のリレーに通電することに起因する損失が大きくなる。本明細書は、リレーの損失も考慮した上で、複数のバッテリを効率よく充電することのできるバッテリシステムを提供する。
【課題を解決するための手段】
【0005】
本明細書が開示するバッテリシステムは、複数のバッテリと、電圧コンバータと、直列リレーと、個別リレーと、コントローラを備える。電圧コンバータは、入力端と出力端を有しており、入力端に電源が接続される。直列リレーは、複数のバッテリを電圧コンバータの出力端に直列に接続させる。複数の個別リレーは、夫々が複数のバッテリの夫々に対応しており、夫々のバッテリを個別に出力端に接続する。コントローラは、直列リレーを閉じて複数のバッテリを充電するときの電圧コンバータと直列リレーの損失の和である直列充電損失と、複数の個別リレーを順次に閉じて夫々のバッテリを充電するときの電圧コンバータと個別リレーの損失の和である個別充電損失を比較する。コントローラは、直列充電損失が個別充電損失を下回る場合は直列リレーを閉じて複数のバッテリを充電し、個別充電損失が直列充電損失を下回る場合は個別リレーを順次に閉じつつ複数のバッテリを充電する。バッテリを個別に充電する方が、複数のバッテリを並列に接続して同時に充電する場合と比較して閉じるリレーの個数が少ないため、損失が少なくなる。本明細書が開示するバッテリシステムは、リレーの損失も考慮した上で複数のバッテリを効率よく充電することができる。
【0006】
なお、「個別リレーを順次に閉じる」とは、複数の個別リレーのうち一つだけを閉じ他の個別リレーを開く状態であって、閉じる個別リレーを時折切り替えることを意味する。バッテリシステムが2個の個別リレーを有する場合、「個別リレーを順次に閉じる」ことには、2個の個別リレーを交互に閉じる態様が含まれる。本明細書が開示する技術の詳細とさらなる改良は以下の「発明を実施するための形態」にて説明する。
【図面の簡単な説明】
【0007】
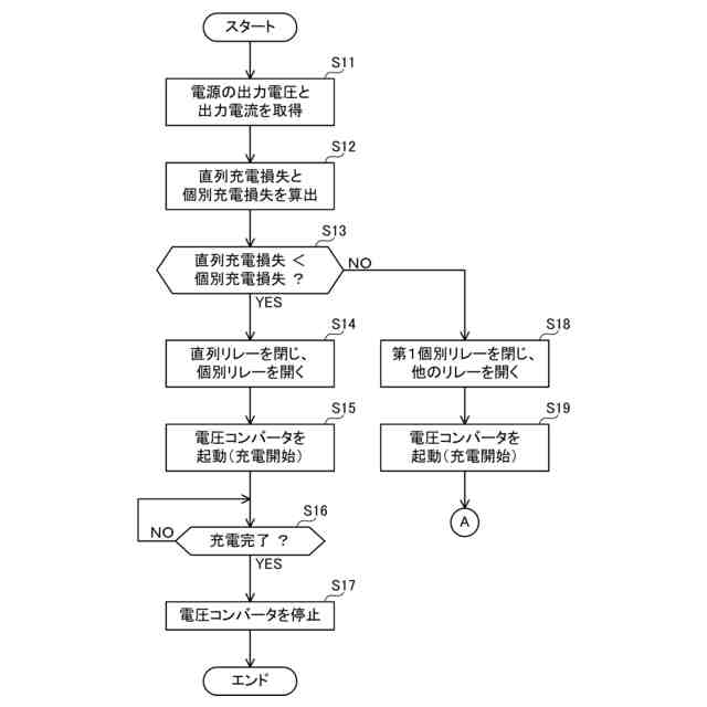
実施例のバッテリシステムのブロック図である。
コントローラが実行する充電制御のフローチャートである。
コントローラが実行する充電制御のフローチャートである(図2の続き)。
第1バッテリと第2バッテリの充電量変化のタイムチャートである。
【発明を実施するための形態】
【0008】
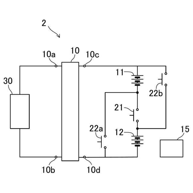
図面を参照して実施例のバッテリシステム2を説明する。図1に、バッテリシステム2のブロック図を示す。バッテリシステム2は、2個のバッテリ(第1バッテリ11と第2バッテリ12)を備えている。バッテリシステム2は、2個のバッテリから外部の電気デバイスへ電力を供給する電源として用いられる。
【0009】
バッテリシステム2は、2個のバッテリ(第1バッテリ11と第2バッテリ12)のほかに、電圧コンバータ10、コントローラ15、直列リレー21、個別リレー22(第1個別リレー22aと第2個別リレー22b)を備えている。
【0010】
バッテリシステム2は、外部の電源30で2個のバッテリ(第1バッテリ11と第2バッテリ12)を充電することができる。電圧コンバータ10が、電源30の出力電圧をバッテリの充電に適した電圧に変換する。電圧コンバータ10の入力端10a、10bにバッテリ充電用の電源30が接続される。電圧コンバータ10の出力端10c、10dに、バッテリが接続される。出力端の正極10cは第1バッテリ11の正極に接続されており、出力端の負極10dは第2バッテリ12の負極に接続されている。
(【0011】以降は省略されています)
この特許をJ-PlatPat(特許庁公式サイト)で参照する
関連特許
株式会社FUJI
制御盤
13日前
株式会社アイシン
ロータ
2日前
西部電機株式会社
充電装置
5日前
西部電機株式会社
充電装置
5日前
日本精機株式会社
サージ保護回路
5日前
トヨタ自動車株式会社
固定子
3日前
トヨタ自動車株式会社
回転子
9日前
トヨタ自動車株式会社
製造装置
3日前
ミサワホーム株式会社
居住設備
13日前
個人
連続ガウス加速器形磁力増幅装置
5日前
株式会社アイシン
ステータ
2日前
カヤバ株式会社
筒型リニアモータ
4日前
株式会社ダイヘン
充電装置
2日前
株式会社ダイヘン
充電装置
2日前
株式会社ダイヘン
充電装置
2日前
株式会社アイシン
ステータ
2日前
株式会社ダイヘン
充電装置
2日前
株式会社ミツバ
ブラシレスモータ
4日前
東京瓦斯株式会社
通信装置
4日前
株式会社アイシン
ステータ
2日前
株式会社アイシン
ステータ
2日前
個人
太陽エネルギー収集システム
3日前
株式会社リコー
拡張アンテナ装置
16日前
トヨタ自動車株式会社
被膜形成装置
3日前
日産自動車株式会社
ステータ
10日前
トヨタ自動車株式会社
ロータ
11日前
ニチコン株式会社
AC入力検出回路
9日前
ユタカ電業株式会社
ケーブルダクト
13日前
株式会社デンソー
電力変換装置
9日前
株式会社ダイヘン
電力変換装置
5日前
株式会社ミツバ
回転電機
2日前
ASTI株式会社
電力変換装置
3日前
株式会社大林組
可搬式充電設備
10日前
東京瓦斯株式会社
給電システム
4日前
株式会社ダイヘン
電力システム
5日前
NTN株式会社
モータユニット
13日前
続きを見る
他の特許を見る