TOP
|
特許
|
意匠
|
商標
特許ウォッチ
Twitter
他の特許を見る
公開番号
2025151437
公報種別
公開特許公報(A)
公開日
2025-10-09
出願番号
2024052865
出願日
2024-03-28
発明の名称
自動電圧平衡化装置および自動電圧平衡化方法
出願人
愛知電機株式会社
代理人
主分類
H02J
3/26 20060101AFI20251002BHJP(電力の発電,変換,配電)
要約
【課題】 配電線の三相不平衡電圧を改善することのできる自動電圧平衡化装置および自動電圧平衡化方法を提供する。
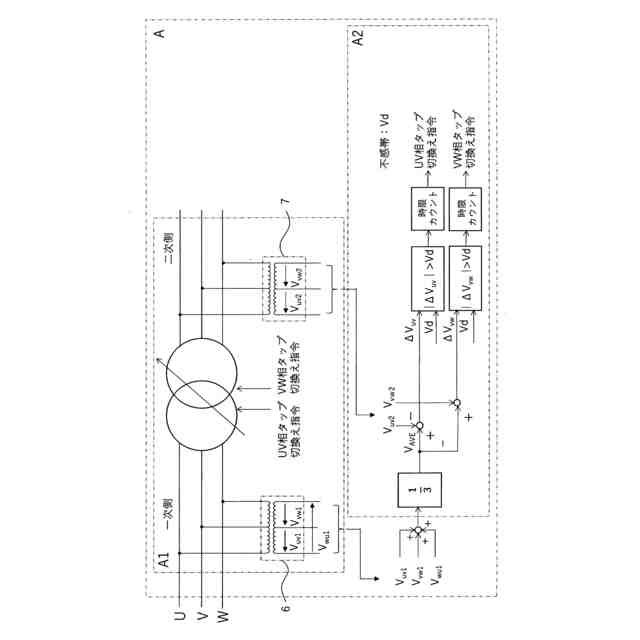
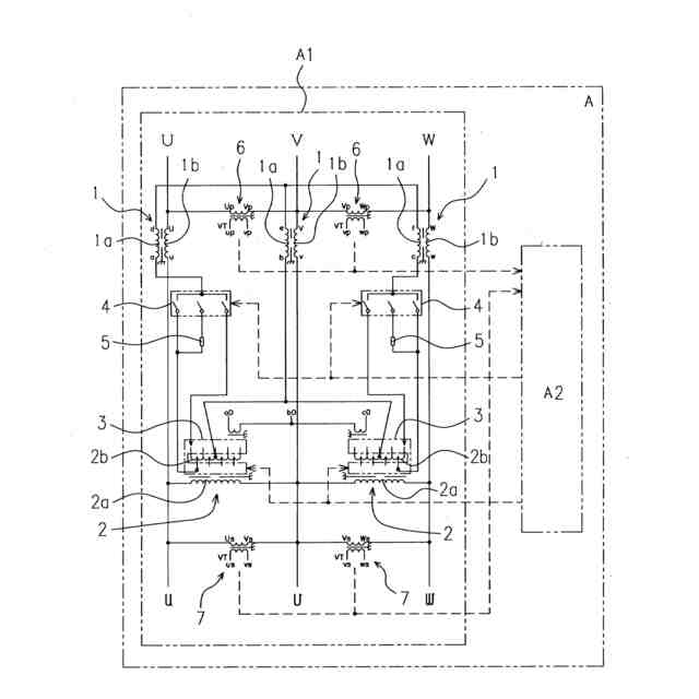
【解決手段】 変圧器部と制御部の各部で構成する。変圧器部は、配電線路の線間に挿入した電圧調整変圧器の低圧回路側と、配電線路に対し直列に挿入した直列変圧器の低圧回路側を、機械式の切換開閉器とタップ選択器で結合し、前記切換開閉器によってタップ選択器のタップを前記変圧器部を運転したまま切り換える。制御部は、変電所が一次側に接続されている場合は、変圧器部の一次電圧の平均値を計算し、各線間の二次電圧が当該平均値に近づくように電圧制御する。変電所が二次側に接続されている場合は、変圧器部の二次電圧の平均値を計算し、各線間の一次電圧が当該平均値に近づくように電圧制御する。
【選択図】 図1
特許請求の範囲
【請求項1】
三相高圧配電線に設置され、三相電圧の不平衡を改善する自動電圧平衡化装置において、変圧器部と制御部の各部で構成され、前記変圧器部は、配電線路の線間に挿入した電圧調整変圧器の低圧回路側と、配電線路に対し直列に挿入した直列変圧器の低圧回路側を、機械式の切換開閉器とタップ選択器で結合し、前記切換開閉器によって、タップ選択器のタップを当該変圧器部を運転したまま切り換え、かつ、前記制御部は、変電所の接続方向が一次側の場合、前記変圧器部の一次電圧の平均値を計算し、当該変圧器部の各線間の二次電圧を当該平均値に近づけるように電圧制御することを特徴とする自動電圧平衡化装置。
続きを表示(約 1,000 文字)
【請求項2】
三相高圧配電線に設置され、三相電圧の不平衡を改善する自動電圧平衡化装置において、変圧器部と制御部の各部で構成され、前記変圧器部は、配電線路の線間に挿入した電圧調整変圧器の低圧回路側と、配電線路に対し直列に挿入した直列変圧器の低圧回路側を、機械式の切換開閉器とタップ選択器で結合し、前記切換開閉器によって、タップ選択器のタップを当該変圧器部を運転したまま切り換え、かつ、前記制御部は、変電所の接続方向が二次側の場合、前記変圧器部の二次電圧の平均値を計算し、当該変圧器部の各線間の一次電圧を当該平均値に近づけるように電圧制御することを特徴とする自動電圧平衡化装置。
【請求項3】
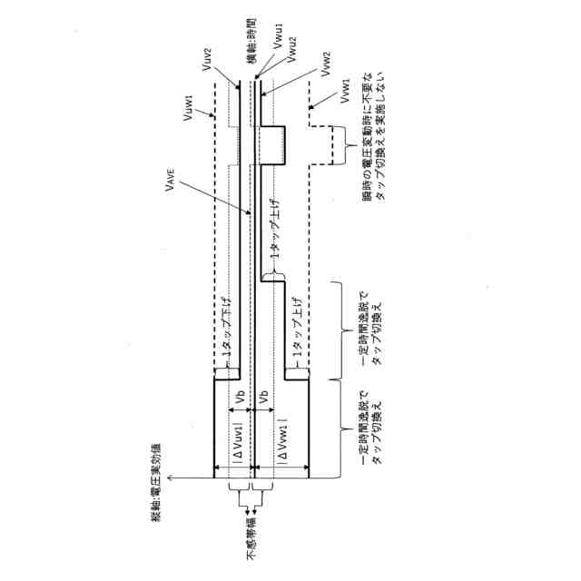
前記制御部は、前記平均値と二次電圧の差が不感帯幅を超えた場合に、前記タップ選択器のタップを切り換えるように構成したことを特徴とする請求項1記載の自動電圧平衡化装置。
【請求項4】
前記制御部は、前記平均値と一次電圧の差が不感帯幅を超えた場合に、前記タップ選択器のタップを切り換えるように構成したことを特徴とする請求項2記載の自動電圧平衡化装置。
【請求項5】
前記制御部は、前記平均値と二次電圧の差が不感帯幅を超えた時間が一定時間を超えた場合に前記タップ選択器のタップを切り換えるように構成したことを特徴とする請求項1記載の自動電圧平衡化装置。
【請求項6】
前記制御部は、前記平均値と一次電圧の差が不感帯幅を超えた時間が一定時間を超えた場合に前記タップ選択器のタップを切り換えるように構成したことを特徴とする請求項2記載の自動電圧平衡化装置。
【請求項7】
前記電圧調整変圧器をV結線とし、前記直列変圧器をY結線とすることを特徴とする請求項1乃至請求項6の何れかに記載の自動電圧平衡化装置。
【請求項8】
三相高圧配電線に設置され、三相電圧の不平衡を改善する請求項1記載の自動電圧平衡化装置において、一次電圧の平均値を計算し、各相の二次電圧を当該平均値に近づけるように電圧制御することを特徴とする自動電圧平衡化方法。
【請求項9】
三相高圧配電線に設置され、三相電圧の不平衡を改善する請求項2記載の自動電圧平衡化装置において、二次電圧の平均値を計算し、各線間の一次電圧を当該平均値に近づけるように電圧制御することを特徴とする自動電圧平衡化方法。
発明の詳細な説明
【技術分野】
【0001】
本発明は、電圧調整機能に必要な自己容量を抑え、小型化および低価格化を図ることのできる自動電圧平衡化装置および自動電圧平衡化方法に関する。
続きを表示(約 1,300 文字)
【背景技術】
【0002】
近年、変電所の送り出しから電圧の不平衡が顕著な配電線が存在することがわかってきており、電圧管理が難しくなりつつある。電圧調整機器としては、従来から、高圧配電線路の途中に設置し、負荷電流の変動に応じて自動的にタップを選択して、線路電圧の変動を調整する機器が知られている。
【0003】
例えば、単巻変圧器にタップを設け、負荷時タップ切換器でタップを切り換えることで出力電圧を一定に調整する自動電圧調整装置(SVR:Step Voltage Regulator)が知られている(下記特許文献1参照)。
【先行技術文献】
【特許文献】
【0004】
特開2011-55599
特開2017-85715
愛知電機技報No.38、平成29年3月17日発行、p.31
【発明の概要】
【発明が解決しようとする課題】
【0005】
然るに、従来のSVRは、負荷時タップ切換器が三相一括で動作する構造のため、三相一括の電圧調整しか行えず、三相不平衡電圧を是正することができなかった。
【0006】
SVR以外の電圧調整機器としては、タップの切換えにサイリスタを採用した自動電圧調整器(TVR:Thyristor type step Voltage Regulator)が知られている。近年のTVRは、三相電圧平衡調整機能付のものが存在する(上記特許文献2、非特許文献1参照)。
【0007】
三相電圧平衡調整機能付のTVRによれば、電圧不平衡の改善も可能となる。
【0008】
然るに、TVRは前述したとおり、タップ切換えにサイリスタを使用するので、半導体素子の特性上、機械式接点を用いたSVRと比較して、短絡電流耐量が小さくなる問題がある。これにより、配電線で外部短絡故障が発生した場合に、TVRを構成するサイリスタが温度上昇により故障してしまうリスクがある。
【0009】
そこで、本発明は、上記短絡電流容量が小さい問題を解消しつつ、電圧調整機能に必要な自己容量を抑えることで、装置の小型化および低価格化を実現することのできる自動電圧平衡化装置および自動電圧平衡化方法を提供することを目的とする。
【0010】
請求項1記載の発明は、三相高圧配電線に設置され、三相電圧の不平衡を改善する自動電圧平衡化装置において、変圧器部と制御部の各部で構成され、前記変圧器部は、配電線路の線間に挿入した電圧調整変圧器の低圧回路側と、配電線路に対し直列に挿入した直列変圧器の低圧回路側を、機械式の切換開閉器とタップ選択器で結合し、前記切換開閉器によって、タップ選択器のタップを当該変圧器部を運転したまま切り換え、かつ、前記制御部は、変電所の接続方向が一次側の場合、前記変圧器部の一次電圧の平均値を計算し、当該変圧器部の各線間の二次電圧を当該平均値に近づけるように電圧制御することに特徴を有する。
(【0011】以降は省略されています)
この特許をJ-PlatPat(特許庁公式サイト)で参照する
関連特許
愛知電機株式会社
装柱金具
10日前
愛知電機株式会社
巻線方法および巻線装置
1か月前
愛知電機株式会社
自動電圧平衡化装置および自動電圧平衡化方法
10日前
愛知電機株式会社
自動電圧平衡化装置および自動電圧平衡化方法
10日前
個人
単極モータ
5日前
株式会社アイシン
ロータ
9日前
株式会社アイシン
ロータ
5日前
西部電機株式会社
充電装置
12日前
日本精機株式会社
サージ保護回路
12日前
西部電機株式会社
充電装置
12日前
トヨタ自動車株式会社
固定子
10日前
トヨタ自動車株式会社
回転子
16日前
株式会社デンソー
回転機
3日前
個人
連続ガウス加速器形磁力増幅装置
12日前
トヨタ自動車株式会社
製造装置
10日前
個人
太陽エネルギー収集システム
10日前
株式会社ダイヘン
充電装置
9日前
株式会社ミツバ
ブラシレスモータ
11日前
株式会社アイシン
ステータ
9日前
株式会社ダイヘン
充電装置
9日前
東京瓦斯株式会社
通信装置
11日前
カヤバ株式会社
筒型リニアモータ
11日前
株式会社アイシン
ステータ
9日前
株式会社アイシン
ステータ
9日前
株式会社ダイヘン
充電装置
9日前
株式会社ダイヘン
充電装置
9日前
株式会社アイシン
ステータ
9日前
日産自動車株式会社
ステータ
17日前
株式会社kaisei
発電システム
5日前
ニチコン株式会社
AC入力検出回路
16日前
ユタカ電業株式会社
ケーブルダクト
20日前
トヨタ自動車株式会社
ロータ
18日前
トヨタ自動車株式会社
被膜形成装置
10日前
株式会社デンソー
電力変換装置
16日前
株式会社ダイヘン
電力システム
12日前
株式会社ダイヘン
電力変換装置
12日前
続きを見る
他の特許を見る