TOP
|
特許
|
意匠
|
商標
特許ウォッチ
Twitter
他の特許を見る
公開番号
2025151575
公報種別
公開特許公報(A)
公開日
2025-10-09
出願番号
2024053081
出願日
2024-03-28
発明の名称
情報処理装置、情報処理方法、及びプログラム
出願人
パイオニア株式会社
代理人
個人
,
個人
主分類
G01C
21/36 20060101AFI20251002BHJP(測定;試験)
要約
【課題】対話型生成モデルを用いて目的地に関する情報を精度よく検索し、検索結果をルートと共に提供できるようにする。
【解決手段】情報処理装置10は、取得部110、第1生成部120、及び第2生成部130を有している。取得部110は、目的地に関する複数の情報を含む目的地情報を取得する。第1生成部120は、目的地情報に含まれている複数の情報の一部を含む第1プロンプトを作成し、当該第1プロンプトを対話型生成モデルに入力するための処理を行い、当該対話型生成モデルから出力された第1中間情報を用いて第1出力情報を生成する。第2生成部130は、目的地情報に含まれている複数の情報の残りの少なくとも一部を用いて、目的地までの移動経路を示すルート情報を生成する。
【選択図】図2
特許請求の範囲
【請求項1】
目的地に関する複数の情報を含む目的地情報を取得する取得部と、
前記複数の情報の一部を含む第1プロンプトを作成し、当該第1プロンプトを対話型生成モデルに入力するための処理を行い、当該対話型生成モデルから出力された第1中間情報を用いて第1出力情報を生成する第1生成部と、
前記複数の情報の残りの少なくとも一部を用いて、前記目的地までの移動経路を示すルート情報を生成する第2生成部と、
を備える情報処理装置。
続きを表示(約 1,500 文字)
【請求項2】
請求項1に記載の情報処理装置において、
前記複数の情報は、前記目的地の名称、属性、及び利用目的の少なくとも一つ、並びに位置を含み、
前記第1生成部は、前記名称、前記属性、及び前記利用目的の少なくとも一つを用いて前記第1プロンプトを作成し、
前記第2生成部は、前記位置を用いて前記ルート情報を生成する、情報処理装置。
【請求項3】
請求項1又は2に記載の情報処理装置において、
前記取得部は、利用者から入力された入力情報を取得し、
前記取得部又は前記対話型生成モデルは、
当該入力情報を用いて前記目的地が特定できるか否かを判定し、
前記目的地が特定できる場合、前記入力情報を用いて特定された前記目的地に関する前記目的地情報を生成する、情報処理装置。
【請求項4】
請求項3に記載の情報処理装置において、
前記第1生成部は、前記第1プロンプトに前記入力情報の少なくとも一部を含める、情報処理装置。
【請求項5】
請求項3に記載の情報処理装置において、
前記入力情報を用いて前記目的地が特定できない場合、
前記第1生成部は、前記入力情報を用いて第2プロンプトを作成し、前記第2プロンプトを対話型生成モデルに入力し、当該対話型生成モデルから出力される第2中間情報を取得し、
前記第2中間情報を用いて、利用者に向けて出力すべき第2出力情報を生成し、当該第2出力情報を出力し、
前記取得部は、前記第2出力情報が出力された後に前記利用者から新たな前記入力情報を取得する、情報処理装置。
【請求項6】
請求項5に記載の情報処理装置において、
前記目的地情報の検索結果を示す結果情報は、前記目的地情報を記載すべき第1欄を含むフォーマットに従って生成されており、
前記第1生成部は、前記結果情報において前記第1欄が空欄であるか否かに基づいて、前記第1プロンプト及び前記第2プロンプトのいずれを生成するかを判断する、情報処理装置。
【請求項7】
請求項1又は2に記載の情報処理装置において、
前記第1生成部は、前記第1出力情報及び前記複数の情報の残りの少なくとも一部を含む統合情報を生成し、
前記第2生成部は、当該統合情報の少なくとも一部を用いて前記ルート情報を生成する、情報処理装置。
【請求項8】
コンピュータが、
目的地に関する複数の情報を含む目的地情報を取得し、
前記複数の情報の一部を含む第1プロンプトを作成し、当該第1プロンプトを対話型生成モデルに入力するための処理を行い、当該対話型生成モデルから出力された第1中間情報を用いて第1出力情報を生成し、
前記複数の情報の残りの少なくとも一部を用いて、前記目的地までの移動経路を示すルート情報を生成する、情報処理方法。
【請求項9】
コンピュータに、
目的地に関する複数の情報を含む目的地情報を取得する取得部と、
前記複数の情報の一部を含む第1プロンプトを作成し、当該第1プロンプトを対話型生成モデルに入力するための処理を行い、当該対話型生成モデルから出力された第1中間情報を用いて第1出力情報を生成する第1生成部と、
前記複数の情報の残りの少なくとも一部を用いて、前記目的地までの移動経路を示すルート情報を生成する第2生成部と、
を持たせるプログラム。
発明の詳細な説明
【技術分野】
【0001】
本発明は、情報処理装置、情報処理方法、及びプログラムに関する。
続きを表示(約 1,900 文字)
【背景技術】
【0002】
目的地までのルートを検索する際に、ルートのみではなく目的地に関する情報を提供することも検討されている。例えば特許文献1には、予め記憶されている対話シナリオデータに従ってユーザとの対話を進行させることにより、対話型の情報提供を行うことが記載されている。
【先行技術文献】
【特許文献】
【0003】
特開2003-329477号公報
【発明の概要】
【発明が解決しようとする課題】
【0004】
近年、対話型生成モデルの活用が進んでいる。ルート検索時に対話型生成モデルを用いると、様々な情報を提供できることが期待できる。一方、対話型生成モデルに入力する情報を工夫しないと、対話型生成モデルから適切な情報を得られない可能性がある。本発明の目的の一例は、対話型生成モデルを用いて目的地に関する情報を精度よく検索し、検索結果をルートと共に提供できるようにすることにある。
【課題を解決するための手段】
【0005】
請求項1に記載の発明は、
目的地に関する複数の情報を含む目的地情報を取得する取得部と、
前記複数の情報の一部を含む第1プロンプトを作成し、当該第1プロンプトを対話型生成モデルに入力するための処理を行い、当該対話型生成モデルから出力された第1中間情報を用いて第1出力情報を生成する第1生成部と、
前記複数の情報の残りの少なくとも一部を用いて、前記目的地までの移動経路を示すルート情報を生成する第2生成部と、
を備える情報処理装置である。
【0006】
請求項8に記載の発明は、コンピュータが、
目的地に関する複数の情報を含む目的地情報を取得し、
前記複数の情報の一部を含む第1プロンプトを作成し、当該第1プロンプトを対話型生成モデルに入力するための処理を行い、当該対話型生成モデルから出力された第1中間情報を用いて第1出力情報を生成し、
前記複数の情報の残りの少なくとも一部を用いて、前記目的地までの移動経路を示すルート情報を生成する、情報処理方法である。
【0007】
請求項9に記載の発明は、コンピュータに、
目的地に関する複数の情報を含む目的地情報を取得する取得部と、
前記複数の情報の一部を含む第1プロンプトを作成し、当該第1プロンプトを対話型生成モデルに入力するための処理を行い、当該対話型生成モデルから出力された第1中間情報を用いて第1出力情報を生成する第1生成部と、
前記複数の情報の残りの少なくとも一部を用いて、前記目的地までの移動経路を示すルート情報を生成する第2生成部と、
を持たせるプログラムである。
【図面の簡単な説明】
【0008】
実施形態に係る情報処理装置の使用環境の一例を説明するための図である。
情報処理装置の機能構成の一例を示す図である。
情報処理装置のハードウェア構成例を示す図である。
情報処理装置が行う処理の一例を示すフローチャートである。
取得部の機能の一例を説明するための図である。
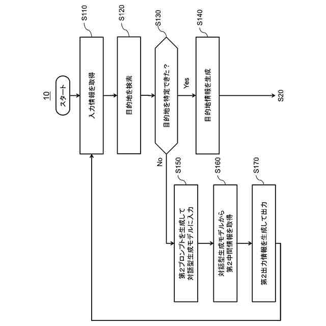
情報処理装置が行う処理の一例を示すフローチャートである。
ステップS120において目的地特定部が目的地を特定できる場合の、各情報の一例を示す図である。
ステップS120において目的地特定部が目的地を特定できる場合の、各情報の一例を示す図である。
【発明を実施するための形態】
【0009】
以下、本発明の実施の形態について、図面を用いて説明する。尚、すべての図面において、同様な構成要素には同様の符号を付し、適宜説明を省略する。
【0010】
図1は、実施形態に係る情報処理装置10の使用環境の一例を説明するための図である。情報処理装置10は、対話型生成装置20及び通信装置30と共に使用され、利用者が目的地及びそこまでのルートを検索する際に用いられる。対話型生成装置20は、対話型生成モデルを有しており、この対話型生成モデルを用いて情報を生成して出力する。通信装置30は、例えばスマートフォンやタブレット型端末などの携帯型の装置であり、情報処理装置10の利用者によって操作される。情報処理装置10は、対話型生成装置20及び通信装置30と、例えばインターネットなどの通信回線網を介して通信する。
(【0011】以降は省略されています)
この特許をJ-PlatPat(特許庁公式サイト)で参照する
関連特許
個人
計量スプーン
1か月前
個人
メジャー文具
6日前
日本精機株式会社
位置検出装置
12日前
日本精機株式会社
位置検出装置
12日前
ユニパルス株式会社
ロードセル
5日前
日本精機株式会社
位置検出装置
12日前
大和製衡株式会社
組合せ秤
17日前
大和製衡株式会社
組合せ秤
17日前
アズビル株式会社
圧力センサ
11日前
株式会社ヨコオ
ソケット
5日前
エイブリック株式会社
磁気センサ回路
11日前
株式会社ユーシン
操作検出装置
14日前
トヨタ自動車株式会社
監視装置
4日前
株式会社東芝
センサ
17日前
株式会社チノー
放射光測温装置
5日前
トヨタ自動車株式会社
検査装置
14日前
株式会社ヨコオ
ソケット
4日前
株式会社東芝
センサ
17日前
ダイキン工業株式会社
監視装置
3日前
トヨタ自動車株式会社
表示装置
26日前
TDK株式会社
ガスセンサ
5日前
TDK株式会社
磁気センサ
1か月前
個人
粘塑性を用いた有限要素法の定式化
26日前
TDK株式会社
ガスセンサ
10日前
TDK株式会社
ガスセンサ
11日前
東レエンジニアリング株式会社
計量装置
14日前
株式会社東芝
重量測定装置
10日前
TDK株式会社
磁気センサ
4日前
株式会社ナリス化粧品
角層細胞採取用具
24日前
日本特殊陶業株式会社
センサ
3日前
日本特殊陶業株式会社
センサ
3日前
日本特殊陶業株式会社
センサ
3日前
日本特殊陶業株式会社
センサ
3日前
三菱マテリアル株式会社
温度センサ
24日前
ダイハツ工業株式会社
移動支援装置
4日前
日本特殊陶業株式会社
センサ
3日前
続きを見る
他の特許を見る